Запчасти Case TF300B (09-26) - CRUMBER BOOM AND ATTACHMENTS (09) - CHASSIS/ATTACHMENTS

Схема запчастей Case TF300B - (09-26) - CRUMBER BOOM AND ATTACHMENTS (09) - CHASSIS/ATTACHMENTS
13
3
9
5
16
4
6
3
11
8
17
14
7
12
1
4
2
15
10
FIT
1:1
100%

Артикул

Название

Примечание

Количество

Models With 40 And 45 Inch Boom

1шт.

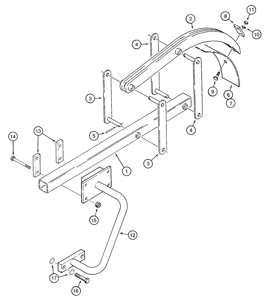
1

H659177

TUBE

1шт.

2

H659201

SUPPORT

1шт.

3

H659144

LINK

Short

2шт.

4

H659151

LINK

Long

2шт.

5

432-1220

COTTER PIN,3/16" x 1 1/4"

4шт.

6

H127480

BLADE

6 in wide

1шт.

7

H60103

BLADE

10 in wide

1шт.

8

H309450

SPACER

1шт.

9

411-864

CARRIAGE BOLT,Sq Nk, 1/2" - 13 x 4", Gr 2

1/2 x 4; 2

2шт.

10

495-11053

WASHER,1/2", SAE

(17/32" x 1-1/16" x 3/32")

2шт.

11

230-4218

LOCK NUT,1/2"-13, GA

2шт.

12

H607986

ARM

Grab Handle

1шт.

13

H309450

SPACER

2шт.

14

413-868

BOLT,Hex, 1/2" - 13 x 4-1/4", Gr 5

1/2 x 4-1/4

4шт.

15

230-4218

LOCK NUT,1/2"-13, GA

4шт.

16

413-1244

BOLT,Hex, 3/4" - 10 x 2-3/4", Gr 5

3/4 x 2-3/4

2шт.

17

493-41078

LOCK WASHER,Ext Tooth, 3/4"

3/4

4шт.

Выбрано товаров: 18