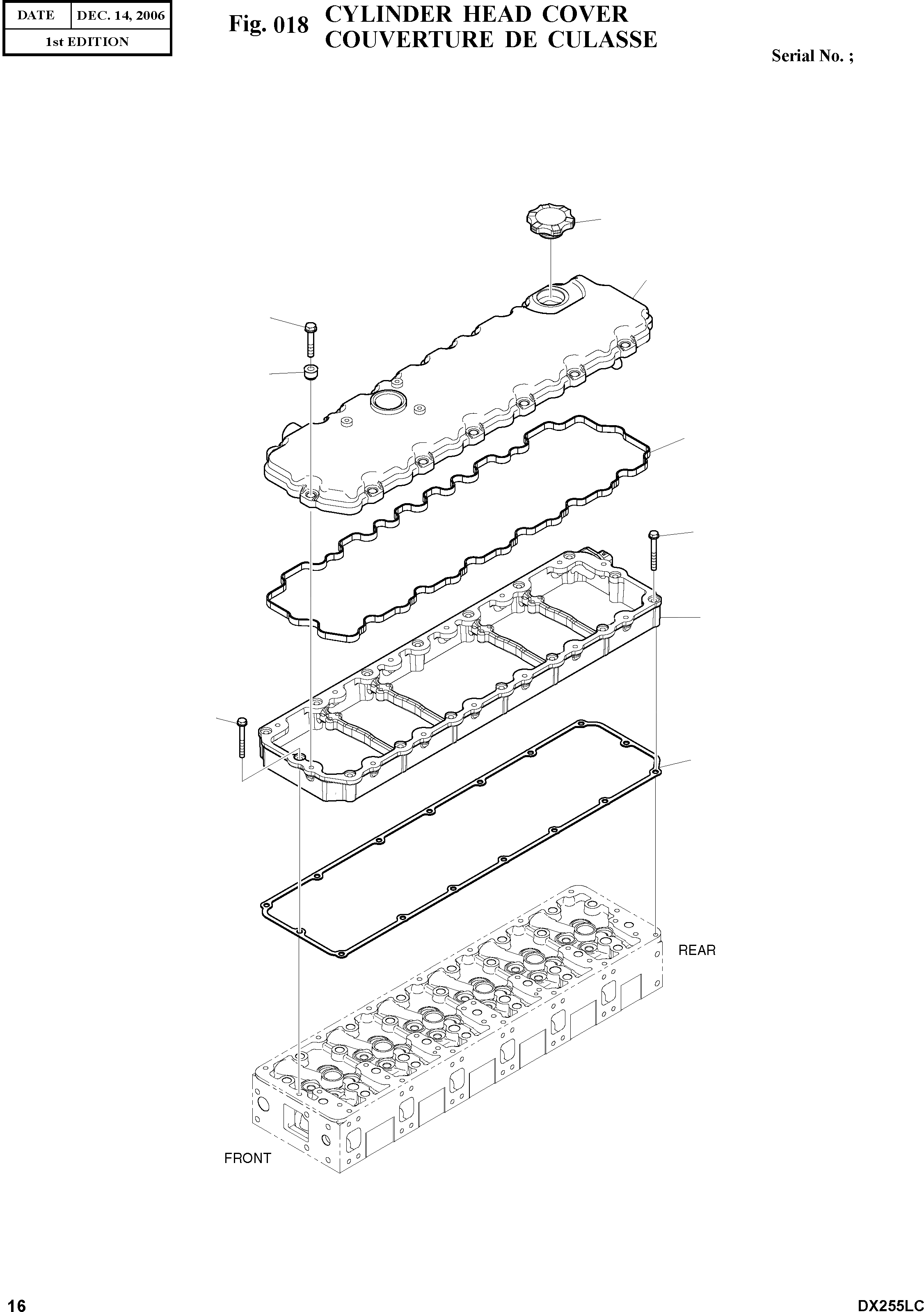
Запчасти Doosan Daewoo CYLINDER HEAD COVER ENGINE PARTS

8
2
4
3
7
5
7
6
1
FIT
1:1
100%

Артикул

Название

Примечание

Количество

1

65.03401-5010

COVER;CYLINDER HEAD

desc: COUVRE-CULASSE

1шт.

2

65.90020-0109

BOLT;COLLARED HEX

desc: BOULON A 6 PANS

14шт.

3

65.03905-0037A

GASKET;CYL. HEAD COVER

desc: JOINT

1шт.

4

65.03905-5002

PACKING;CYL. HEAD COVER

desc: JOINT

14шт.

5

65.03402-0008A

COVER;INTERMEDIATE

desc: COUVERCLE

1шт.

6

65.03905-0041

GASKET;CYL. HEAD COVER

desc: JOINT

1шт.

7

65.90020-0138

BOLT;COLLARED HEX

desc: BOULON A 6 PANS

16шт.

8

65.01810-5011

CAP;OIL FILLER

desc: VIBREUR

1шт.

Выбрано товаров: 0