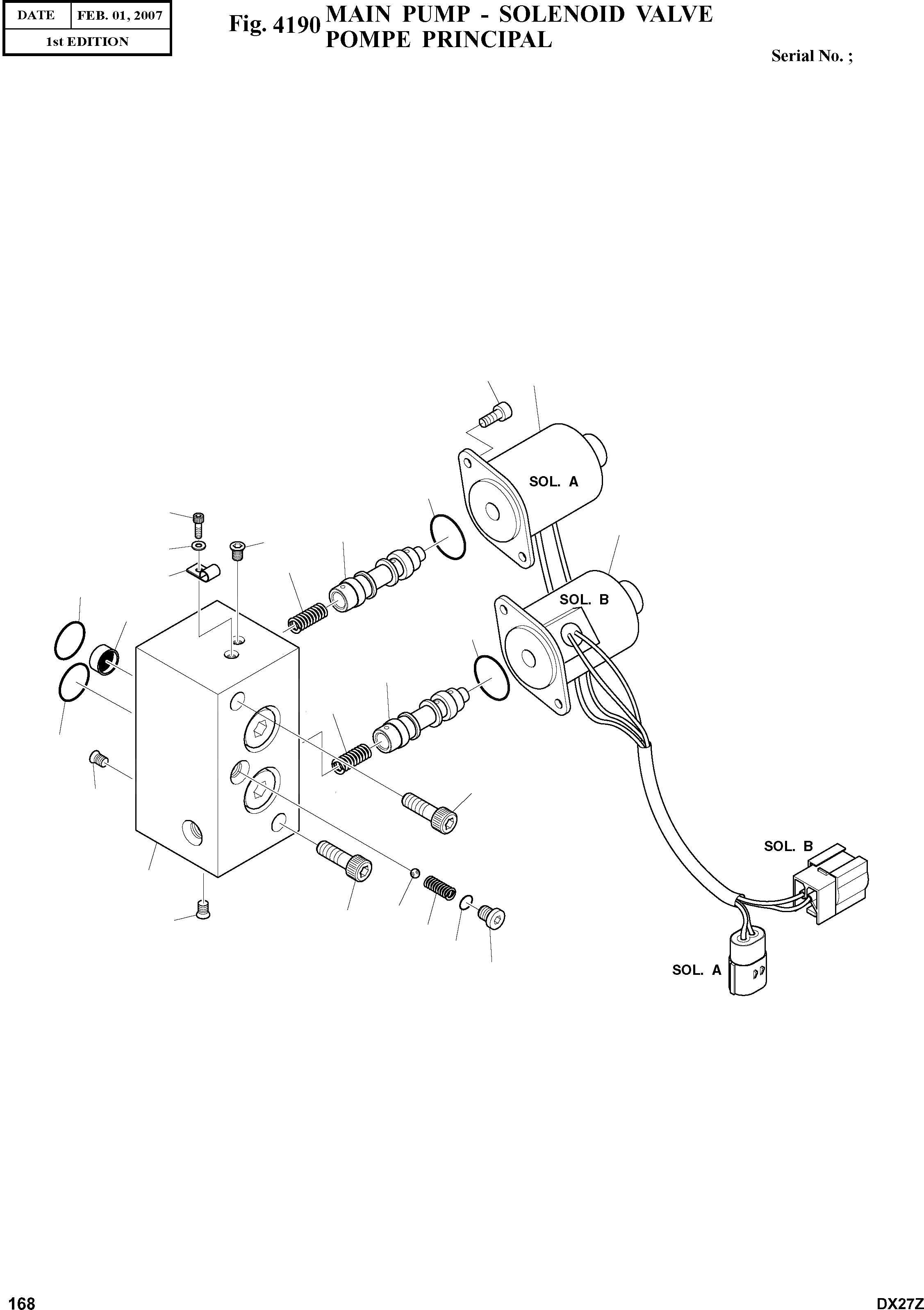
Запчасти Doosan Daewoo MAIN PUMP - SOLENOID VALVE MAIN PUMP

7
10
4
7
11
2
12
16
6
15
5
9
4
2
6
5
8
12
1
21
8
12
20
19
18
FIT
1:1
100%

Артикул

Название

Примечание

Количество

-

K9003845

VALVE;SOLENOID

desc: SOUPAPE A SOLENOIDE

1шт.

1

-

BODY

SC: D

1шт.

2

K9003838

SPOOL

desc: BOBINE

2шт.

4

S8010141

O-RING

desc: JOINT TORIQUE

2шт.

5

2180-1216D17

O-RING

desc: JOINT TORIQUE

2шт.

6

K9003839

SPRING

desc: RESSORT

2шт.

7

S2201561

BOLT;SOCKET

desc: BOULON A 6 PANS CREUX

1шт.

8

S2209071

BOLT;SOCKET

desc: BOULON A 6 PANS CREUX

2шт.

9

2.474-00011

ELEMENT;FILTER

desc: ELEMENT

1шт.

10

K9003840

SOLENOID (A)

desc: SOLENOIDE

1шт.

11

K9003841

SOLENOID (B)

desc: SOLENOIDE

1шт.

12

2.181-00183

PLUG

desc: BOUCHON

3шт.

15

2.124-00021

CLAMP

desc: BRIDE

1шт.

16

K9003842

WASHER;PLAIN

desc: RONDELLE

1шт.

18

2.181-00225

PLUG

desc: BOUCHON

1шт.

19

S8000081

O-RING

desc: JOINT TORIQUE

1шт.

20

2.131-00115

SPRING

desc: RESSORT

1шт.

21

S6250150

BALL;STEEL

desc: BOULE

1шт.

Выбрано товаров: 18