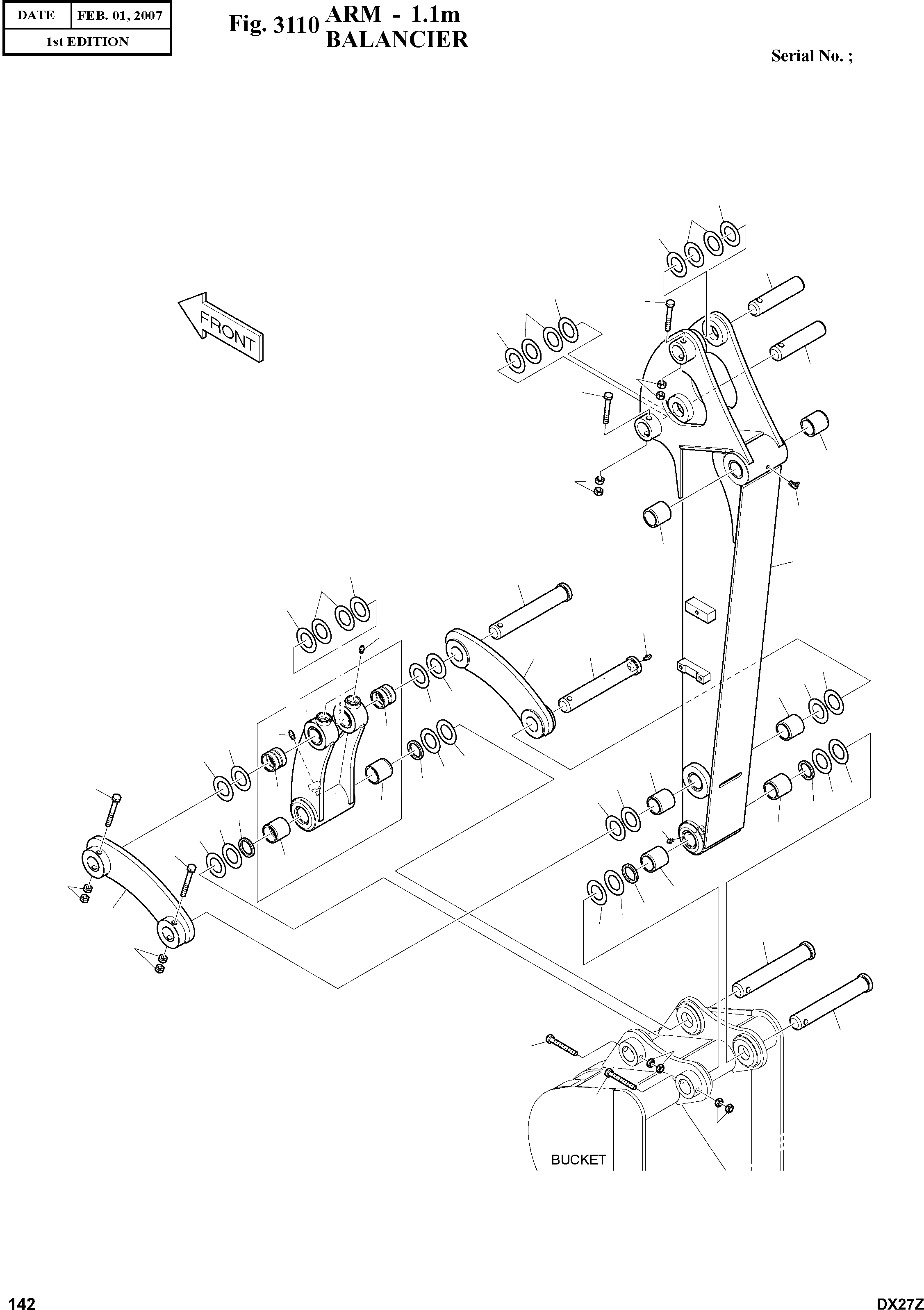
Запчасти Doosan Daewoo ARM - 1.1M FRONT PARTS

30
29
30
11
30
17
29
30
11
21
17
21
34
51
30
12
29
30
33
33
13
6
29
30
30
4
29
33
29
30
30
29
29
18
32
29
30
30
32
32
29
33
30
18
21
32
5
30
29
12
21
12
21
20
20
21
51A
51A
4B
4B
4A
4A
51A
51A
51A
51A
FIT
1:1
100%

Артикул

Название

Примечание

Количество

-

K1015749C

FRONT ATTACHMENTS

SC: D

-2шт.

4

K1015756A

LINK;PUSH

desc: ARTICULATION

1шт.

4A

K1018517

BUSH

desc: . DOUILLE

2шт.

4B

K1018518

BUSH

desc: . DOUILLE

2шт.

5

155-00038

LINK;GUIDE(L.H)

desc: ARTICULATION

1шт.

6

155-00037

LINK;GUIDE(R.H)

desc: ARTICULATION

1шт.

11

K1015763A

PIN

desc: GOUPILLE

2шт.

12

K1026558

PIN

desc: GOUPILLE

3шт.

13

K1026559

PIN

desc: GOUPILLE

1шт.

17

S0559053

BOLT

desc: BOULON

2шт.

18

S0559353

BOLT

desc: BOULON

2шт.

20

S0559153

BOLT

desc: BOULON

2шт.

21

S4012633

NUT

desc: ECROU

12шт.

29

2114-1059D212

SHIM

desc: CALE

14шт.

30

DS7701432

SHIM

desc: CALE

14шт.

32

2180-1106BD21

SEAL;DUST

desc: JOINT

4шт.

33

S6710041

NIPPLE;GREASE

desc: MAMELON

5шт.

34

S6710101

NIPPLE

desc: MAMELON

1шт.

51

K1015753C

ARM 1.1m

desc: BALANCIER

1шт.

51A

K1018517

BUSH

desc: . DOUILLE

6шт.

Выбрано товаров: 20