Запчасти Doosan Daewoo TRACK SHOE-600G(DOUBLE GROUSER) OPTIONAL PARTS

2
3
4
3
2
3
2
1
4
4
1-2
1-4
1-3
1-1
1-1B
1-1A
1-1E
1-1G
1-1F
1-1A
1-1G
1-1G
1-1D
1-1B
1-1G
1-1C
2
3
4
FIT
1:1
100%

Артикул

Название

Примечание

Количество

-

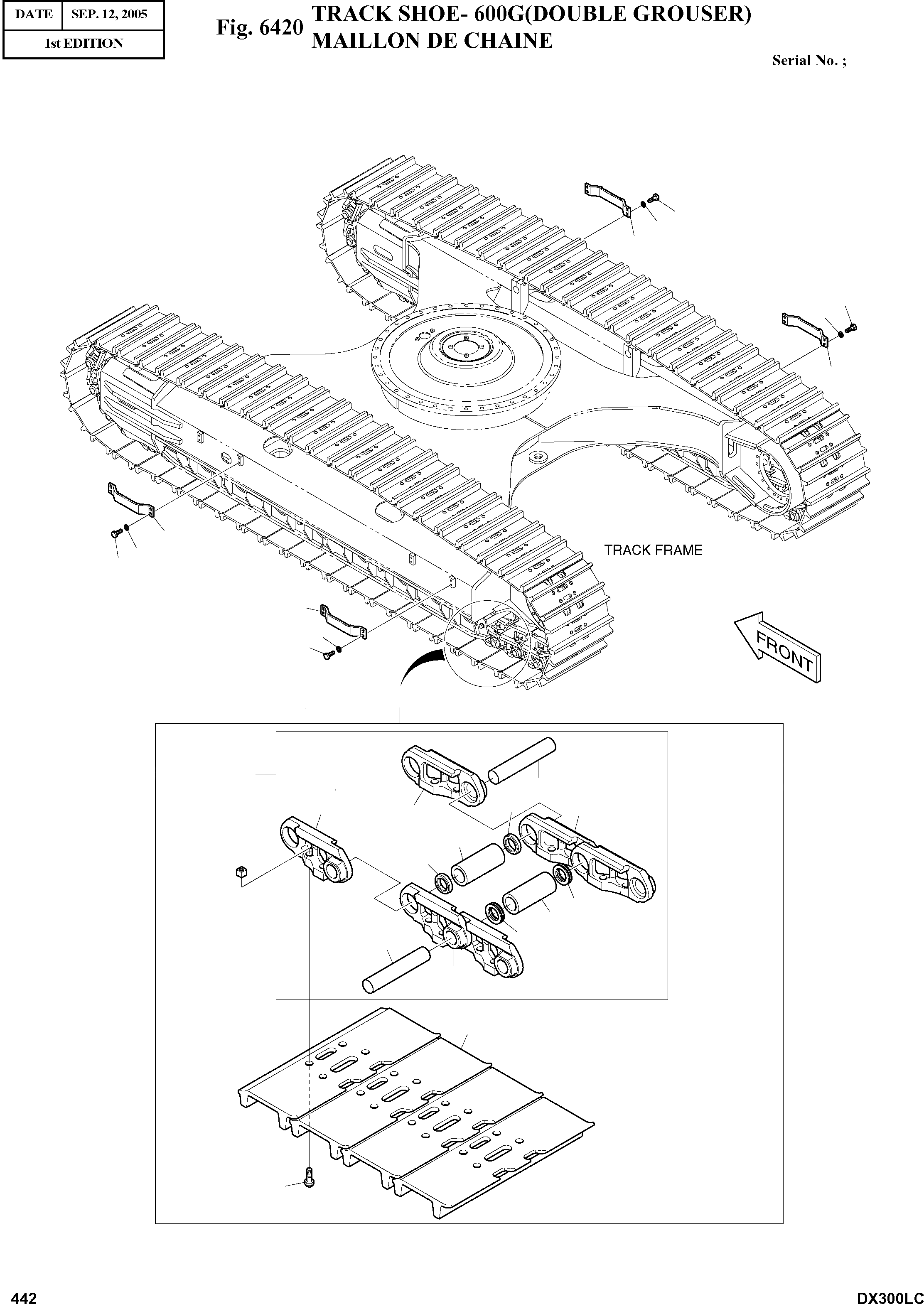
K1009091

TRACK SHOE-600G

desc: MAILLON DE CHAINE

-2шт.

1

K1008767

TRACK SHOE ASS'Y

desc: MAILLON DE CHAINE

2шт.

1-1

K1008807

TRACK LINK ASS'Y

desc: . ENSEMBLE MAILLON DE CHAINES

1шт.

1-1A

K1010778

LINK(R.H)

desc: .. PIECE DE JONCTION

48шт.

1-1B

K1010779

LINK(L.H)

desc: .. PIECE DE JONCTION

48шт.

1-1C

K1010780

BUSHING

desc: .. DOUILLE

47шт.

1-1D

K1010781

PIN

desc: .. BROCHE

47шт.

1-1E

K1010782

BUSHING;MASTER

desc: .. DOUILLE

1шт.

1-1F

K1010783

PIN;MASTER

desc: .. BROCHE PRINCIPALE

1шт.

1-1G

K1010784

SPACER

desc: .. ENTERTOISE

96шт.

1-2

K1008813

BOLT

desc: . BOULON A 6 PANS

192шт.

1-3

2121-6037

NUT

desc: . ECROU

192шт.

1-4

K1008780

SHOE;DOUBLE GROUSER

desc: . SABOT

48шт.

2

K1000809

STEP

desc: MARCHER

4шт.

3

S5102903

WASHER;SPRING

desc: RONDELLE ELASTIQUE

16шт.

4

S0565066

BOLT

desc: BOULON A 6 PANS

16шт.

Выбрано товаров: 0