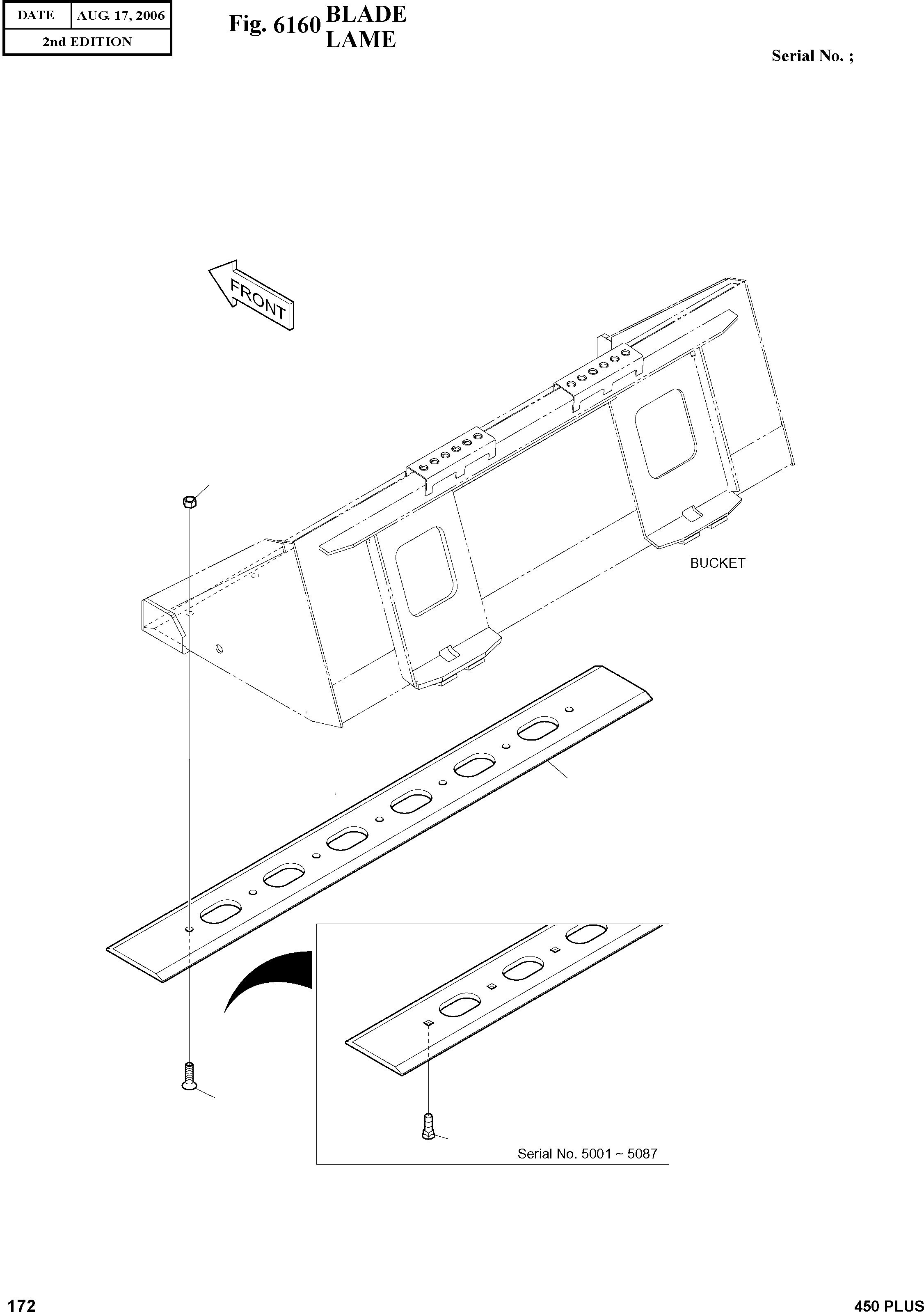
Запчасти Doosan Daewoo BLADE OPTION PARTS

3
1
2
2
FIT
1:1
100%

Артикул

Название

Примечание

Количество

-

K1023406

BLADE ASS'Y

SERIAL: 5001-5087

-2шт.

-

K1023406A

BLADE ASS'Y

SERIAL: 5088

-2шт.

1

K1020142

BLADE

SERIAL: 5001-5087

1шт.

1

K1020142A

BLADE

SERIAL: 5088

1шт.

2

K1019892

BOLT;PLOW

SERIAL: 5001-5087

7шт.

2

S3072163

BOLT

SERIAL: 5088

7шт.

3

K1019893

NUT

SERIAL: 5001-5087

7шт.

3

S4016933

NUT

SERIAL: 5088

7шт.

Выбрано товаров: 8