Запчасти Doosan Daewoo OIL PAN & PUMP ENGINE PARTS

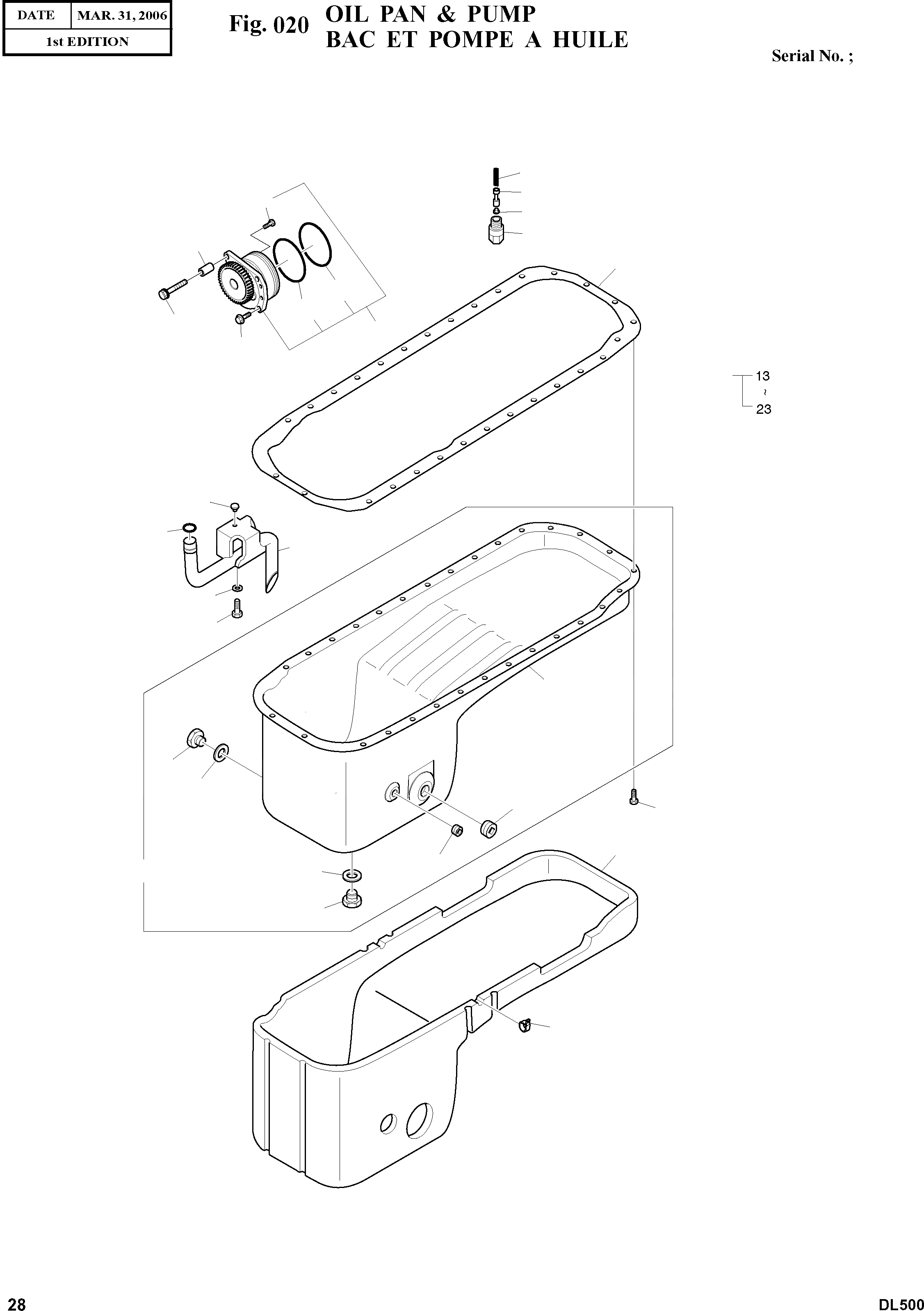
1
2
9
4
3
6
24
10
11
5
8
7
12
21
22
23
19
20
18
15
14
17
25
26
16
14
13
15
27
FIT
1:1
100%

Артикул

Название

Примечание

Количество

1

K9003013

SPRING;COMPRESSION

desc: RESSORT DE COMPRESSION

1шт.

2

K9003116

PLUNGER;REGULATOR

desc: PLONGEUR

1шт.

3

K9003119

SENSOR;VISCOSITY

desc: CAPTEUR

1шт.

4

K9003325

PLUG;RETAINER

desc: BOUCHON

1шт.

5

K9003319

SCREW;HEX FLANGE HEAD CAP

desc: VIS

2шт.

6

K9003320

SPACER;MOUNTING

desc: ENTRETOISE

2шт.

7

K9003321

SCREW;HEX FLANGE HEAD CAP

desc: VIS

1шт.

8

K9003365

PUMP;LUBRICATING OIL

desc: POMPE

1шт.

9

K9003032

SCREW;SOCKET HEAD CAP

desc: . BOUCHON

4шт.

10

K9003058

SEAL;O-RING

desc: . JOINT

1шт.

11

K9003059

SEAL;O-RING

desc: . JOINT

1шт.

12

K9003370

OIL PAN SUB ASS'Y

desc: CARTER DE HUILE

1шт.

13

-

OIL PAN ASS'Y

SC: D

1шт.

14

K9002971

WASHER;PLAIN

desc: .. RONDELLE

2шт.

15

K9003096

PLUG;THREADED

desc: .. BOUCHON

2шт.

16

K9002321

PLUG;PIPE

desc: .. BOUCHON

1шт.

17

K9003008

PLUG;PIPE

desc: .. BOUCHON

1шт.

18

-

PAN;OIL

SC: D

1шт.

19

K9003010

WASHER;PLAIN

desc: . RONDELLE

1шт.

20

K9003185

SCREW;CAP

desc: . VIS

1шт.

21

K9003331

RETAINER;CAP SCREW

desc: . ARRETOIR

1шт.

22

K9003057

SEAL;O-RING

desc: . JOINT

1шт.

23

K9003190

TUBE;LUB OIL SUCTION

desc: . TUBE

1шт.

24

K9003224

GASKET;OIL PAN

desc: JOINT

1шт.

25

K9003337

SCREW;HEX FLANGE HEAD CAP

desc: VIS

32шт.

26

K9003371

PANEL;NOISE

desc: PANNEAU

1шт.

27

K9003334

CLIP

desc: AGRAFE

18шт.

Выбрано товаров: 27