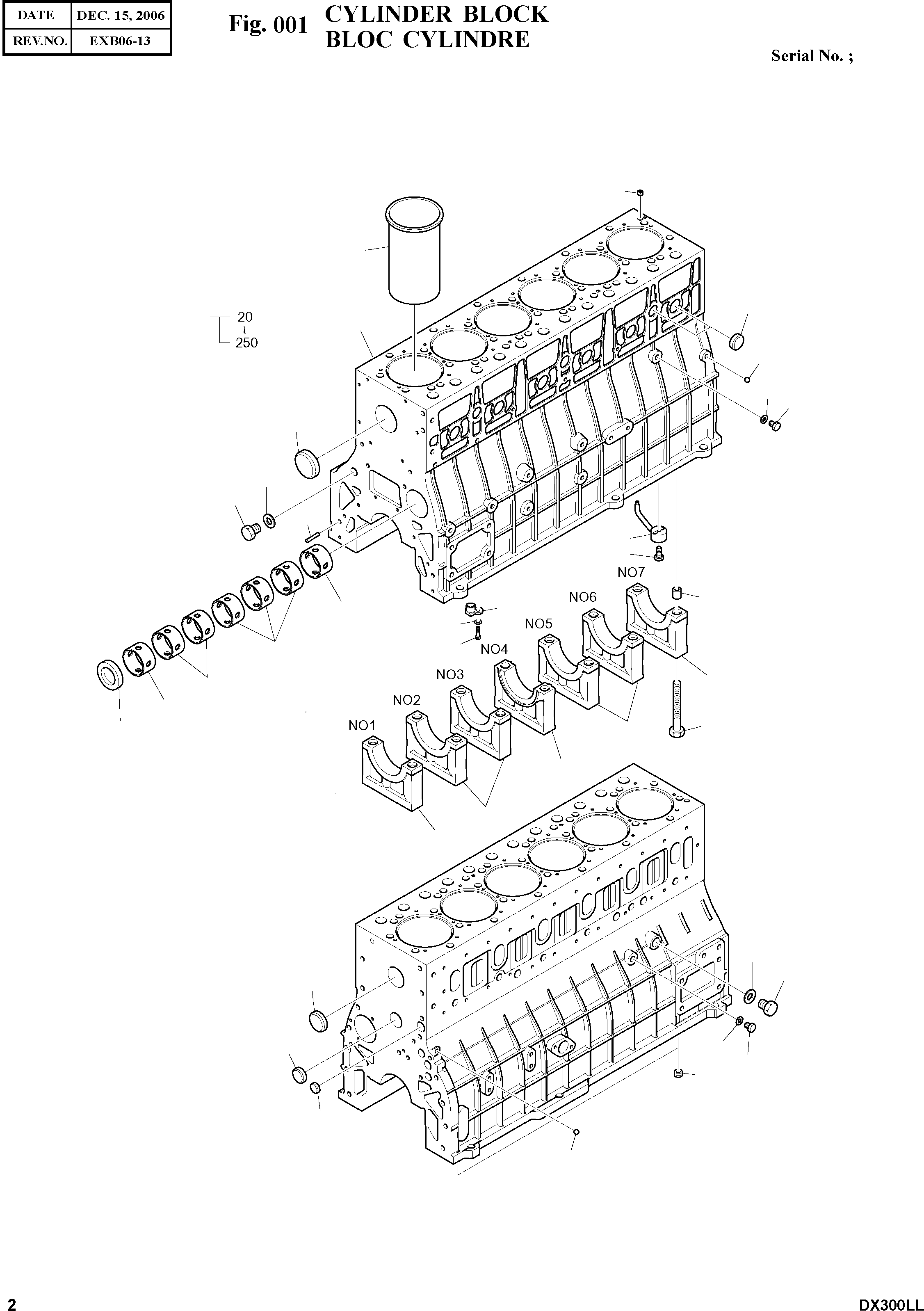
Запчасти Doosan Daewoo CYLINDER BLOCK ENGINE PARTS

230
410
40
10
20
250
290
280
110
80
70
390
510
520
200
360
150
380
370
130
160
130
140
210
300
160
180
160
160
100
90
120
50
320
310
220
60
250
FIT
1:1
100%

Артикул

Название

Примечание

Количество

10

65.01101-6108A

BLOCK;CYLINDER

SERIAL: 060824

1шт.

10

65.01101-6108B

BLOCK;CYLINDER

SERIAL: 060825

1шт.

20

65.01101-0108A

BLOCK;CYLINDER

SERIAL: 060824

1шт.

20

65.01101-0108B

BLOCK;CYLINDER

SERIAL: 060825

1шт.

40

65.90302-0042

PLUG;CORE

desc: . BOUCHON

9шт.

50

65.90302-0042

PLUG;CORE

desc: . BOUCHON

1шт.

60

65.91606-0041

PLUG;CORE HOLE

desc: . BOUCHON

1шт.

70

65.90310-0132

SCREW;PLUG

desc: . VIS

1шт.

80

06.56190-0718

RING;SEAL

desc: . BAGUE

1шт.

90

65.90310-0132

SCREW;PLUG

desc: . VIS

1шт.

100

06.56190-0718

RING;SEAL

desc: . BAGUE

1шт.

110

65.90302-0059

PLUG;CORE

desc: . BOUCHON

1шт.

120

65.90302-0026

PLUG;CORE

desc: . BOUCHON

1шт.

130

65.04410-0017

BUSH;CAM SHAFT

desc: . DOUILLE

5шт.

140

65.04410-0019

BUSH;CAM SHAFT

desc: . DOUILLE

1шт.

150

65.04410-0020

BUSH;CAM SHAFT

desc: . DOUILLE

1шт.

160

65.01105-1049

CAP;BEARING

SC: D

6шт.

180

65.01105-1050

CAP;BEARING

SC: D

1шт.

200

65.91710-0035B

RING;LOCATING

desc: . BAGUE

14шт.

210

65.90020-0096

BOLT;COLLARED HEX

desc: . BOULON A 6 PANS

14шт.

220

65.90310-0148

SCREW;PLUG

desc: . VIS

2шт.

230

65.91001-0002

PLUG

SERIAL: 060824

3шт.

230

65.91001-0013

AVSEAL

SERIAL: 060825

3шт.

250

06.31641-0618

BALL;STEEL

desc: . BILLE

2шт.

280

65.90310-0091

SCREW;PLUG M12X1.5X20

desc: VIS

1шт.

290

06.56190-0704

RING;SEAL A12X18

desc: BAGUE

1шт.

300

65.91605-0002

COVER;CORE HOLE

desc: COUVERCLE

1шт.

310

65.90310-0135

PLUG;SCREW

desc: BOUCHON

1шт.

320

06.56190-0706

RING;SEAL A14X20

desc: BAGUE

1шт.

360

65.05710-0001

FLANGE;CONNECTION

desc: BRIDE

1шт.

370

06.02090-0307

BOLT;SOCKET HEAD M6X14L

desc: BOULON A 6 PANS CREUX

1шт.

380

06.16731-2106

WASHER;SPRING A6

desc: RONDELLE ELASTIQUE

1шт.

390

06.22022-1063

PIN;DOWEL 8M6X24

desc: GOUJON

2шт.

410

65.01201-0074

LINER;CYLINDER

desc: RECOUVREMENT

6шт.

510

65.01601-5018A

NOZZLE;OIL SPRAY

desc: INJECTEUR

6шт.

520

65.05405-6001

RELIEF VALVE ASS'Y

desc: CLAPET DE DECHARGE

6шт.

Выбрано товаров: 36