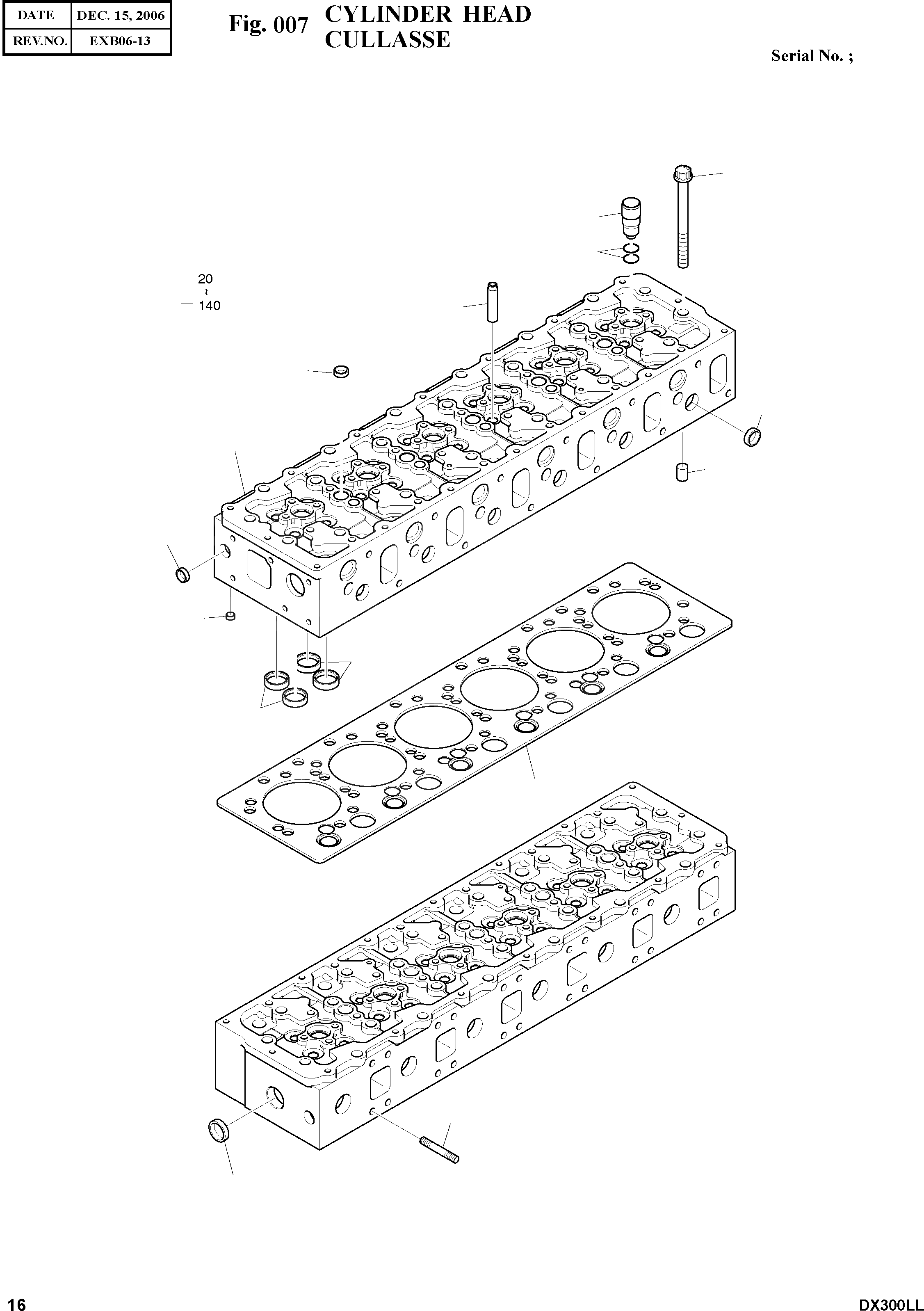
Запчасти Doosan Daewoo CYLINDER HEAD ENGINE PARTS

170
90
100
10
110
50
80
20
150
50
60
130
140
160
180
70
FIT
1:1
100%

Артикул

Название

Примечание

Количество

10

65.03101-6075C

HEAD;CYLINDER

SERIAL: 061129

1шт.

10

65.03101-6075E

HEAD;CYLINDER

SERIAL: 061130

1шт.

20

65.03101-1056A

HEAD;CYLINDER

SC: D

1шт.

50

65.90302-0045

PLUG;CORE

desc: . BOUCHON

17шт.

60

65.90302-0027

PLUG;CORE

desc: . BOUCHON

1шт.

70

65.90302-0042

PLUG;CORE

desc: . BOUCHON

6шт.

80

65.90302-0048

PLUG;CORE

desc: . BOUCHON

6шт.

90

65.03205-0006B

BUSH;INJECTION NOZZLE

desc: . COUSSINET

6шт.

100

65.96501-0088

O-RING

desc: . JOINT TORIQUE

12шт.

110

65.03201-1012A

VALVE;GUIDE

SERIAL: 061129

24шт.

110

65.03201-1052A

VALVE;GUIDE

SERIAL: 061130

24шт.

130

65.03203-1055B

SEAT;INTAKE VALVE

SC: B

12шт.

140

65.03203-1056B

SEAT;EXHAUST VALVE

SC: B

12шт.

150

65.91030-0005

PIN;FIX

desc: GOUJON

2шт.

160

65.03901-0068

GASKET;CYLINDER HEAD

desc: JOINT

1шт.

170

65.90021-0005

BOLT;COLLARED DUO

desc: BOULON A 6 PANS

26шт.

180

65.90201-0113

BOLT;STUD

desc: BOULON A 6 PANS

24шт.

Выбрано товаров: 17