Качественные детали и логистика
Оригинальные и аналоговые запчасти с доставкой по России, Казахстану и Беларуси
©2022 PartSell ООО "Система" ИНН 2463123282 ОГРН 1212400004838
Центральный офис: г. Красноярск, Академика Киренского, д.87, пом.4
Телефон: 8 (800) 777-65-74 Email: zakaz@partsell.ru
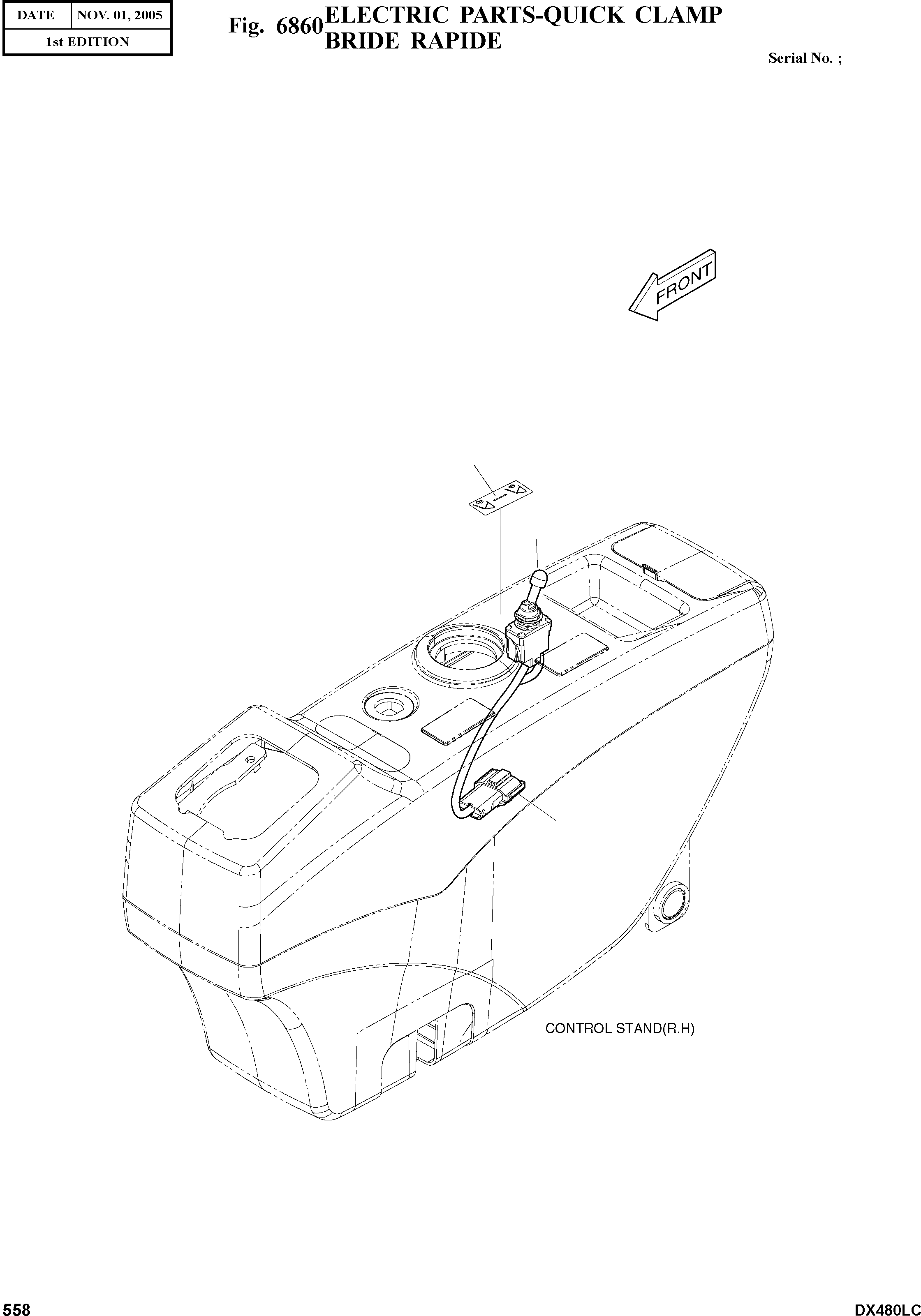
ELECTRIC PARTS-QUICK CLAMP
№
Артикул
Название
Примечание
Количество
-
K1005767
QUICK CLAMP
SC: D
-2шт.
1
549-00092
SWITCH;TOGGLE
desc: INTERRUPTEUR
1шт.
2
530-00432A
HARNESS;JOINT
desc: FAISCEAU
3
K1005776
PLATE;NAME
desc: PLAQUE D'IDENTIFICATION
Выбрано товаров: 0