Качественные детали и логистика
Оригинальные и аналоговые запчасти с доставкой по России, Казахстану и Беларуси
©2022 PartSell ООО "Система" ИНН 2463123282 ОГРН 1212400004838
Центральный офис: г. Красноярск, Академика Киренского, д.87, пом.4
Телефон: 8 (800) 777-65-74 Email: zakaz@partsell.ru
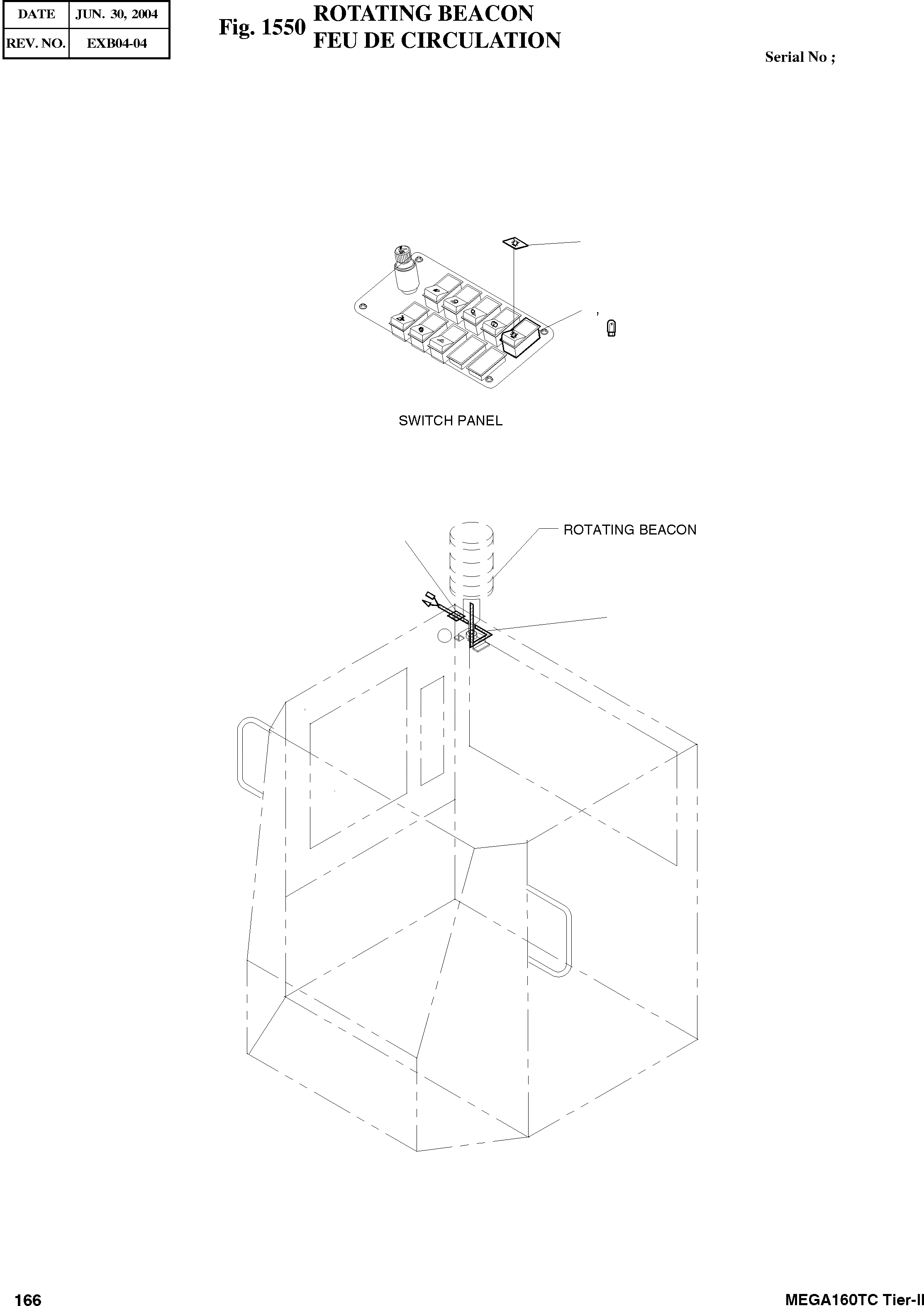
ROTATING BEACON
№
Артикул
Название
Примечание
Количество
-
4534-1177
ROTATING BEACON ASS'Y (OPTION)
SC: D
-2шт.
1
2549-9098
SWITCH;ROTATING BEACON
desc: COMMUTATEUR
1шт.
1A
K9000353
LAMP;PILOT
desc: . LAMPE
2
2190-2036D10
INSERT;BEACON
desc: INSERTION
3
4530-1759A
HARNESS;BEACON
desc: HARNAIS
4
2128-1209D1
CLAMP;METAL
desc: COLLIER
Выбрано товаров: 0