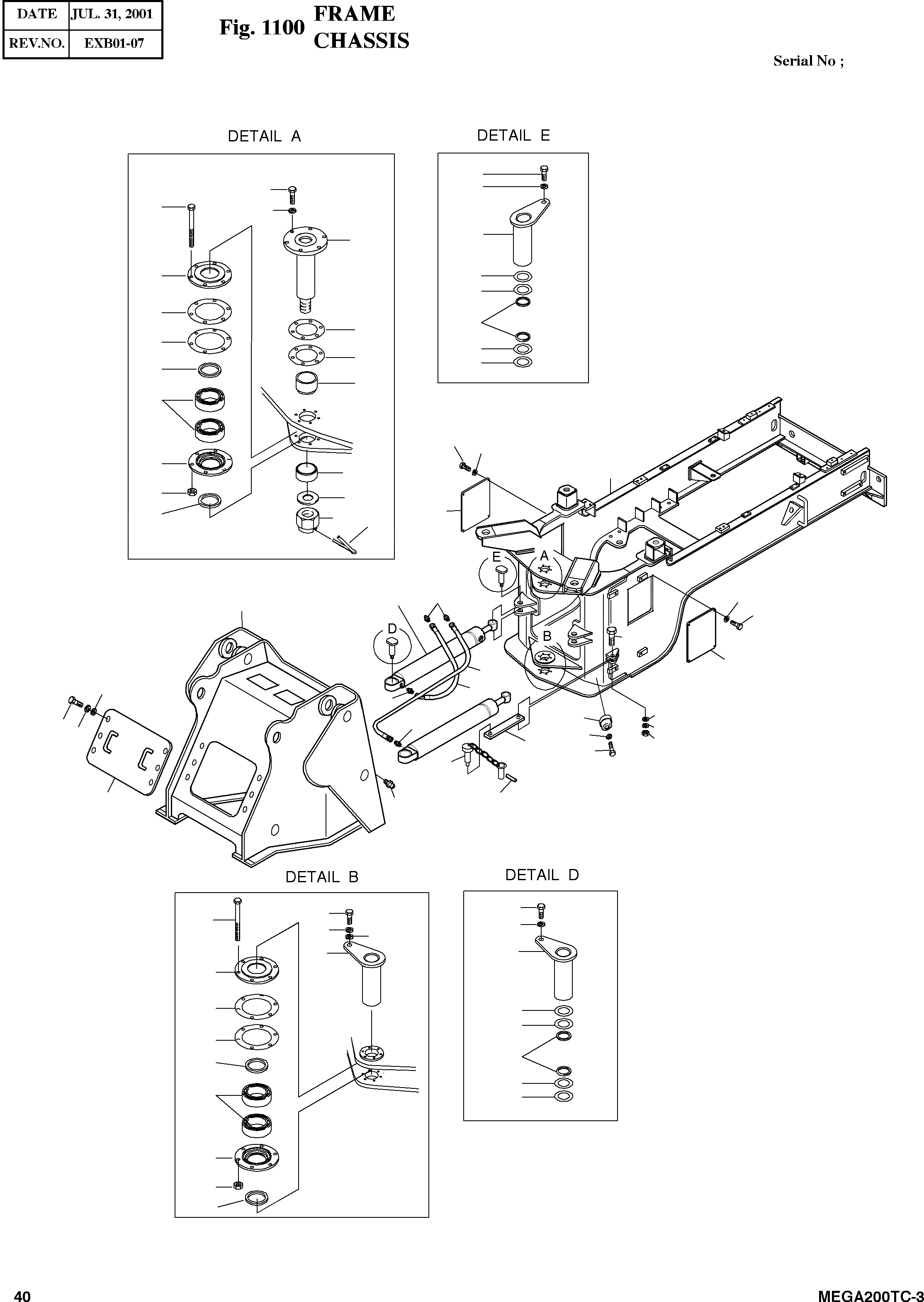
Запчасти Doosan Daewoo FRAME BODY PARTS

49
59
9
4
55
32
24
37
3
38
7
39
12
8
37
13
38
25
15
6
53
54
3
1
16
5
14
52
11
25
10
27
30
54
2
53
43
58
28
51
29
27
44
20
27
49
46
26
50
45
42
22
40
48
41
47
49
21
4
59
50
59
33
17
19
7
37
38
8
39
18
37
6
38
19
5
18
FIT
1:1
100%

Артикул

Название

Примечание

Количество

-

606-00008

FRAME ASS'Y

SC: D

-2шт.

1

4606-1015H

FRAME;REAR

desc: BATI PRINCIPAL

1шт.

2

606-00002B

FRAME;FRONT

SERIAL: 1001-1020

1шт.

2

606-00002C

FRAME;FRONT

SERIAL: 1021

1шт.

3

4111-1013

CAP;END

desc: CAPUCHON

2шт.

4

S0559261

BOLT M10X1.5X85

desc: BOULON A 6 PANS

12шт.

5

S4012633

NUT M10X1.5

desc: ECROU

12шт.

6

4109-9068

BEARING;TAPER ROLLER

desc: ROULEMENT A AIGUILLES

4шт.

7

4114-1864

SHIM 0.1T

desc: CALE

12шт.

8

4114-1865

SHIM 0.5T

desc: CALE

6шт.

9

S0558261

BOLT M10X1.5X35

desc: BOULON A 6 PANS

6шт.

10

S4213631

NUT;CASTLE M33X3.5

desc: ECROU

1шт.

11

S5735791

PIN;SPLIT

desc: BROCHE

1шт.

12

4114-4105

SHIM 0.2T

desc: CALE

3шт.

13

4114-4106

SHIM 0.5T

desc: CALE

4шт.

14

4114-4113

WASHER

desc: RONDELLE

1шт.

15

4114-1867

SPACER

desc: BAGUE

1шт.

16

4114-1866

SPACER

desc: BAGUE

1шт.

17

4123-2271

PIN

desc: BROCHE

1шт.

18

2180-1106D7

SEAL;DUST

desc: PARE-POUSSIERES

2шт.

19

4111-1012

CAP;END

desc: CAPUCHON

2шт.

20

4161-2038B

STOPPER;RUBBER

desc: ARRET

2шт.

21

S0558153

BOLT M10X1.5X30

desc: BOULON A 6 PANS

1шт.

22

S0560663

BOLT M12X1.75X45

desc: BOULON A 6 PANS

2шт.

24

4123-2272

PIN

desc: BROCHE

1шт.

25

2180-1106BD8

SEAL;DUST

desc: PARE-POUSSIERES

2шт.

26

S5010713

WAHSER

desc: RONDELLE

2шт.

27

2181-4112

ADAPTER PT1/8-PF1/4

desc: RACCORD ADAPTEUR

4шт.

28

2184-1045D117

HOSE PF1/4-1200L

desc: TUYAU FLEXIBLE

1шт.

29

2184-1060D40

HOSE PF1/4-1040L

desc: TUYAU FLEXIBLE

1шт.

30

4440-6483

CYLINDER;STEERING

desc: VERIN DE DIRECTION

2шт.

32

4123-2452

PIN

desc: BROCHE

2шт.

33

4123-2451

PIN

desc: BROCHE

2шт.

37

2114-1059D45

SHIM d41Xd75x1.6T

desc: CALE

8шт.

38

2114-1059D46

SHIM d41Xd75x1.0T

desc: CALE

8шт.

39

2180-1106BD21

SEAL;DUST d45Xd55

desc: BAGUE

8шт.

40

4123-4096B

PIN ASS'Y

desc: BROCHE

1шт.

41

2123-1441D4

PIN

desc: BROCHE

1шт.

42

4191-4506A

PLATE

desc: PLAQUE

1шт.

43

S0777563

BOLT

desc: BOULON

1шт.

44

S5011413

WASHER;PLAIN

desc: RONDELLE

1шт.

45

S4033433

NUT M27

desc: ECROU

1шт.

46

S5103403

WASHER;SPRING

desc: RONDELLE ELASTIQUE

1шт.

47

S6710041

GREASE NIPPLE

desc: GRAISSEUR

2шт.

48

4627-1328

COVER

desc: COUVERCLE

1шт.

49

S0511853

BOLT M10X1.5X20

desc: BOULON A 6 PANS

10шт.

50

S5102603

WASHER;SPRING M10

desc: RONDELLE ELASTIQUE

7шт.

51

S5010613

WASHER;PLAIN M10

desc: RONDELLE

6шт.

52

4627-1329

COVER

desc: COUVERCLE

1шт.

53

S0508453

BOLT M8X1.25X12

desc: BOULON

8шт.

54

S5102503

WASHER;SPRING M8

desc: RONDELLE ELASTIQUE

8шт.

55

4114-1793

WASHER;HARD M10

desc: RONDELLE

6шт.

58

4627-1330

COVER

desc: COUVERCLE

1шт.

59

4114-4104

WASHER

desc: RONDELLE

5шт.

Выбрано товаров: 54