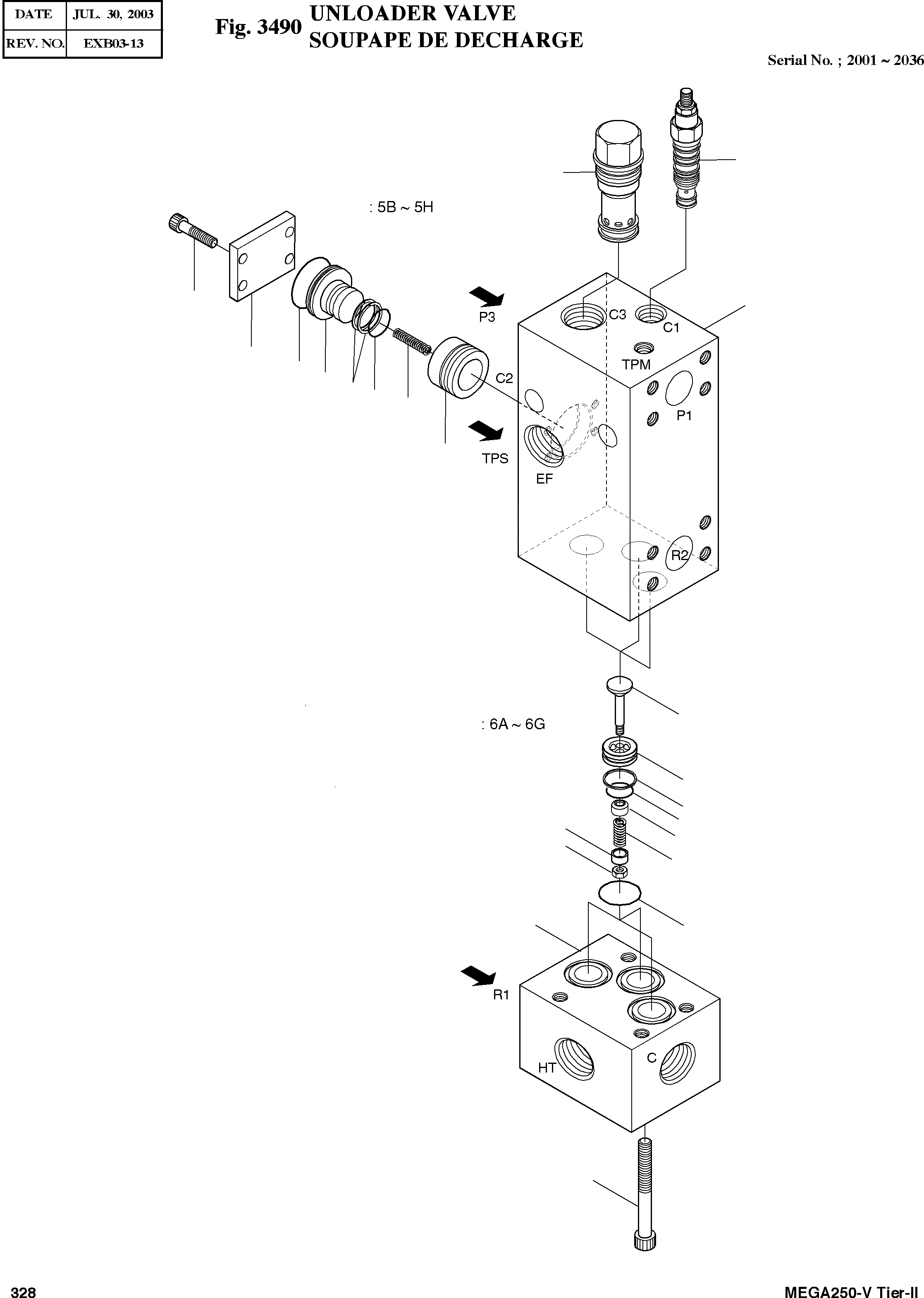
Запчасти Doosan Daewoo UNLOADER VALVE HYDRAULIC PARTS

5
7
5H
5G
5C
5F
5E
5D
5B
3
4
1
6
6B
6A
6G
6F
6C
6E
6C
6D
2
9
8
FIT
1:1
100%

Артикул

Название

Примечание

Количество

-

420-00099

UNLOADER VALVE

SERIAL: 2001-2036

1шт.

1

-

BLOCK

SC: D

1шт.

2

-

BODY

SC: D

1шт.

3

DRAX-LAN

DIRECTION VALVE

desc: VANNE

1шт.

3A

990-021-007

SEAL KIT

desc: . KIT DE REPARATION

1шт.

4

CXHA-XCN

CHECK VALVE

desc: VANNE

1шт.

4A

990-016-007

SEAL KIT

desc: . KIT DE REPARATION

1шт.

5

KFP-1-A3099

LOGIC VALVE

desc: VANNE

1шт.

5B

A3099-1

POPPET

desc: . POPPET

1шт.

5C

A3099-2

STOPPER

SC: D

1шт.

5D

A3099-3

SPRING

SC: D

1шт.

5E

A3099-4

O-RING

desc: . JOINT TORIQUE

1шт.

5F

A3099-5

RING;BACK UP

desc: . BAGUE

2шт.

5G

A3099-6

O-RING

desc: . JOINT TORIQUE

1шт.

5H

A3099-7

COVER

SC: D

1шт.

6

KFP-1-A3096

CHECK VALVE

desc: VANNE

3шт.

6A

KFP-1-A3096-1

FLOATING BODY

SC: D

1шт.

6B

KFP-1-A3096-2

POPPET

desc: . POPPET

1шт.

6C

KFP-1-A3096-3

GUIDE

SC: D

1шт.

6D

KFP-1-A3096-4

NUT;HEX

SC: D

1шт.

6E

KFP-1-A3096-5

SPRING

SC: D

1шт.

6F

KFP-1-A3096-6

O-RING

desc: . JOINT TORIQUE

1шт.

6G

KFP-1-A3096-7

RING;BACK UP

desc: . BAGUE

1шт.

7

A3099-8

BOLT;WRENCH M8X1.25X20

desc: BOULON

4шт.

8

A0071-96-7

BOLT;WRENCH M12X1.75X75

desc: BOULON A 6 PANS

4шт.

9

AS568-125

O-RING

desc: JOINT TORIQUE

3шт.

Выбрано товаров: 0