Качественные детали и логистика
Оригинальные и аналоговые запчасти с доставкой по России, Казахстану и Беларуси
©2022 PartSell ООО "Система" ИНН 2463123282 ОГРН 1212400004838
Центральный офис: г. Красноярск, Академика Киренского, д.87, пом.4
Телефон: 8 (800) 777-65-74 Email: zakaz@partsell.ru
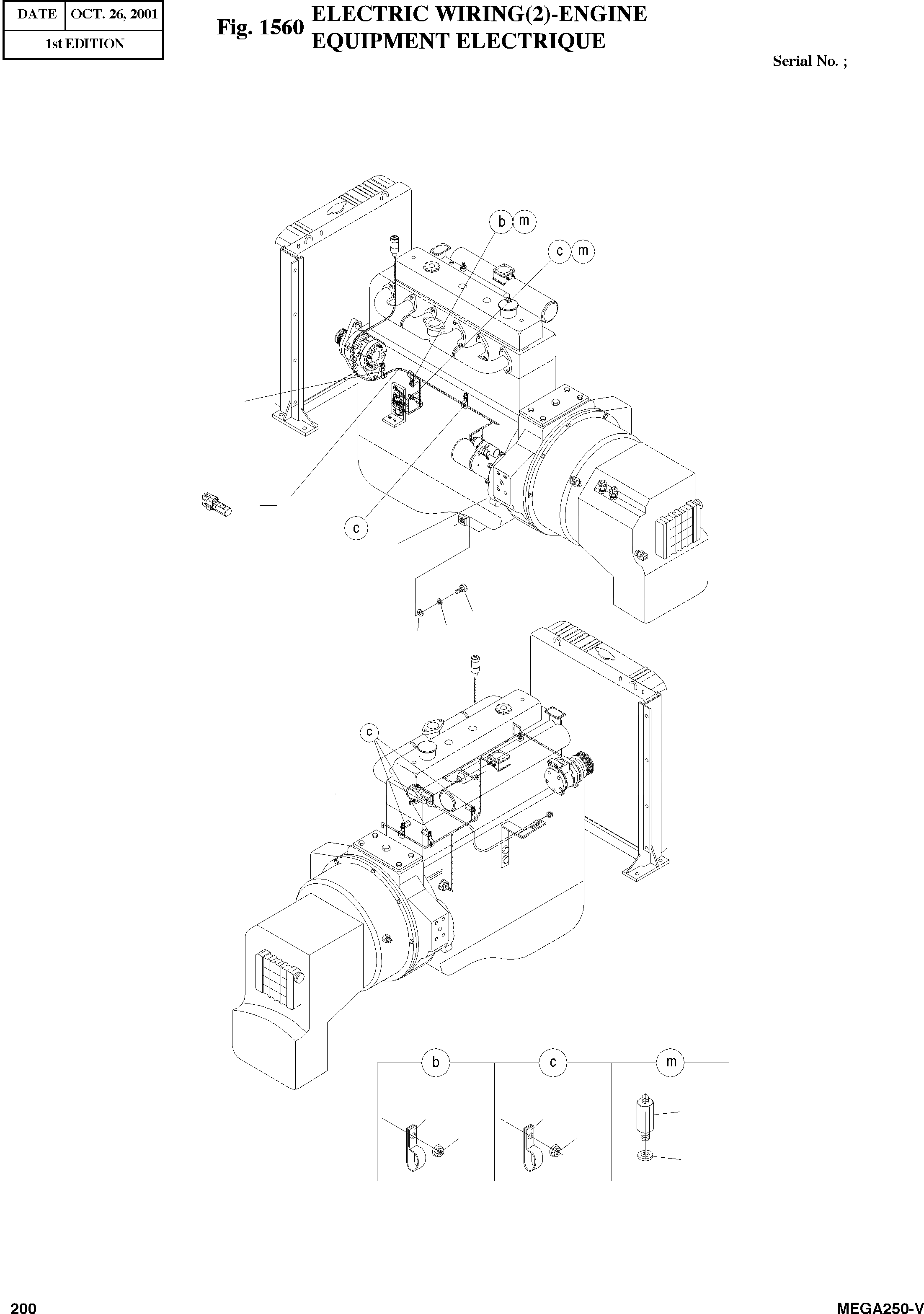
ELECTRIC WIRING(2)-ENGINE
№
Артикул
Название
Примечание
Количество
-
500-00065
ELECTRIC PARTS
SC: D
-2шт.
3
530-00131A
HARNESS;ENGINE
desc: FAISCEAU
1шт.
3A
2548-1027
DIODE
desc: . DIODE
16
2553-1275D22
CABLE;ENGINE-EARTH 60B-L300
desc: CABLE
18
S0511653
BOLT M10X1.5X16
desc: BOULON A 6PANS
19
S5102603
WASHER;SPRING M10
desc: RONDELLE ELASTIQUE
3шт.
20
S5010613
WASHER
desc: RONDELLE PLATE
30
2124-1509D2
CLIP D12/M8
desc: ATTACHE
31
2124-1509D3
CLIP D18/M8
5шт.
34
2121-1305
NUT M8X1.25 M10X1.5X15
desc: ECROU
6шт.
35
2120-2159
BOLT;STUD
desc: BOULON DE PLOT
2шт.
39
2124-1353D8
CLIP D22/M12
Выбрано товаров: 0