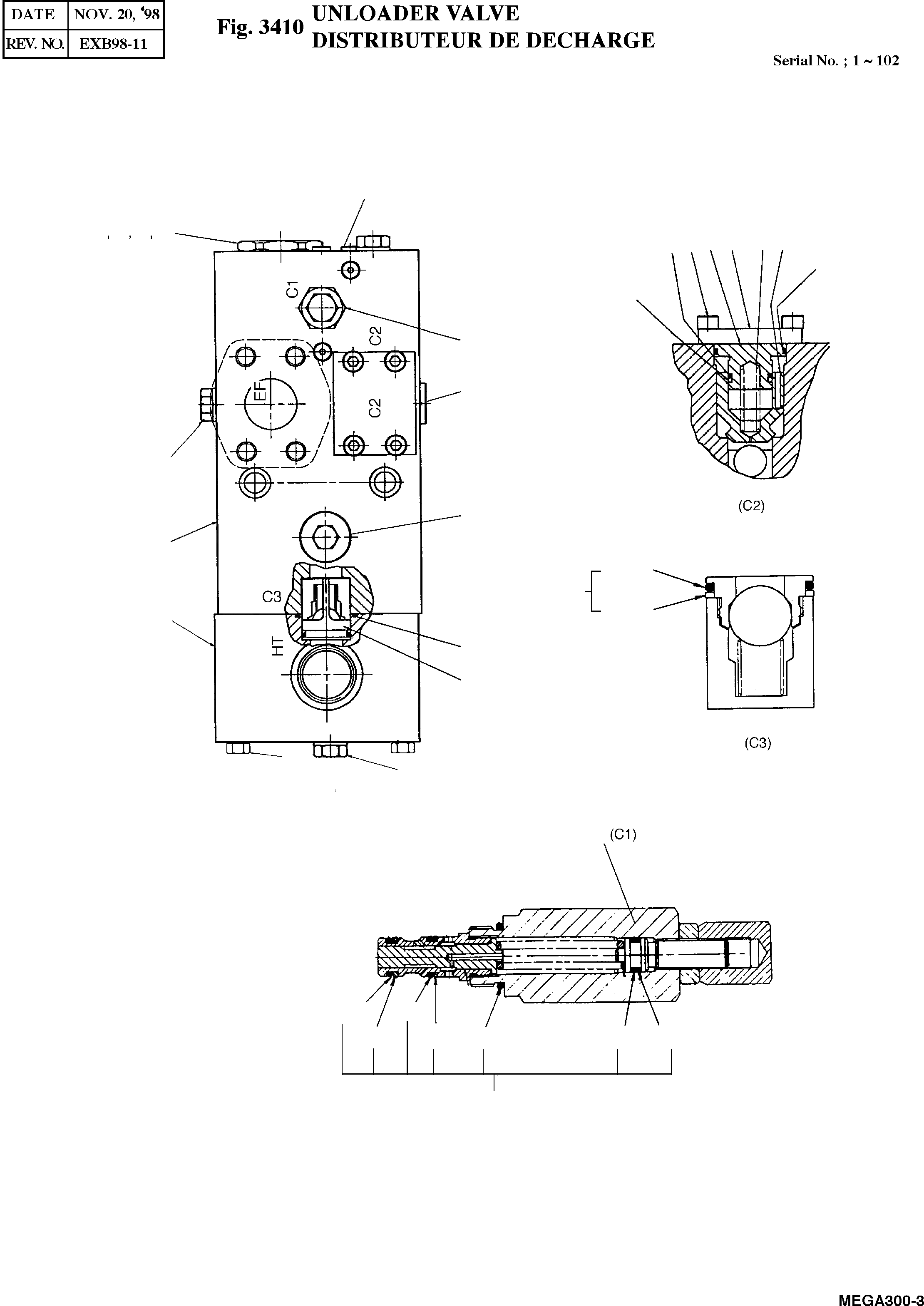
Запчасти Doosan Daewoo UNLOADER VALVE HYDRAULIC PARTS

12
19
7
11
6
5
4
10
8
9
3
20
3A
22
21
1
16A
16A-1
2
17
16
18
22
3
3A-2
3A-2
3A-4
3A-3
3A-1
3A-5
3A-6
16A-2
13
14
15
FIT
1:1
100%

Артикул

Название

Примечание

Количество

-

4420-9372

VALVE;UNLOADER

SERIAL: 1-102

-2шт.

1

DXP15083

BODY

desc: . CARTER

1шт.

2

CXP15084

PLATE;END

desc: . PLAQUE

1шт.

3

AXP14216-01

PILOT CARTRIDGE(C©ы)

desc: . CIRCUIT PILOTE(D28 C/V)

1шт.

3A

SK551

KIT;SEAL

desc: .. ADAPTATEUR

1шт.

3A-1

-

O-RING J515A-08(139108)

desc: ... JOINT TORIQUE

1шт.

3A-2

-

O-RING BS1806;012-70(131107)

desc: ... ENSEMBLE BILLE GOUPILLE

1шт.

3A-3

-

RING;BACK-UP

desc: ... BAGUE DE SOUTIEN

1шт.

3A-4

-

RING;BACK-UP BS1806;012(142012)

desc: ... BAGUE DE SOUTIEN

1шт.

3A-5

-

O-RING BS1806;011-70(131106)

desc: ... ENSEMBLE BILLE GOUPILLE

1шт.

3A-6

-

RING;BACK-UP BS1806-011(142911)

desc: ... BAGUE DE SOUTIEN

1шт.

4

AXP3126

PLATE;END

desc: . PLAQUE

1шт.

5

AXP8278

SPRING;END

desc: . FOURCHE

1шт.

6

AXP4289

SPRING

desc: . RESSORT

1шт.

7

AXP8279

POPPET

desc: . SOUPAPE SOULEVANTE

1шт.

8

-

O-RING BS1806;129-90ўЄ(134129)

desc: . RACCORD ADAPTATEUR

1шт.

9

-

O-RING BS4518;0215-30(RM0215-30)

desc: . RACCORD ADAPTATEUR

1шт.

10

-

RING;BACK-UP BS4518;0215-30-BKM0215-30

desc: . BAGUE DE SOUTIEN

1шт.

11

-

BOLT;SOCKET M8X25

desc: . BOULON A 6 PANS

4шт.

12

AXP8813

CHECK;RETAINER

desc: . BAGUE D'ARRET

1шт.

13

AXP8812

POPPET

desc: . SOUPAPE SOULEVANTE

1шт.

14

AXP1134

SPRING

desc: . RESSORT

1шт.

15

-

O-RING J515A-12(139120)

desc: . JOINT TORIQUE

1шт.

16

-

CHECK INSERT(3IC90-0-35-S)

desc: . REPRIMER

1шт.

16A

SK280

KIT;SEAL

desc: .. ADAPTATEUR

1шт.

16A-1

BS120-70

O-RING BS1806;120-90ўЄ)

desc: ... ENSEMBLE BILLE GOUPILLE

1шт.

16A-2

BS120

RING;BACK-UP

desc: ... BAGUE

1шт.

17

-

O-RING BS1806;125-90ўЄ(134125)

desc: . RACCORD ADAPTATEUR

1шт.

18

-

BOLT;SOCKET M10X90

desc: . BOULON A 6 PANS

4шт.

19

AXP8444-2T

PLUG;HOLLOW 1/8"SAE

desc: . BOUCHON

6шт.

20

AXP8444-10T

PLUG;HOLLOW 5/8"SAE

desc: . BOUCHON

1шт.

21

AXP8444-12T

PLUG;HOLLPW 3/4"SAE

desc: . BOUCHON

2шт.

22

-

PLUG 1/4"BSP W/O-RING BS1806;111-90ўЄ

desc: . RACCORD ADAPTATEUR

3шт.

Выбрано товаров: 33