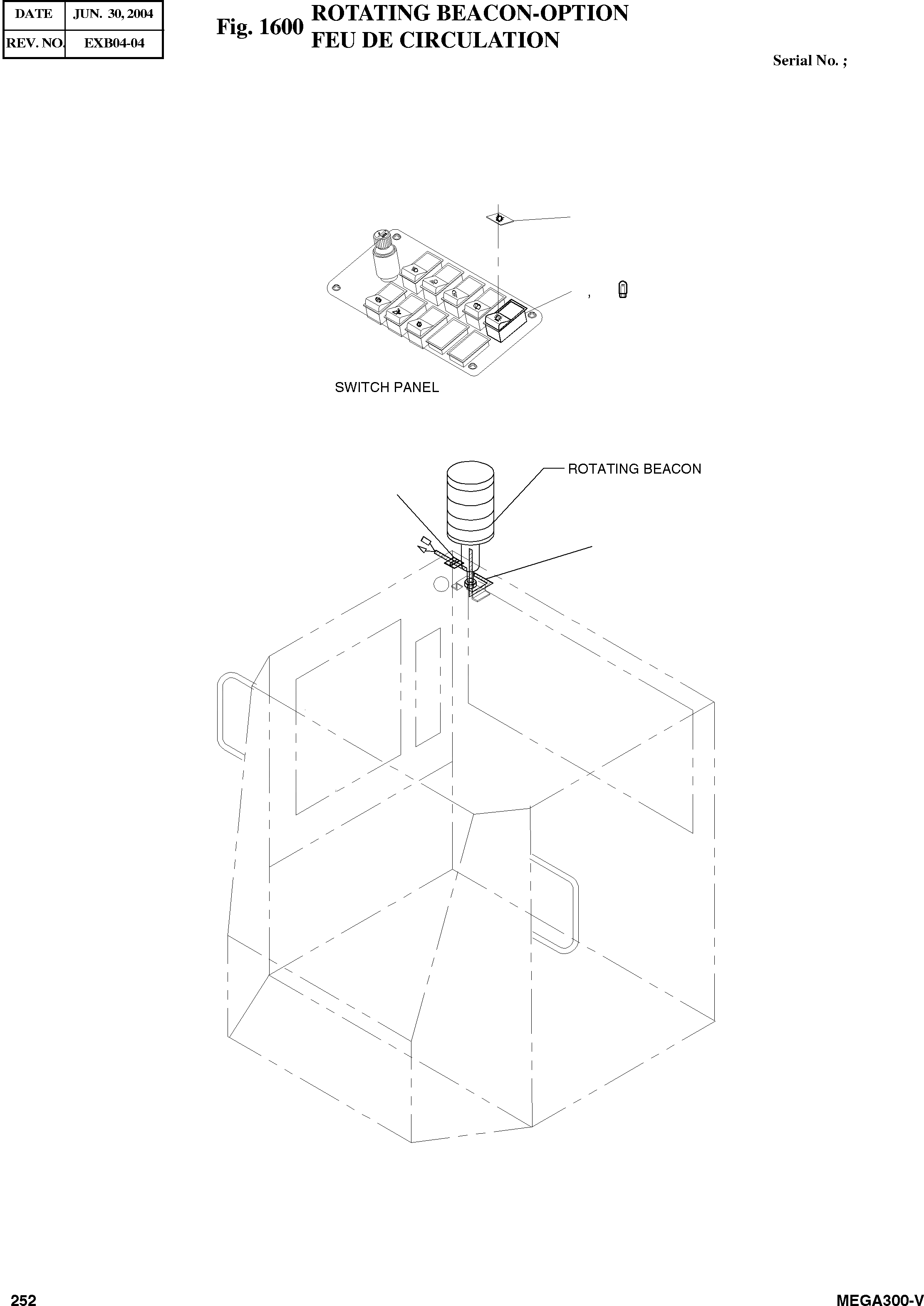
Запчасти Doosan Daewoo ROTATING BEACON-OPTION BODY PARTS

4
3
1
2
1A
FIT
1:1
100%

Артикул

Название

Примечание

Количество

-

4534-1177

ROTAING BEACON ASS'Y

SC: D

-2шт.

1

2549-9098

SWITCH;ROTATING BEACON

desc: COMMUTATEUR

1шт.

1A

K9000353

LAMP;PILOT

desc: . LAMPE

1шт.

2

2190-2036D10

INSERT;BEACON

desc: INSERTION

1шт.

3

4530-1759A

HARNESS;BEACON

desc: FAISCEAU

1шт.

4

2128-1209D1

CLAMP;METAL

desc: COLLIER

1шт.

Выбрано товаров: 6