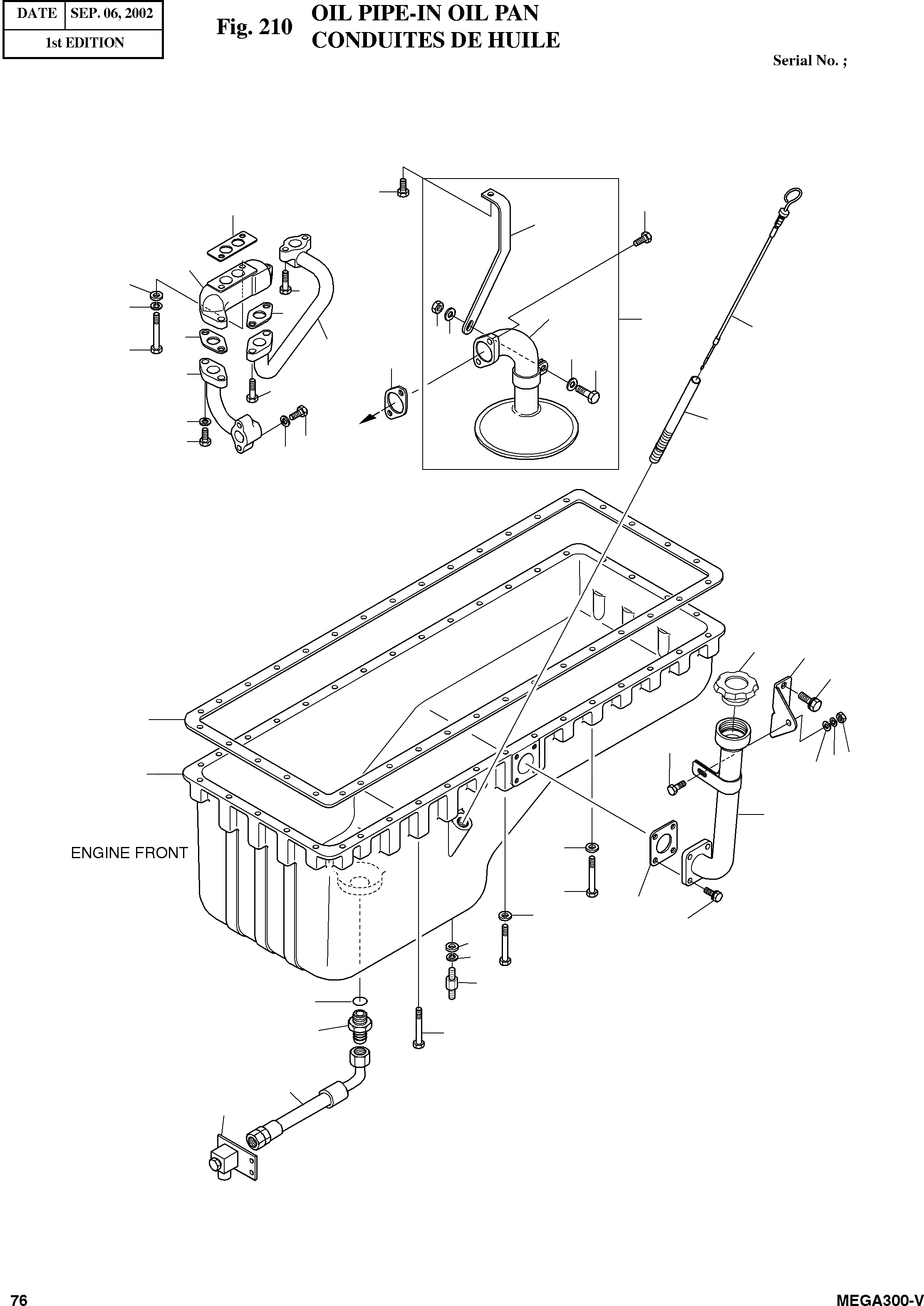
Запчасти Doosan Daewoo OIL PIPE-IN OIL PAN ENGINE PARTS

7
9
15
3
16
17
22
18
12
2
1
43
6
12
4
20
4
19
10
5
11
23
13
44
14
14
13
54
48
49
25
50
53
52
51
24
45
27
33
46
27
47
27
26
31
34
35
36
32
41
42
FIT
1:1
100%

Артикул

Название

Примечание

Количество

1

65.05701-6075A

OIL SUCTION PIPE ASS'Y

desc: CONDUITES DE HUILE

1шт.

2

65.05701-5635

OIL SUCTION PIPE ASS'Y

desc: . CONDUITES DE HUILE

1шт.

3

65.05740-0096

HOLDER;OIL SUCTION PIPE

desc: . SUPPORT

1шт.

4

06.15010-2311

WASHER

desc: . RONDELLE

2шт.

5

06.01283-7114

BOLT;HEX. M18X1.25X22

desc: . BOULON A 6 PANS

1шт.

6

65.90510-0012

NUT;CLEVELOC M8

desc: . ECROU DE BLOCAGE

1шт.

7

06.01923-3111

BOLT;HEX. M8X16

desc: BOULON 6 PANS

1шт.

9

06.01923-3113

BOLT;HEX. M8X1.25X20

desc: BOULON A 6 PANS

2шт.

10

65.96601B0019

GASKET(OIL SUCTION PIPE)

desc: JOINT(TUBE D'ASPIRATION D'HUILE)

1шт.

11

65.05701-5153

OIL PIPE ASS'Y

desc: ENSEMBLE CONDUITES D'HUILE(CARTER-BRIDE)

1шт.

12

65.96601-0050

GASKET OIL PUMP FLANGE

desc: JOINT(BRIDE CONDUITE D'HUILE)

4шт.

13

06.16731-2107

WASHER;SPRING

desc: RONDELLE ELASTIQUE

4шт.

14

06.01283-7113

BOLT;HEX. M8X1.25X20

desc: BOULON A 6 PANS

4шт.

15

65.05903B0003

GASKET;FLANGE

desc: JOINT(BRIDE DE RACCORDEMENT)

1шт.

16

65.05715-5001

CONNECTING FLANGE ASS'Y

desc: ENSEMBLE BRIDE DE RACCORDEMENT

1шт.

17

06.15010-2311

WASHER

desc: RONDELLE

2шт.

18

06.16731-2107

WASHER;SPRING

desc: RONDELLE ELASTIQUE

2шт.

19

06.02090-0422

BOLT;SOCKET HEAD

desc: BOULON A 6 PANS

2шт.

20

65.05701-5230

OIL PIPE ASS'Y

desc: ENSEMBLE CONDUITE D'HUILE(BRIDE-BLOC)

1шт.

22

65.90001-6006

BOLT;SOCKET HEAD M8X25

desc: BOULON A 6 PANS

2шт.

23

06.01923-3113

BOLT A'SSY M8X20

desc: BOULON A 6 PANS

2шт.

24

65.05801-5196B

OIL PAN ASS'Y

desc: CARTER DE HUILE

1шт.

25

65.05904A0016

GASKET(OIL PAN)

desc: JOINT DE CARTER D'HUILE

1шт.

26

06.16731-2107

WASHER;SPRING

desc: RONDELLE ELASTIQUE

1шт.

27

06.15010-2311

WASHER;PLAIN

desc: RONDELLE

28шт.

31

06.01913-7127

BOLT;HEX. M8X80

desc: BOULON A 6 PANS

4шт.

32

06.01923-3126

BOLT;HEX. M8X75

desc: BOULON A 6 PANS

9шт.

33

06.01913-3121

BOLT;HEX. M8X1.25X50

desc: BOULON A 6 PANS

23шт.

34

65.90201-0105

STUD;BOLT

desc: BOULON A 6 PANS

1шт.

35

06.56190-0732

RING;SEAL A30X36

desc: CONTACT DE NIVEAU D'HUILE

1шт.

36

65.98130-0203

ADAPTER

desc: RACCORD ADAPTATEUR

1шт.

41

65.96340-5013A

HOSE;DRAIN

desc: TUYAU

1шт.

42

65.98125-5004A

COCK;DRAIN

desc: RACCORD ADAPTATEUR

1шт.

43

65.05805-5189

GAUGE;OIL LEVEL

desc: GAUGE

1шт.

44

65.05806-5098

TUBE;GUIDE

desc: TUYAU

1шт.

45

65.01813-5018

PIPE;OIL FILLER

desc: CONDUITES

1шт.

46

65.05903-0025

GASKET

desc: JOINT

1шт.

47

06.01913-3114

BOLT ASS'Y M8X22

desc: BOULON A 6 PANS

4шт.

48

65.01840-0003

BRACKET

desc: SUPPORT

1шт.

49

06.01913-3211

BOLT ASS'Y

desc: BOULON A 6 PANS

2шт.

50

06.01283-7115

BOLT;HEX. M8X25

desc: BOULON A 6 PANS

1шт.

51

06.15010-2311

WASHER;PLAIN

desc: RONDELLE

1шт.

52

06.16731-2107

WASHER;SPRING

desc: RONDELLE ELASTIQUE

1шт.

53

06.11063-8214

NUT;HEX. M8

desc: ECROU 6 PANS

1шт.

54

65.01810-5007

CAP;OIL FILLER

desc: VIBREUR

1шт.

Выбрано товаров: 0