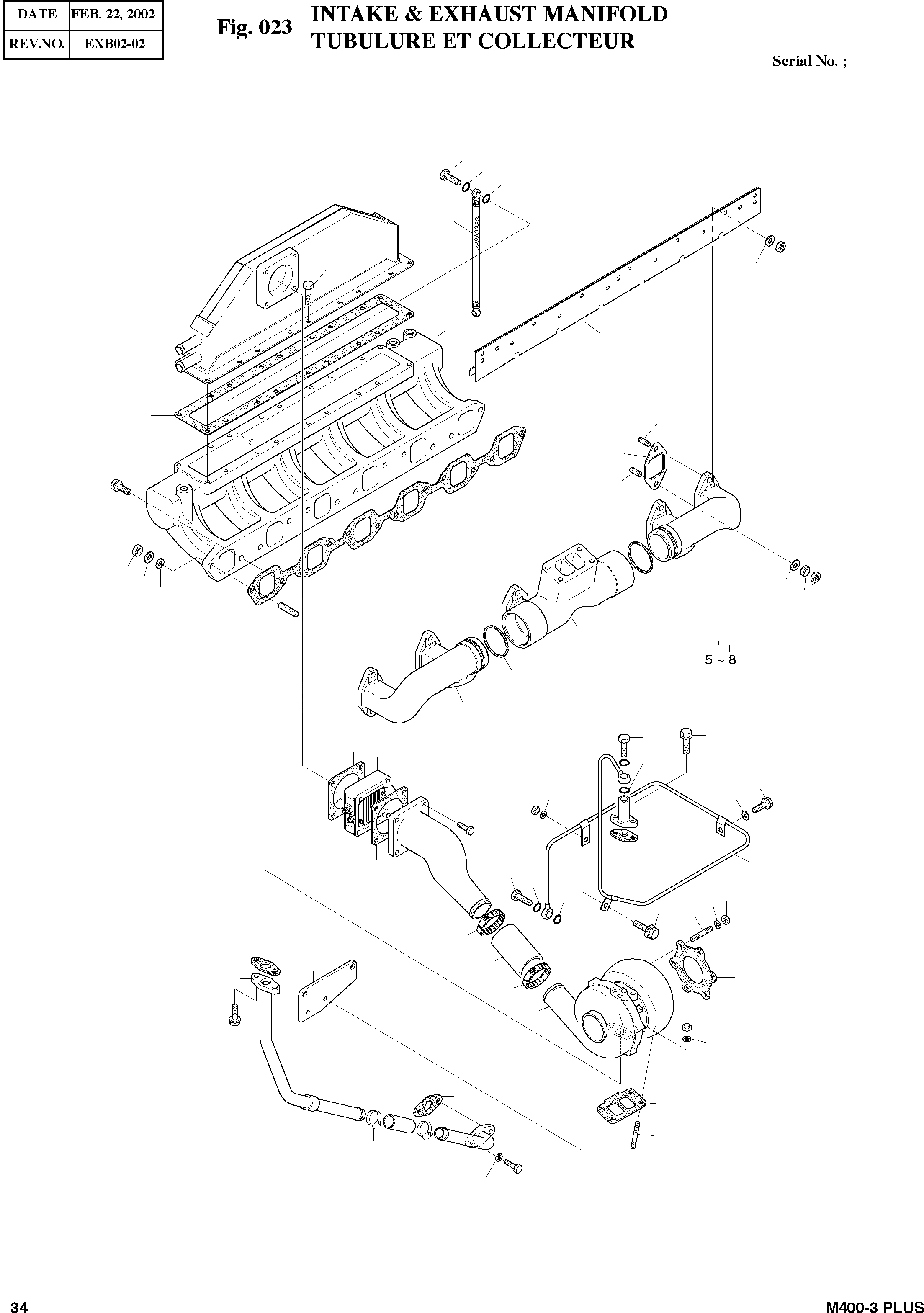
Запчасти Doosan Daewoo INTAKE & EXHAUST MANIFOLD ENGINE PARTS

58
59
59
57
80
10
11
24
79
37
81
1
27
3
2
26
7
74
10
72
11
73
8
4
6
71
8
5
49
51
28
29
50
34
11
35
10
70
48
14
15
28
51
41
50
68
50
67
78
66
38
17
77
39
16
18
38
13
19
56
55
23
36
53
20
21
20
22
19-2
19-1
FIT
1:1
100%

Артикул

Название

Примечание

Количество

1

06.06226-0811

BOLT;STUD M10Ўї45

SERIAL: 991119

6шт.

1

65.90201-0094

Bolt. Stud

SERIAL: 991120

6шт.

2

65.90201-0154

BOLT;STUD M12X1.5X10

desc: GOUJON

6шт.

3

65.08901A0012

GASKET

desc: JOINT DE COLLECTEUR D'ECHAPPEMENT

6шт.

4

65.08100-6059

EXHAUST MANIFOLD ASS'Y

desc: COLLECTEUR

1шт.

5

65.08101-0181A

MANIFOLD(FF)

desc: . COLLECTEUR

1шт.

6

65.08101-0525

MANIFOLD(CENTER)

desc: . COLLECTEUR

1шт.

7

65.08101-0183A

MANIFOLD(RR)

desc: . COLLECTEUR

1шт.

8

65.08105-0001

RING;SEAL

desc: . BAGUE D'ETANCHEITE

4шт.

10

06.15010-2312

WASHER

desc: RONDELLE

12шт.

11

06.11063-8215

NUT;HEX. M10

desc: ECROU 6 PANS M10

22шт.

13

65.09100-7190

TOURBO CHARGER ASS'Y

desc: TURBO CHAGER

1шт.

14

65.96601-0046A

GASKET;OIL DELIVERY

desc: JOINT

1шт.

15

65.05701-5652

PIPE;OIL(B/L-T/C)

desc: TUYAU D'HUILE

1шт.

16

65.09901-0015

GASKET;T/C

SERIAL: 980408

1шт.

16

65.08901-0063

GASKET;T/C

SERIAL: 980409

1шт.

17

65.05903-0030A

GASKET(OIL RETURN)

desc: JOINT

1шт.

18

65.05701-5653A

PIPE;T/C OIL RETURN

desc: TUYAU D'HUILE

1шт.

19

06.01913-3114

BOLT M8X22

desc: BOULON A 6 PANS

2шт.

19-1

06.01943-3317

BOLT A'SSY M12X1.5X30

desc: BOULON A 6 PANS

2шт.

19-2

06.15010-2313

WASHER PL 12

desc: BOULON A 6 PANS

2шт.

20

06.67020-0106

CLAMP;HSOE

desc: COLLIER

2шт.

21

51.96330-0346

HOSE;RUBBER

SERIAL: 000220

1шт.

21

65.96301-0327

HOSE;RUBBER

SERIAL: 000221

1шт.

22

65.05701-5654

PIPE;T/C OIL RETURN

desc: TUYAU D'HUILE

1шт.

23

65.96601-0045A

GASKET;OIL DELIVERY

desc: JOINT

1шт.

24

65.08201-5364B

MANIFOLD;INTAKE

desc: COLLECTEUR

1шт.

26

65.08902-0025

GASKET;INTAKE

desc: JOINT

1шт.

27

06.01923-3218

BOLT

desc: BOULON A 6 PANS

8шт.

28

65.09904-0008

GASKET

desc: JOINT

2шт.

29

65.26803-7028

HEATER;AIR

desc: RECHAUFFEUR D'AIR

1шт.

34

06.01943-3317

BOLT

desc: BOULON A 6 PANS

2шт.

35

06.15010-2313

WASHER;PLAIN

desc: RONDELLE 13

2шт.

36

65.09901-0016

GASKET (TURBO CHARGER)

SERIAL: 980408

1шт.

36

65.09901-0025

GASKET (TURBO CHARGER)

SERIAL: 980409

1шт.

37

65.08120-5008F

SCREEN;HEAT

desc: SCREEN

1шт.

38

06.67020-0112

CLAMP;HOSE

desc: COLLIER A DURITE NWS5748

2шт.

39

65.96301-0268

HOSE;RUBBER

desc: TUYAU

1шт.

41

65.09411-0055

PIPE;AIR

desc: CONDUITE

1шт.

48

65.98131-5008

FLANGE ASS'Y

desc: BRIDE

1шт.

49

06.01913-3113

BOLT M8X22

desc: BOULON A 6 PANS

2шт.

50

06.56180-0714

RING;SEAL

desc: BAGUE D'ETANCHEITE

4шт.

51

06.78144-2403

SCREW;HOLLOW

desc: VIS CREUSE

2шт.

53

06.06226-0808

BOLT;STUD M10X30

desc: GOUJON M10x30

4шт.

55

06.16731-2108

WASHER;SPRING

desc: RONDELLE

4шт.

56

06.11063-8215

NUT;HEX. M10

desc: ECROU 6 PANS M10

4шт.

57

65.08301-6012

HOSE;BUCOM

desc: TUYAU

1шт.

58

65.98150-0053B

SCREW;HOLLOW

desc: VIS CREUSE

1шт.

59

06.56180-0714

RING;SEAL

desc: BAGUE D'ETANCHEITE

2шт.

66

65.90201-0181

BOLT;STUD

desc: GOUJON

6шт.

67

06.16731-2108

WASHER;SPRING

desc: RONDELLE

6шт.

68

06.11063-8215

NUT;HEX

desc: ECROU 6 PANS M10

6шт.

70

06.01923-3125

BOLT A'SSY M8X70

desc: BOULON A 6 PANS

4шт.

71

65.90201-0080

BOLT;STUD

desc: GOUJON

2шт.

72

06.16731-2108

WASHER;SPRING

desc: RONDELLE

2шт.

73

06.15010-2312

WASHER;PLAIN

desc: RONDELLE

2шт.

74

06.11063-8215

NUT;HEX. M10

desc: ECROU 6 PANS M10

2шт.

77

65.05740-5002

BRACKET

desc: SUPPORT

1шт.

78

06.01923-3114

BOLT M8X22

desc: BOULON A 6 PANS

1шт.

79

65.09501-7002

INTERCOOLER ASS'Y

desc: REFREGERATOR

1шт.

80

06.01923-3113

BOLT

desc: BOULON A 6 PANS

18шт.

81

65.09905-0003

GASKET

desc: JOINT

1шт.

Выбрано товаров: 62