Запчасти Doosan Daewoo CAB(1)-STEEL FRONT PARTS

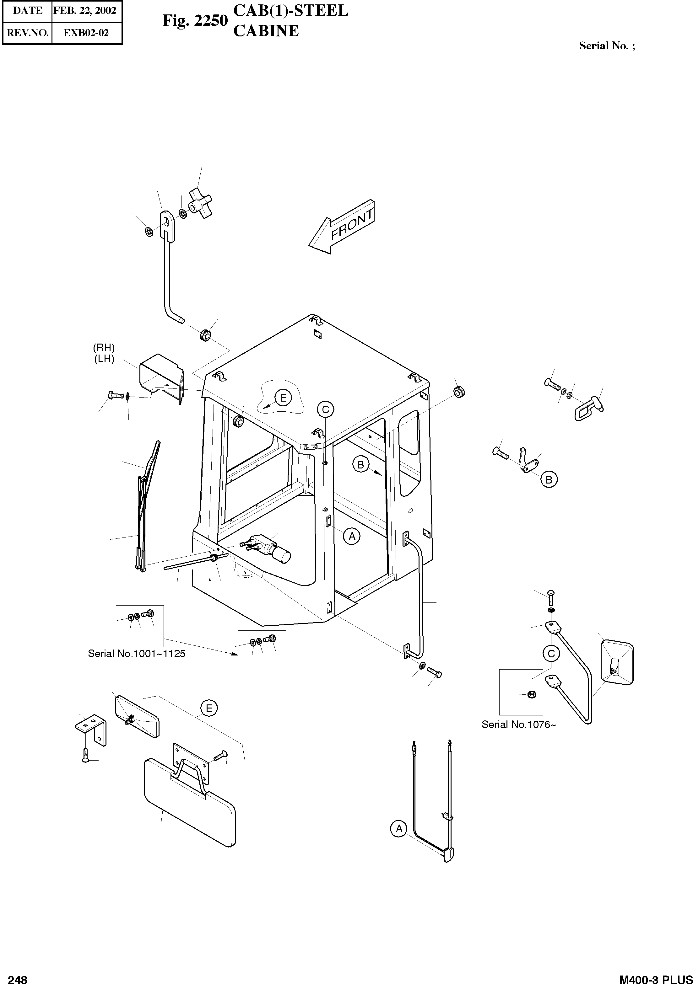
29
37
28
37
60
74
30
76
73
31
75
1
41
33
14
15
32
13
61
57
56
58
60
59
78
65
67
66
82
67
66
37
42
47
77
43
44
40
52
16
17
18
19
FIT
1:1
100%

Артикул

Название

Примечание

Количество

-

4622-1474C

CABIN ASS'Y

SERIAL: 1001-1065

1шт.

-

4622-1474E

CABIN ASS'Y

SERIAL: 1066-1075

1шт.

-

4622-1474G

CABIN ASS'Y

SERIAL: 1076-1125

1шт.

-

4622-1474J

CABIN ASS'Y

SERIAL: 1126-1200

1шт.

-

4622-1474L

CABIN ASS'Y

SERIAL: 1201-1289

1шт.

-

4622-1474M

CABIN ASS'Y

SERIAL: 1290

1шт.

1

-

CABIN BODY

SC: D

1шт.

13

4195-4850A

SUPPORT

SERIAL: 1001-1075

2шт.

13

4195-4850B

SUPPORT

SERIAL: 1076

2шт.

14

S0508553

BOLT M8X1.25X14

SERIAL: 1001-1075

4шт.

14

S0512253

BOLT M10X1.5X30

SERIAL: 1076

4шт.

15

S5102503

WASHER;SPRING M8

SERIAL: 1001-1075

4шт.

15

S5010613

WASHER;SPRING M10

SERIAL: 1076

4шт.

16

4195-4852A

COVER;LAMP(R.H.)

desc: COUVERCLE

1шт.

17

4195-4851A

COVER;LAMP(L.H.)

desc: COUVERCLE

1шт.

18

S0511653

BOLT M10X1.6X16

desc: BOULON A 6 PANS M10X1.5X16

4шт.

19

S5102603

WASHER;SPRING M10

desc: RONDELLE ELASTIQUE M10

4шт.

28

4145-1271A

STAY

desc: ENTRETOISE

1шт.

29

4132-1139

KNOB ASS'Y

desc: BILLE

1шт.

30

2160-1004D4

GROMMET

desc: COUSSINET

1шт.

31

2160-1004D25

BUSHING;RUBBER

desc: MANCHON CAOUTCHOUC

2шт.

32

4150-1118

HOOK

desc: CROCHET

1шт.

33

S3452353

SCREW M3X0.5X12

desc: VIS

2шт.

37

S5010613

WASHER;PLAIN M10

desc: RONDELLE

10шт.

40

4464-9402

SUN VISOR

SERIAL: 1001-1125

1шт.

40

4464-9402A

SUN VISOR

SERIAL: 1126

1шт.

41

S3452843

SCREW M5X0.0X14

desc: VIS

4шт.

42

2903-6006

MIRROR;ROOM

desc: RETROVISEUR INTERIEUR

1шт.

43

4191-3360

PLATE

desc: PLAQUE

1шт.

44

S3452963

SCREW M6X1.0X14

desc: VIS

2шт.

47

S0511853

BOLT M10X1.5X20

desc: BOULON A 6 PANS

8шт.

52

2541-1004

ANTENNA

desc: ANTENNE

1шт.

56

4554-9401-01

MOTOR;WIPER

SERIAL: 1001-1125

1шт.

56

4538-9017

MOTOR;WIPER

SERIAL: 1126

1шт.

57

4554-9401-03

BLADE;WIPER

SERIAL: 1001-1125

1шт.

57

4507-9003

BLADE;WIPER

SERIAL: 1126

1шт.

58

4554-9401-02

ARM;WIPER

SERIAL: 1001-1125

1шт.

58

4541-9024

ARM;WIPER

SERIAL: 1126

1шт.

59

-

WATER HOSE

desc: RONDELLE

1шт.

60

2160-1004D8

GROMMET

desc: MANCHON CAOUTCHOUC

3шт.

61

2903-9009

MIRROR;MAIN

desc: RETROVISEUR INTERIEUR

2шт.

62

4530-1481A

HARNESS;CABIN

desc: FAISCEAU

1шт.

63

4530-1482A

HARNESS;FRONT

desc: FAISCEAU

1шт.

65

S0504853

BOLT M6X1.0X20

SERIAL: 1001-1125

1шт.

66

S5010313

WASHER;PLAIN M6

desc: RONDELLE

11шт.

67

S5102303

WASHER;SPRING

desc: RONDELLE ELASTIQUE M6

11шт.

73

2199-9058

HAMMER

desc: MARTEAU

1шт.

74

S3458602

SCREW M4X0.7X16

desc: VIS

2шт.

75

S5102101

WASHER;SPRING M4

desc: RONDELLE ELASTIQUE

2шт.

76

S5000111

WASHER;PLAIN M4

desc: RONDELLE PLATE

2шт.

77

S4012633

NUT M10X1.5

SERIAL: 1076

4шт.

78

4172-4015B

HANDLE

desc: POIGNEE

2шт.

82

S0504453

BOLT M6X1.0X14

SERIAL: 1126

1шт.

Выбрано товаров: 53