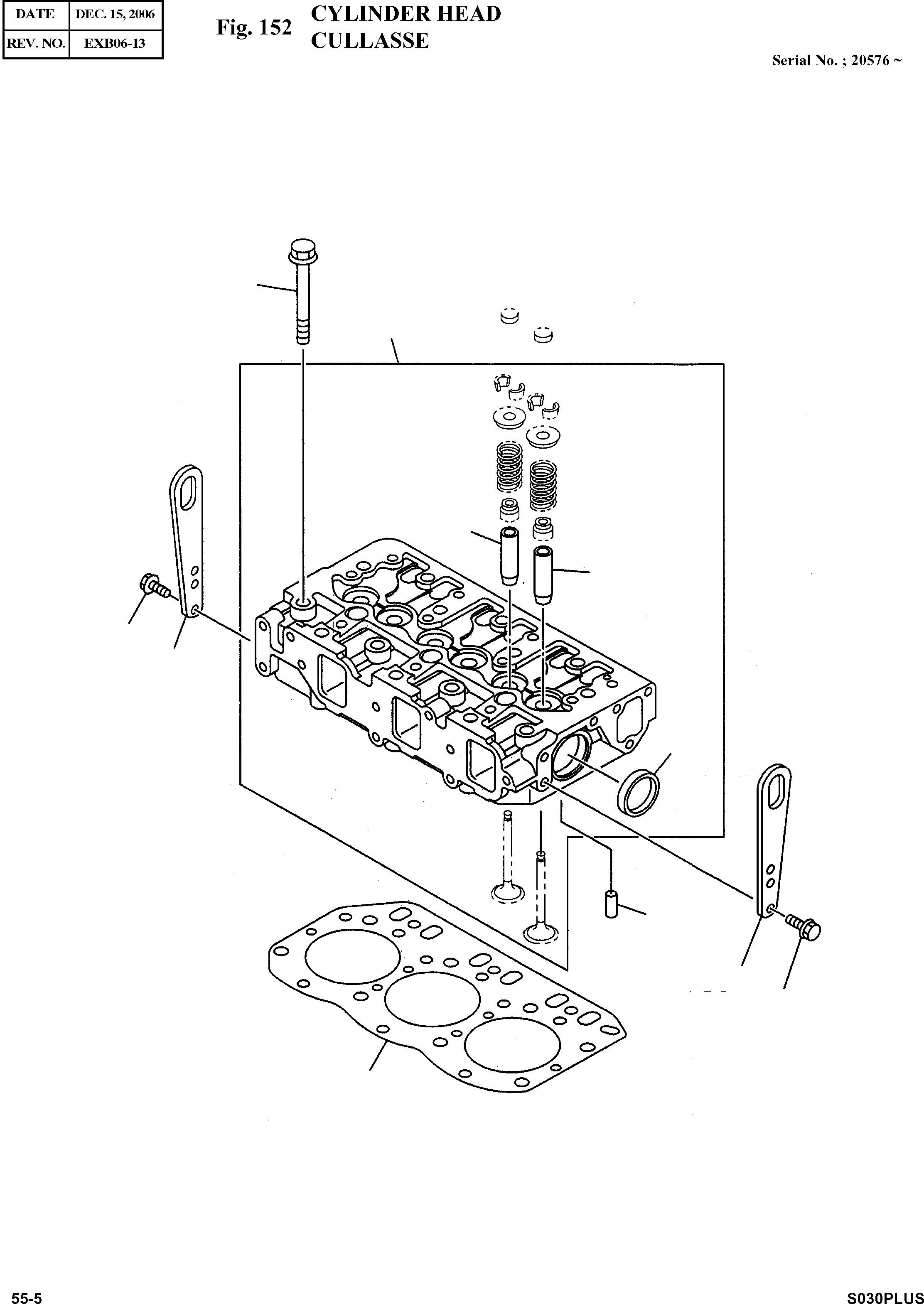
Запчасти Doosan Daewoo CYLINDER HEAD ENGINE PARTS

3
1
13
190
7
244
190
13
2
4C
4B
FIT
1:1
100%

Артикул

Название

Примечание

Количество

1

586400-1390

CYLINDER HEAD ASS'Y

desc: CULLASSE

1шт.

2

586401-3210

GASKET

desc: JOINT

1шт.

3

586400-1850

BOLT

desc: BOULON A 6 PANS

14шт.

4B

586400-0930

GUIDE;INLET

desc: GUIDE

3шт.

4C

586400-1960

GUIDE;EXHAUST

desc: GUIDE

3шт.

7

586400-3430

CUP

desc: RESSORT

2шт.

13

586400-3190

BOLT

desc: BOULON A 6 PANS

4шт.

190

586400-2800

HANGER

desc: PLATEAU OSCILLANT

2шт.

244

586400-2940

PIN

desc: GOUJON

2шт.

Выбрано товаров: 9