Качественные детали и логистика
Оригинальные и аналоговые запчасти с доставкой по России, Казахстану и Беларуси
©2022 PartSell ООО "Система" ИНН 2463123282 ОГРН 1212400004838
Центральный офис: г. Красноярск, Академика Киренского, д.87, пом.4
Телефон: 8 (800) 777-65-74 Email: zakaz@partsell.ru
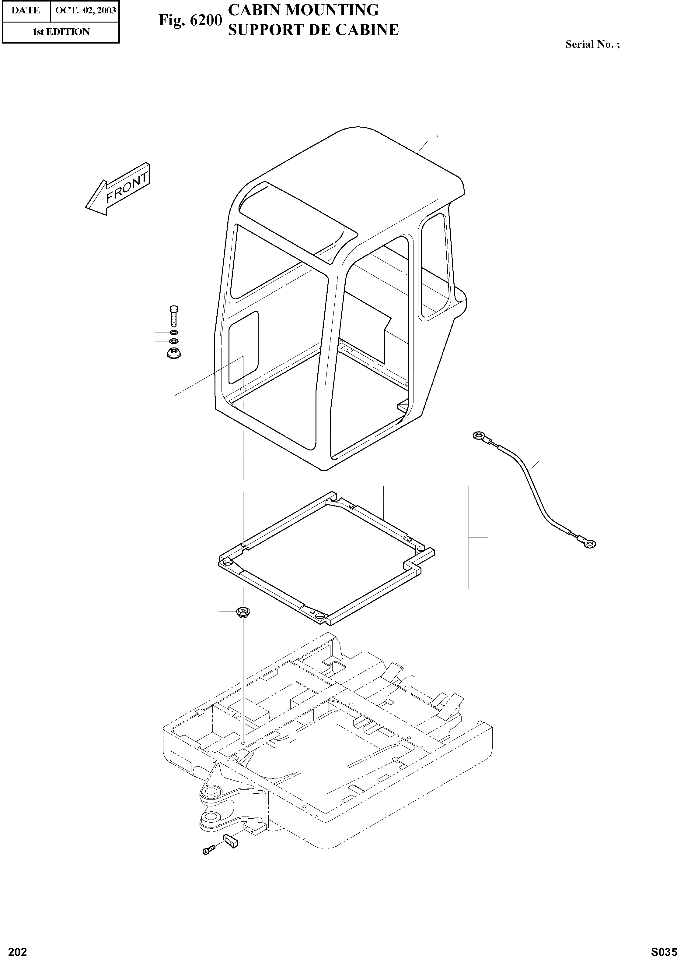
CABIN MOUNTING
№
Артикул
Название
Примечание
Количество
-
2622-7023
SC: D
-2шт.
1
622-00323
CABIN ASS'Y
desc: CABINE
1шт.
2
2128-1207
STOPPER;SWING
desc: ARRET
3
S2212053
BOLT;SOCKET M10X1.5X25
desc: BOULON A 6PANS
2шт.
4
2622-1447A
CABIN MOUNT
4-1
2161-2244A
ABSORBER;RUBBER
desc: . MANCHON CAOUTCHOUC
4-2
854-10004
desc: . PROFILE CAOUTCHOUC EN H
8шт.
4-3
S0561553
BOLT M12X1.75X90
desc: . BOULON A 6PANS
4шт.
4-4
S5102703
WASHER;SPRING M12
desc: . RONDELLE ELASTIQUE
4-5
2114-1058D85
WASHER
desc: . RONDELLE
6
2530-1659
WIRE;EARTH
desc: FIL
7
622-00324
CABIN ASS'Y(TOPS)
Выбрано товаров: 0