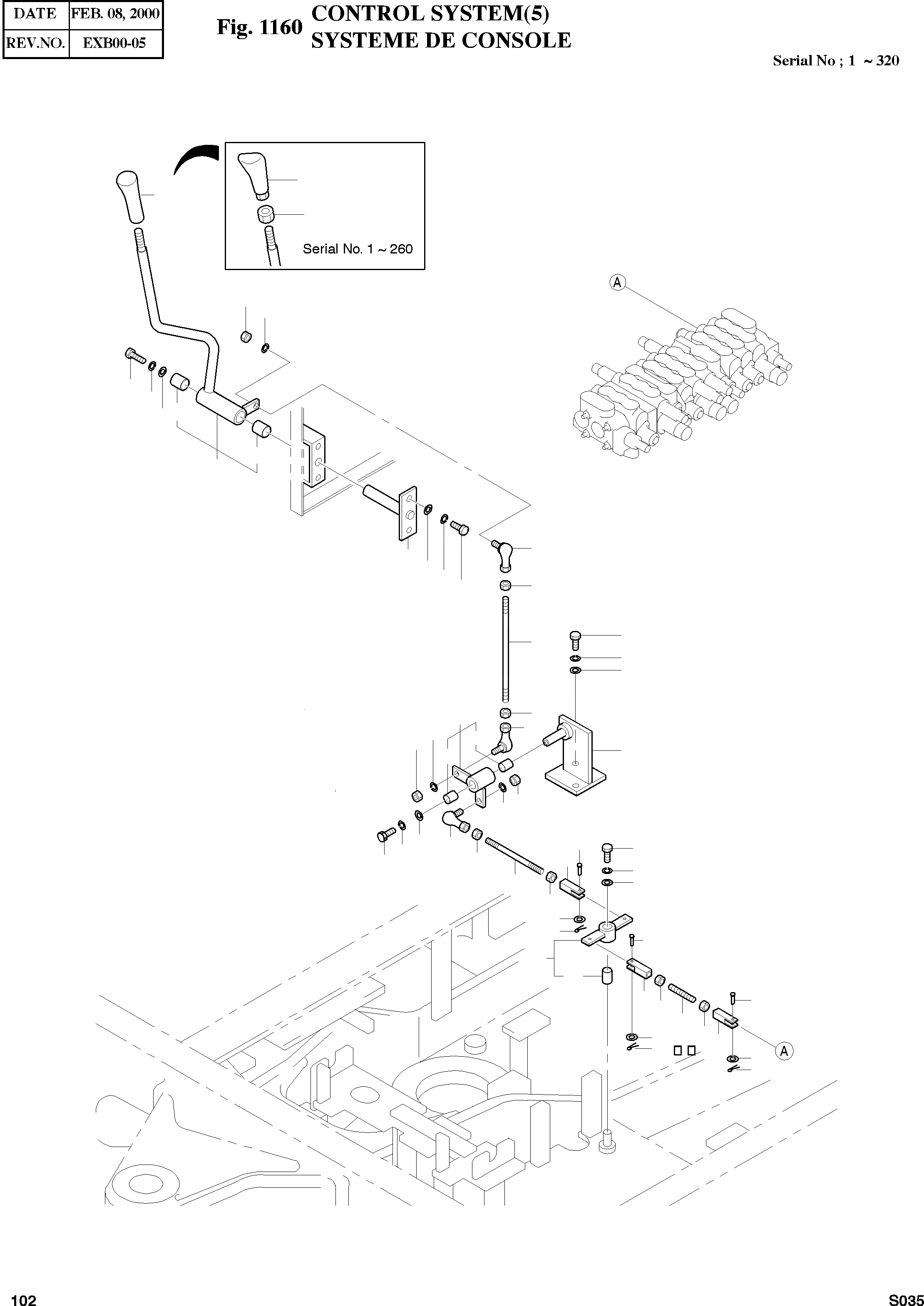
Запчасти Doosan Daewoo CONTROL SYSTEM(5) BODY PARTS

47
4
4
3
17
18
9
10
2
11
2
1
14
5
8
7
13
6
20
12
21
22
15
23
16
18
24
17
19
24
31
32
27
45
30
37
26
34
29
25
38
28
39
33
46
47
45
35
36
42
45
41
40
43
46
44
46
47
FIT
1:1
100%

Артикул

Название

Примечание

Количество

-

2133-7043

CONTROL LEVER

SERIAL: 1-320

-1шт.

1

2133-1981

LEVER;DOZER

SERIAL: 1-8

1шт.

1

2133-1981A

LEVER;DOZER

SERIAL: 9-260

1шт.

1

2133-1981B

LEVER;DOZER

SERIAL: 261

1шт.

2

2110-1184D38

BUSH 23/20-20L

desc: COUSSINET

2шт.

3

S4032833

NUT M14

SERIAL: 1-260

1шт.

4

41301-01610

GRIP

SERIAL: 1-260

1шт.

4

2132-1141

KNOB

SERIAL: 261

1шт.

5

2112-1222

SHAFT

desc: ARBRE

1шт.

6

S0511853

BOLT M10X1.5X20

desc: BOULON A 6 PANS

2шт.

7

S5102603

WASHER;SPRING M10

desc: RONDELLE ELASTIQUE

2шт.

8

S5010613

WASHER;PLAIN M10

desc: RONDELLE PLATE

2шт.

9

S0511853

BOLT M10X1.5X20

desc: BOULON A 6 PANS

1шт.

10

S5102603

WASHER;SPRING M10

desc: RONDELLE ELASTIQUE

1шт.

11

2114-1058D10

WASHER M10

desc: RONDELLE PLATE

1шт.

12

2136-1422

ROD(1)

desc: TIGE

1шт.

13

2121-1298

NUT(L.H) M10X1.5

desc: ECROU

1шт.

14

30621-61020

BALL;LINK(L.H)

SERIAL: 1-285

1шт.

14

2138-9018

BALL;LINK(L.H)

SERIAL: 286

1шт.

15

S4012633

NUT M10X1.5

desc: ECROU

1шт.

16

30621-61010

BALL;LINK

SERIAL: 1-285

1шт.

16

2138-9017

BALL;LINK

SERIAL: 286

1шт.

17

S4012633

NUT M10X1.5

desc: ECROU

2шт.

18

S5102603

WASHER;SPRING M10

desc: RONDELLE ELASTIQUE

2шт.

19

2197-1215A

BRACKET;LINK

desc: SUPPORT

1шт.

20

S0512053

BOLT M10X1.5X25

desc: BOULON A 6 PANS

2шт.

21

S5102603

WASHER;SPRING M10

desc: RONDELLE ELASTIQUE

2шт.

22

S5010613

WASHER;PLAIN M10

desc: RONDELLE PLATE

2шт.

23

2137-1186A

LINK

desc: ARTICULATION

1шт.

24

2110-1184D23

BUSH

desc: COUSSINET

2шт.

25

S0508853

BOLT M8X1.25X20

SERIAL: 1-48

1шт.

25

S0509053

BOLT M8X1.25X25

SERIAL: 49

1шт.

26

S5102503

WASHER;SPRING M8

desc: RONDELLE ELASTIQUE

1шт.

27

2114-1058D29

WASHER M8

desc: RONDELLE PLATE

1шт.

28

2136-1423

ROD(B)

desc: TIGE

1шт.

29

2121-1298

NUT(L.H) M10X1.5

desc: ECROU

1шт.

30

30621-61020

BALL;LINK(L.H)

SERIAL: 1-285

1шт.

30

2138-9018

BALL;LINK(L.H)

SERIAL: 286

1шт.

31

S4012633

NUT M10X1.5

desc: ECROU

1шт.

32

S5102603

WASHER;SPRING M10

desc: RONDELLE ELASTIQUE

1шт.

33

S4012633

NUT M10X1.5

desc: ECROU

1шт.

34

2138-1026

END;ROD(R.H)

SERIAL: 1-296

1шт.

34

2138-1033

END;ROD(L.H)

SERIAL: 297

1шт.

35

2137-1187A

LINK

desc: ARTICULATION

1шт.

36

2110-1184D24

BUSH

desc: COUSSINET

1шт.

37

S0508853

BOLT M8X1.25X20

SERIAL: 1-48

1шт.

37

S0509053

BOLT M8X1.25X25

SERIAL: 49

1шт.

38

S5102503

WASHER;SPRING M8

desc: RONDELLE ELASTIQUE

1шт.

39

2114-1058D29

WASHER M8

desc: RONDELLE PLATE

1шт.

40

2136-1417

ROD

SERIAL: 1-296

1шт.

40

2136-1449

ROD

SERIAL: 297

1шт.

41

2121-1298

NUT(L.H) M10X1.5

desc: ECROU

1шт.

42

2138-1025

END;ROD(R.H)

SERIAL: 1-296

1шт.

42

2138-1032

END;ROD(L.H)

SERIAL: 297

1шт.

43

S4012633

NUT M10X1.5

desc: ECROU

1шт.

44

2138-1026

END;ROD(R.H)

SERIAL: 1-296

1шт.

44

2138-1033

END;ROD(R.H)

SERIAL: 297

1шт.

45

2123-2093

PIN;CLEVIS

desc: BROCHE

3шт.

46

S5000213

WASHER;PLAIN M5

desc: RONDELLE PLATE

3шт.

47

S5735051

PIN;SPLIT

desc: GOUPILLE FENDUE

3шт.

Выбрано товаров: 60