Запчасти Doosan Daewoo TRACK SHOE ASSY-510G FOR STD OPTION PARTS

1-1
1-1H
1-1E
1-1G
1-1G
1-1F
1-1B
1-1J
1-1I
1-1A
1-1D
1-1C
1-3
1-3
1
1-4
1-2
3
1-2
4
2
FIT
1:1
100%

Артикул

Название

Примечание

Количество

-

2272-7099

TRACK SHOE ASS'Y-FOR STD

SC: D

-2шт.

1

2272-1079D1

TRACK SHOE ASS'Y 510G

REP_PNO: 2272-6084AD1

2шт.

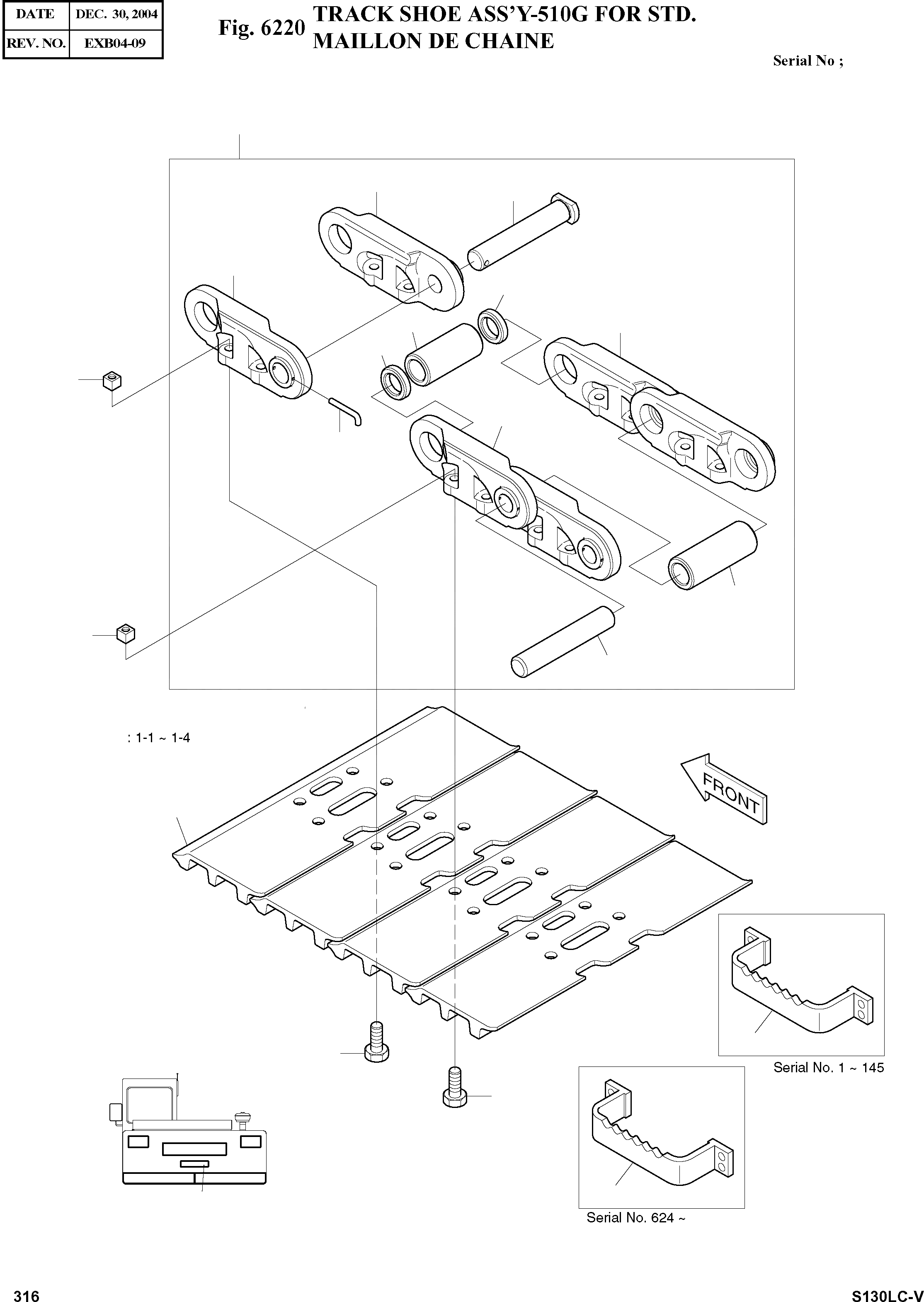
1-1

K9001026

TRACK LINK ASS'Y

desc: . LIEN ASS'Y DE VOIE

1шт.

1-1A

2272-6042

LINK;TRACK(R.H)

desc: .. PIECE DE JONCTION

42шт.

1-1B

2272-6043

LINK;TRACK(L.H)

desc: .. PIECE DE JONCTION

42шт.

1-1C

2123-6035A

PIN;TRACK

desc: .. GOUJON

42шт.

1-1D

2110-6031A

BUSHING;TRACK

desc: .. MANCHON

42шт.

1-1E

2123-6036A

PIN;MASTER

desc: .. GOUPILLE

1шт.

1-1F

2110-6032A

BUSHING;MASTER

desc: .. DOUILLE

1шт.

1-1G

2114-6019

SPACER

desc: .. DOUILLE D'ESPACEMENT

2шт.

1-1H

2272-6044A

LINK;MASTER(R.H)

desc: .. MAILLON PRINCIPAL(DROIT)

1шт.

1-1I

2272-6045A

LINK;MASTER(L.H)

desc: .. MAILLON PRINCIPAL(GAUCHE)

1шт.

1-1J

2123-6037

PIN

desc: .. GOUPILLE

1шт.

1-2

2120-6014

BOLT

desc: . BOULON A 6 PANS

172шт.

1-3

2121-6014

NUT

desc: . ECROU

172шт.

1-4

2273-1025D1

SHOE 510§®

desc: . SABOT

43шт.

2

2195-2527D6

BRACKET

SERIAL: 1-145

4шт.

3

2190-1330D47

PLATE;NAME

desc: PLAQUE SIGNALETIQUES

2шт.

4

2195-2527AD6

BRACKET

SERIAL: 624

4шт.

Выбрано товаров: 19