Запчасти Doosan Daewoo FUEL TANK-KMX13A BODY PARTS

12
13
14
10
15
8
14
15
1
29
28
26
27
20
19
18
11
4
3
2
31
17
30
16
6
3
FIT
1:1
100%

Артикул

Название

Примечание

Количество

-

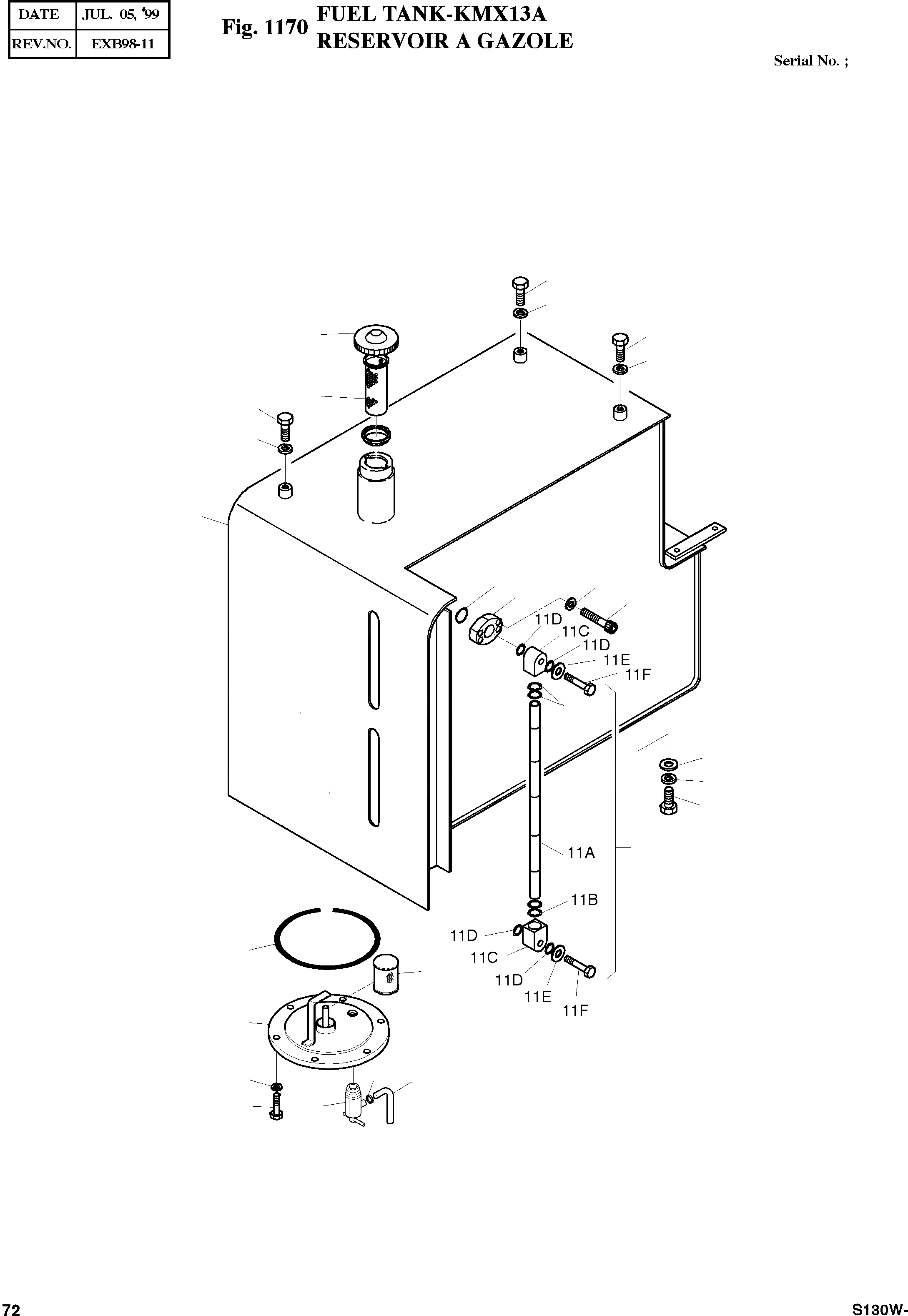
2470-1110

FUEL TANK ASS'Y

SC: D

-2шт.

1

2470-1108

TANK;FUEL

desc: RESERVOIR A GAZOLE

1шт.

2

2473-1033B

COVER

desc: COUVERCLE

1шт.

3

2471-1004B

FILTER

desc: FILTRE

1шт.

4

S8011650

O-RING G165

desc: JOINT TORIQUE

1шт.

6

2186-9001

COCK

desc: ROBINET

1шт.

8

2471-9010A

FILTER

desc: FILTRE

1шт.

10

2188-6005

CAP

SERIAL: 1-430

1шт.

10

2188-6006

CAP

SERIAL: 431

1шт.

11

2119-1052

GAUGE;LEVEL

desc: JAUGE

1шт.

12

2181-1950D1

PLUG PF1/4

desc: BOUCHON

1шт.

13

S8000111

O-RING P11

REP_PNO: 8202-009

1шт.

14

S0514653

BOLT M12X1.75X16

desc: BOULON A 6 PANS

2шт.

15

S5102703

WASHER;SPRING M12

desc: RONDELLE ELASTIQUE

2шт.

16

S0512053

BOLT M10X1.5X25

desc: BOULON A 6 PANS

6шт.

17

S5102603

WASHER;SPRING M10

desc: RONDELLE ELASTIQUE

6шт.

18

S0521351

BOLT M16X2.0X35

desc: BOULON A 6 PANS

4шт.

19

S5102901

WASHER;SPRING M16

desc: RONDELLE ELASTIQUE

4шт.

20

S5010913

WASHER;PLAIN M16

desc: RONDELLE PLATE

4шт.

26

2181-2157D1

FLANGE

desc: BRIDE

1шт.

27

S2212361

BOLT;SOCKET M10X1.5X35

desc: BOULON A 6 PANS CREUX

4шт.

28

S5110601

WASHER;SPRING M10

desc: RONDELLE ELASTIQUE

4шт.

29

2180-1026D2

O-RING SAE3/4

desc: JOINT TORIQUE

1шт.

30

2184-9089

HOSE;VINYL Ґх9

SERIAL: 1861

1шт.

31

S8450006

CLAMP;HOSE

SERIAL: 1861

1шт.

Выбрано товаров: 25