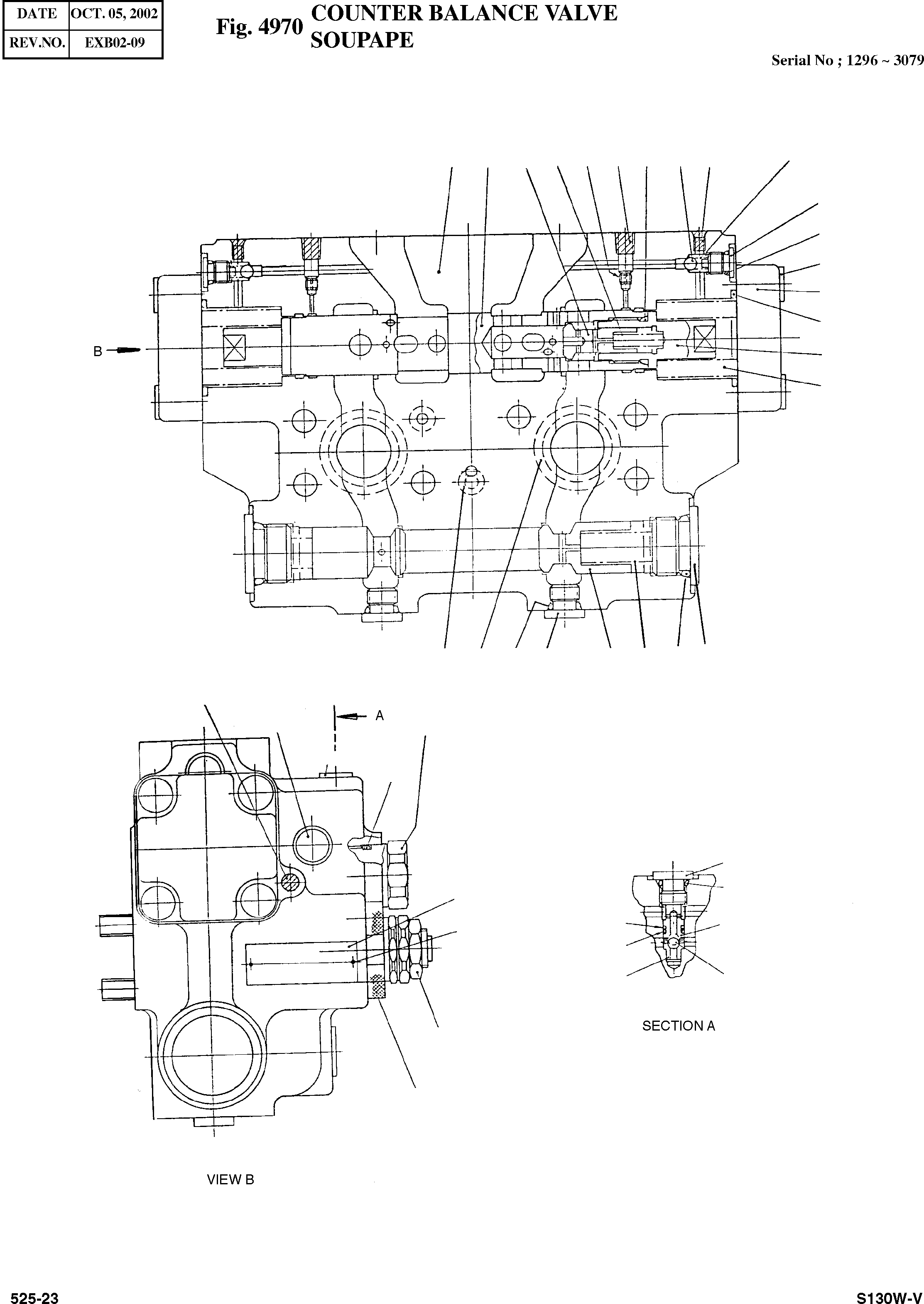
Запчасти Doosan Daewoo COUNTER BALANCE VALVE HYDRAULIC PARTS

11
15
21
1
20
27
2
17
16
3
5
26
28
6
25
4
19
14
18
24
33
22
34
23
8
37
10
35
33
34
38
7
30
39
31
36
12
9
29
FIT
1:1
100%

Артикул

Название

Примечание

Количество

-

J8130K9277-1

VALVE;COUNTER BALANCE

desc: VANNE D'EQUILIBRAGE

1шт.

1

1100301235

BODY

desc: CARROSSERIE

1шт.

2

1100301932

SPOOL

desc: BOBINE

1шт.

3

1100332275

PLUNGER

desc: PLONGEUR

2шт.

4

1100301941

PLUG

desc: BOUCHON

2шт.

5

1198273805

PLUG

desc: BOUCHON

2шт.

6

1100301923

COVER

desc: COUVERCLE

2шт.

7

1100349264

GUIDE

desc: GUIDE

2шт.

8

1100277132

PLUNGER

desc: PLONGEUR

2шт.

9

J2020B9592-0

VALVE;RELIEF

desc: CLAPET DE DECHARGE

2шт.

10

1100332211

PLUG

desc: BOUCHON

1шт.

11

1303007178

BALL

desc: BILLE

2шт.

12

1303007114

BALL

desc: BILLE

2шт.

14

1180791009

PLUG

desc: BOUCHON

2шт.

15

1701538687

PLUG

desc: BOUCHON

2шт.

16

1301891009

PLUG

desc: BOUCHON

2шт.

17

1100111546

ORIFICE

desc: ORIFICE

2шт.

18

1100277114

SPRING

desc: RESSORT

2шт.

19

1100301987

SPRING

desc: RESSORT

2шт.

20

1100301978

SPRING

desc: RESSORT

2шт.

21

1192231209

SPRING

desc: RESSORT

2шт.

22

1301008005

O-RING

SC: K

2шт.

23

1301160002

O-RING

SC: K

2шт.

24

1301208003

O-RING

SC: K

2шт.

25

1301011001

O-RING

SC: K

2шт.

26

1301157006

O-RING

SC: K

2шт.

27

1301190003

O-RING 1BP18 17.8X2.4

SC: K

2шт.

28

1303012024

BOLT;SOCKET

desc: BOULON A 6 PANS CREUX

8шт.

29

1301605009

BOLT;SOCKET

desc: BOULON A 6 PANS CREUX

6шт.

30

1303006899

RING;BACK-UP

SC: K

2шт.

31

1301153004

O-RING

SC: K

2шт.

33

1198273603

PLUG

desc: BOUCHON

4шт.

34

1301169009

O-RING 1BP11 10.8X2.4

SC: K

4шт.

35

1300170008

O-RING

SC: K

1шт.

36

1100349273

SEAT;VALVE

desc: SIEGE DE VALVE

2шт.

37

1701538797

PLUG

desc: BOUCHON

2шт.

38

1100074841

PLATE;NAME

desc: PLAQUE D'IDENTIFICATION

1шт.

39

1303024274

RIVET

desc: RIVET

2шт.

Выбрано товаров: 38