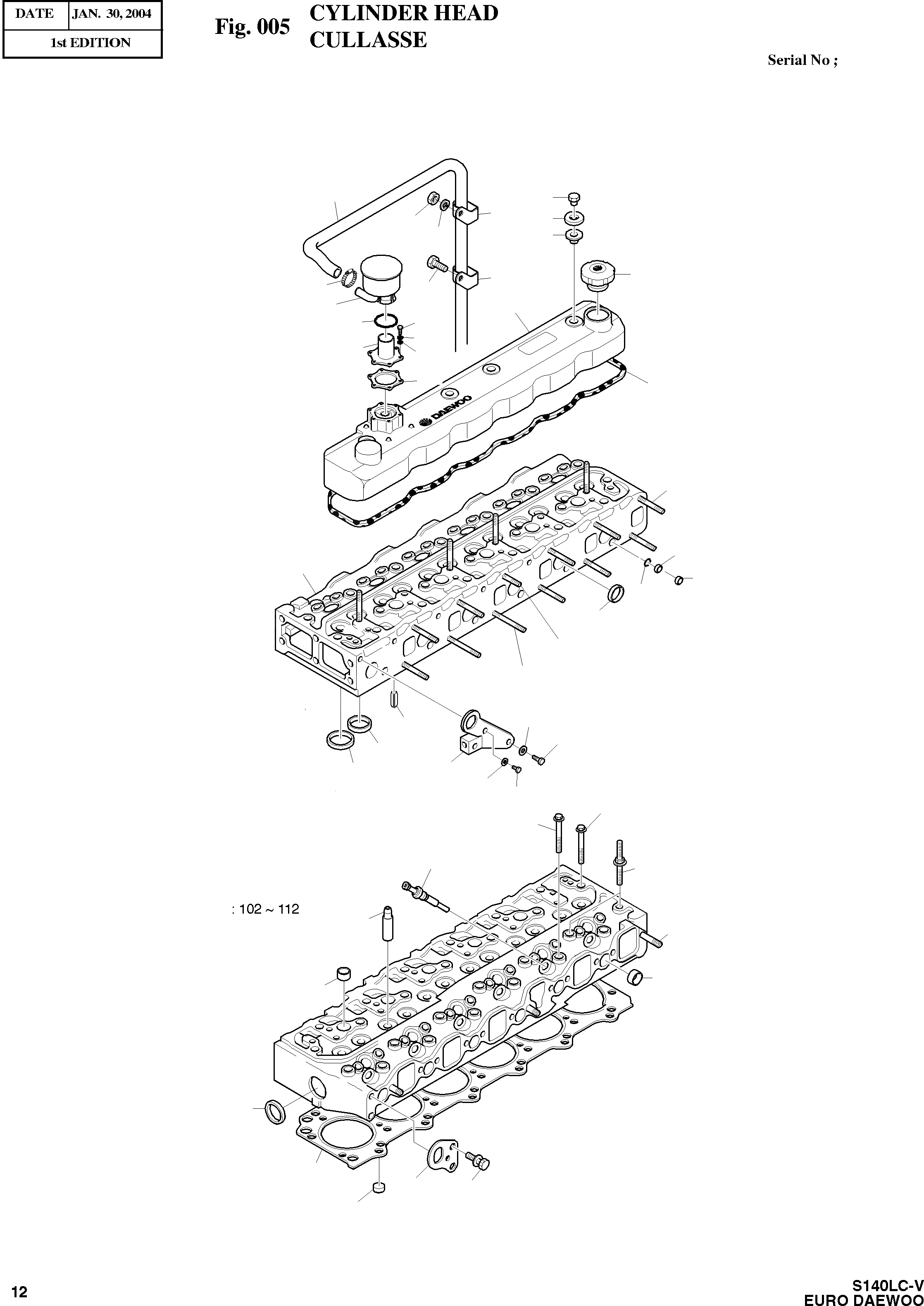
Запчасти Doosan Daewoo CYLINDER HEAD ENGINE PARTS

218
206
228
207
230
208
229
220
228
219
231
201
223
212
224
213
210
214
227
226
117
111
102
113
112
108
118
123
128
119
129
105
124
106
130
131
120
121
132
122
101
104
116
109
109
107
125
133
134
110
FIT
1:1
100%

Артикул

Название

Примечание

Количество

101

65.03101-6069B

CYLINDER HEAD ASS'Y

desc: ENSEMBLE CULASSE

1шт.

102

65.03101-1038E

HEAD;CYLINDER

SC: D

1шт.

104

65.03201-1013

GUIDE;VALVE

SC: D

12шт.

105

65.03203-1054

SEAT;EXHAUST VALVE

SC: D

6шт.

106

65.03203-1053

SEAT;INLET VALVE

SC: D

6шт.

107

65.90302-0015

PLUG;CORE(NEAR FACE)

desc: . BOUCHON

1шт.

108

65.90302-0030

PLUG;CORE(EXHAUST MAIN)

desc: . BOUCHON

6шт.

109

65.90302-0019B

PLUG;CORE

desc: . COUPELLE

11шт.

110

65.90302-0045

PLUG;CORE

desc: . BOUCHON

3шт.

111

65.90302-0027

PLUG;CORE

desc: . BOUCHON

6шт.

112

65.90302-0011

PLUG;DRILLED PASS

desc: . BOUCHON

6шт.

113

65.90302-0017

PLUG;WATER JET CORE

desc: BOUCHON

6шт.

116

06.06225-0706

BOLT;STUD M8X25

desc: BOULON DE GOUJON

3шт.

117

06.06125-8717

BOLT;STUD M8X75

desc: BOULON DE GOUJON

10шт.

118

06.06125-8709

BOLT;STUD M8X35

desc: BOULON DE GOUJON

1шт.

119

65.91710-0004

RING;STOPPER

desc: BAGUE

2шт.

120

65.90021-0002

BOLT;CYLINDER HEAD

SERIAL: 031210

19шт.

120

65.90021-0002

BOLT;CYLINDER HEAD

SERIAL: 031211

18шт.

121

65.90021-0003

BOLT;CYLINDER HEAD

desc: BOULON DE CULASSE

6шт.

122

65.90021-0004

BOLT;CYLINDER HEAD

SERIAL: 031210

1шт.

122

65.90021-0004

BOLT;CYLINDER HEAD

SERIAL: 031211

2шт.

123

06.06125-8723

BOLT;STUD M8X110

desc: BOULON DE GOUJON

1шт.

124

65.19202-5005

HOOK;LIFTING

desc: CROCHET

1шт.

125

65.03901-0066A

GASKET;CYLINDER HEAD

desc: JOINT

1шт.

128

06.16731-2110

WASHER;SPRING

desc: RONDELLE ELASTIQUE

1шт.

129

06.01733-4409

BOLT;HEX M14X1.5X25

desc: BOULON A 6 PANS

1шт.

130

06.16731-2108

WASHER;SPRING

desc: RONDELLE ELASTIQUE

1шт.

131

06.01733-4208

BOLT M10X1.25X22

desc: BOULON A 6 PANS

1шт.

132

65.26815-0002

PLUG;DUMMY

desc: PRISE DE LUEUR

6шт.

133

65.19202-0005

HOOK;LIFTING

desc: CROCHET

1шт.

134

06.01943-3213

BOLT ASS'Y M10X1.25X20

desc: BOULON A 6 PANS

2шт.

201

65.03401-6064

CYLINDER HEAD COVER ASS'Y

desc: COUVRE-CULASSE

1шт.

206

65.90501-0028

NUT;CYLINDER HEAD COVER

desc: ECROU

4шт.

207

65.90701-0202

WASHER;PLATE

desc: RONDELLE

4шт.

208

65.03905-0023A

GASKET;CYL. HEAD COVER

desc: JOINT

4шт.

210

65.01801-0011

CASE;BREATHER

desc: BOITE

1шт.

212

06.04190-8808

BOLT M5X16

desc: BOULON A 6 PANS

6шт.

213

06.16731-2104

WASHER;SPRING

desc: RONDELLE ELASTIQUE

6шт.

214

06.15010-0308

WASHER;PLAIN

desc: RONDELLE PLATE

6шт.

218

65.96301-0362

HOSE;RUBBER

desc: TUYAU FLEXIBLE

1шт.

219

06.67020-0105

CLAMP

desc: ATTACHE

1шт.

220

65.01810-5007

CAP;OIL FILLER

desc: VIBREUR

1шт.

223

65.01801-5035

BREATHER PIPE ASS'Y

desc: CLAPET DE RECHANGE

1шт.

224

65.96501-0032B

O-RING

desc: JOINT TORIQUE

1шт.

226

65.03905-0002B

GASKET;CYLINDER HEAD COVER

desc: RONDELLE D'ETANCHEITE

1шт.

227

65.03903-0001

PACKING;COVER

desc: EMBALLAGE

1шт.

228

65.97401-0179

CLIP;WATER HOSE

desc: CLIP

2шт.

229

06.16731-2107

WASHER;SPRING

desc: RONDELLE ELASTIQUE

1шт.

230

06.11063-8214

NUT;HEX M8

desc: ECROU 6 PANS

1шт.

231

06.01913-3111

BOLT ASS'Y M8X16

desc: BOULON A 6 PANS

1шт.

Выбрано товаров: 50