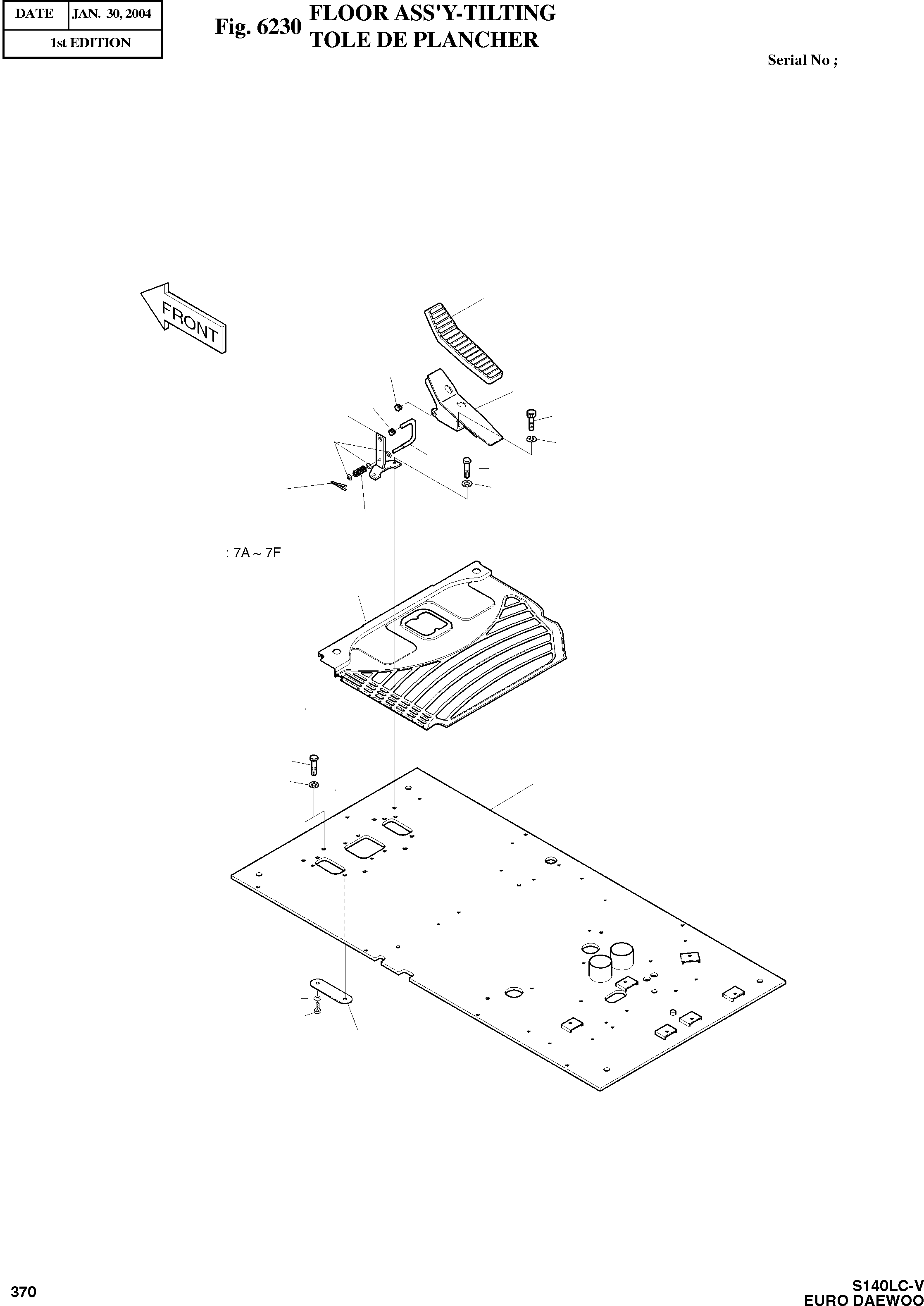
Запчасти Doosan Daewoo FLOOR ASSY-TILTING OPTION PARTS

5
12
4
10
11
8
9
7
1
8
2
9
6
13
3
7F
7A
7D
7E
7C
7B
FIT
1:1
100%

Артикул

Название

Примечание

Количество

-

621-02827

FLOOR ASS'Y

SC: D

-2шт.

1

161-00448

MAT;FLOOR

desc: PLAQUE

1шт.

2

621-02300

PLATE;FLOOR

desc: PLAQUE

1шт.

3

621-01507

PLATE;FLOOR

desc: PLAQUE

1шт.

4

195-01736

BRACKET;PEDAL(R.H)

desc: SUPPORT

1шт.

5

161-00386

RUBBER;PEDAL

desc: CAOUTCHOUC

1шт.

6

2114-1898D1

WASHER

desc: RONDELLE

2шт.

7

195-01940

BRACKET

desc: SUPPORT

1шт.

7A

195-01937

BRACKET

SC: D

1шт.

7B

133-00167

BAR

SC: D

1шт.

7C

129-00144

SPRING

SC: D

1шт.

7D

2114-1898D14

WASHER

SC: D

1шт.

7E

S5735351

PIN;SPLIT

SC: D

1шт.

7F

160-00045

BUSHING;RUBBER

SC: D

1шт.

8

2120-2166D5

BOLT M8X1.25X20

desc: BOULON A 6 PANS

4шт.

9

2114-1898D14

WASHER

desc: RONDELLE

4шт.

10

S2211866

BOLT;SOCKET M10X1.5X20

desc: BOULON A 6 PANS CREUX

2шт.

11

S5110601

WASHER;SPRING

desc: RONDELLE ELASTIQUE

2шт.

12

160-00045

BUSHING;RUBBER

desc: GARNISSAGE CAOUTCHOUC

1шт.

13

S0511653

BOLT M10X1.5X16

desc: BOULON A 6 PANS

2шт.

Выбрано товаров: 20