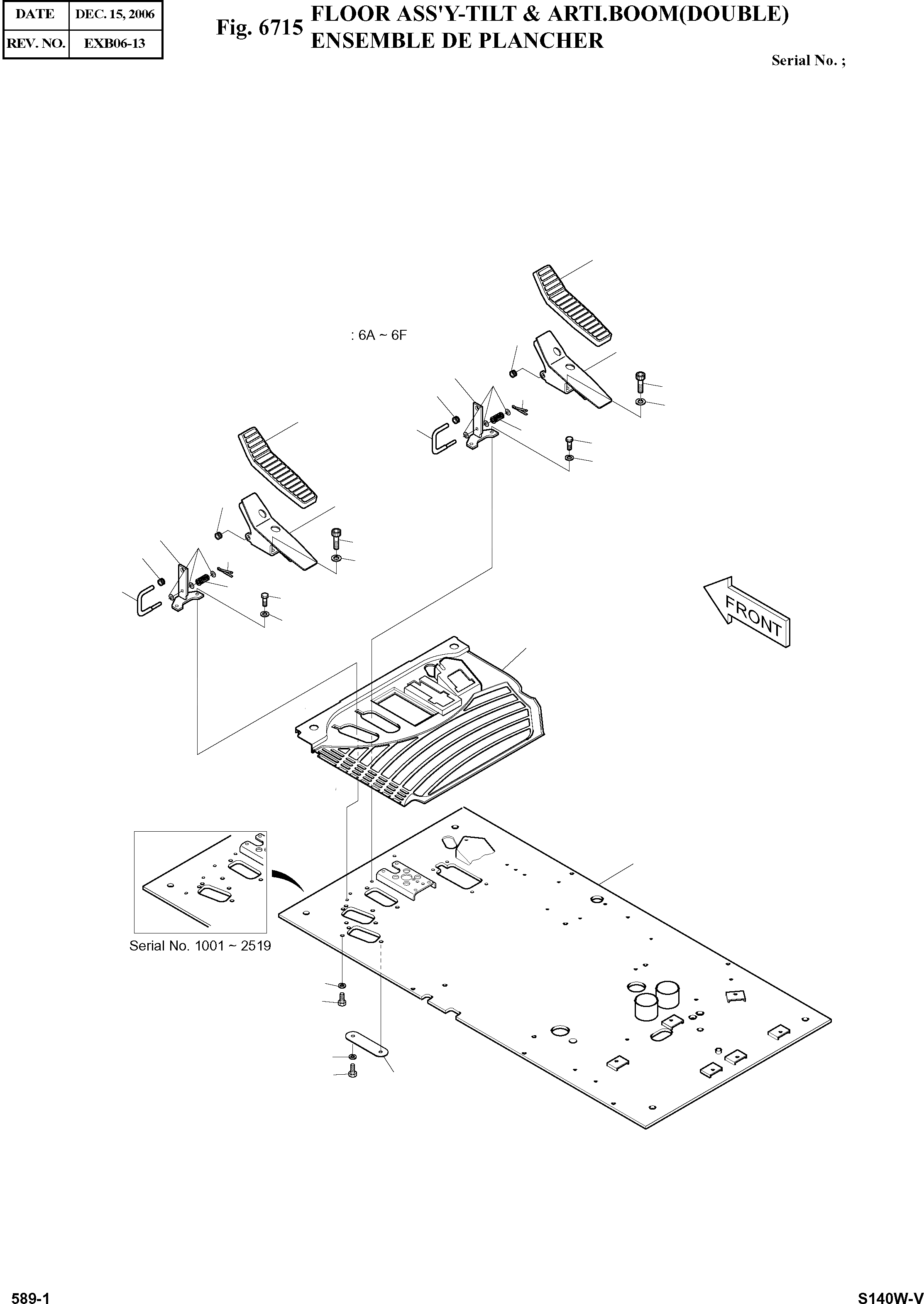
Запчасти Doosan Daewoo FLOOR ASSY-TILT & ARTI.BOOM (DOUBLE) OPTION PARTS

6F
6A
6D
6E
6C
6B
6C
6E
6D
6A
6F
6B
15
5
6
12
3
10
11
5
8
9
12
3
10
11
8
9
1
2
9
7
13
4
FIT
1:1
100%

Артикул

Название

Примечание

Количество

-

621-02623

FLOOR ASS'Y

SERIAL: 1001-2519

-2шт.

-

621-02623A

FLOOR ASS'Y

SERIAL: 2520-2929

-2шт.

-

621-02623B

FLOOR ASS'Y

SERIAL: 2930-3104

-2шт.

-

621-02623C

FLOOR ASS'Y

SERIAL: 3105

-2шт.

1

161-00569

MAT;FLOOR

SERIAL: 1001-2929

1шт.

1

161-00569A

MAT;FLOOR

SERIAL: 2930

1шт.

2

621-02175

PLATE;FLOOR

SERIAL: 1001-2519

1шт.

2

K1000224

PLATE;FLOOR

SERIAL: 2520-3104

1шт.

2

K1000224A

PLATE;FLOOR

SERIAL: 3105-3720

1шт.

2

K1000224B

PLATE;FLOOR

SERIAL: 3721

1шт.

3

195-01735

BRACKET;PEDAL

desc: SUPPORT

2шт.

4

621-01507

PLATE

SERIAL: 2520

1шт.

5

161-00386

RUBBER;PEDAL

desc: CAOUTCHOUC

2шт.

6

195-01939

BRACKET

desc: SUPPORT

2шт.

6A

195-01937

BRACKET

SC: D

1шт.

6B

133-00167

BAR

SC: D

1шт.

6C

129-00144

SPRING

SC: D

1шт.

6D

2114-1898D14

WASHER

SC: D

3шт.

6E

S5735351

PIN;SPLIT

SC: D

1шт.

6F

160-00045

BUSHING;RUBBER

SC: D

1шт.

7

2114-1898D1

WASHER

SERIAL: 2520

2шт.

8

2120-2166D5

BOLT M8X1.25X20

desc: BOULON

4шт.

9

2114-1898D14

WASHER

SERIAL: 1001-2519

4шт.

9

2114-1898D14

WASHER

SERIAL: 2520

6шт.

10

S2211866

BOLT;SOCKET M10X1.5X20

desc: BOULON DE PLOT

4шт.

11

S5110601

WASHER;SPRING

desc: RONDELLE ELASTIQUE

4шт.

12

160-00045

BUSHING;RUBBER

desc: DOUILLE EN CAOUTCHOUC

2шт.

13

S0511653

BOLT

SERIAL: 2520

2шт.

15

2120-2166D12

BOLT

SERIAL: 2520

2шт.

Выбрано товаров: 29