Качественные детали и логистика
Оригинальные и аналоговые запчасти с доставкой по России, Казахстану и Беларуси
©2022 PartSell ООО "Система" ИНН 2463123282 ОГРН 1212400004838
Центральный офис: г. Красноярск, Академика Киренского, д.87, пом.4
Телефон: 8 (800) 777-65-74 Email: zakaz@partsell.ru
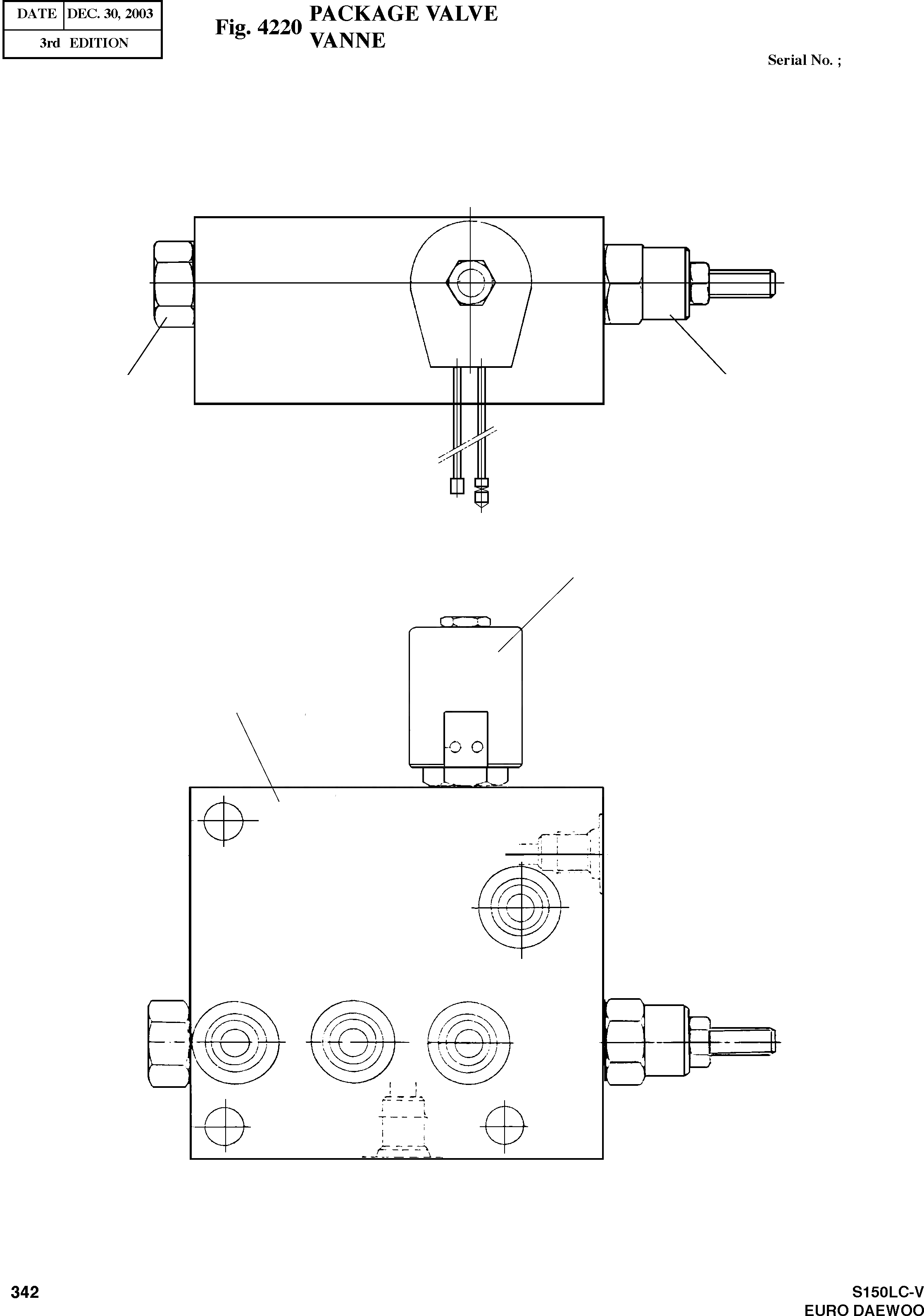
PACKAGE VALVE
№
Артикул
Название
Примечание
Количество
-
2420-9227A
BREAKER;VALVE
SERIAL: 1-50180
1шт.
9420-6031
SERIAL: 50181-50220
9420-6031A
SERIAL: 50221-50240
SERIAL: 50241-50290
SERIAL: 50291
1
2420-9227A-1
BODY
SC: D
2
2420-9227A-2
VALVE;SOLENOID
desc: . SOUPAPE A SOLENOIDE
3
2420-9227A-3
VALVE;REDUCING
desc: . VANNE REDUCTRICE
4
2420-9227A-4
VALVE;SHUTTLE
Выбрано товаров: 0