Запчасти Doosan Daewoo COVER(5) BODY PARTS

1A
18
19
16
18
17
17
19
15
17
1
14
13
21
23
22
25
20
24
22
FIT
1:1
100%

Артикул

Название

Примечание

Количество

-

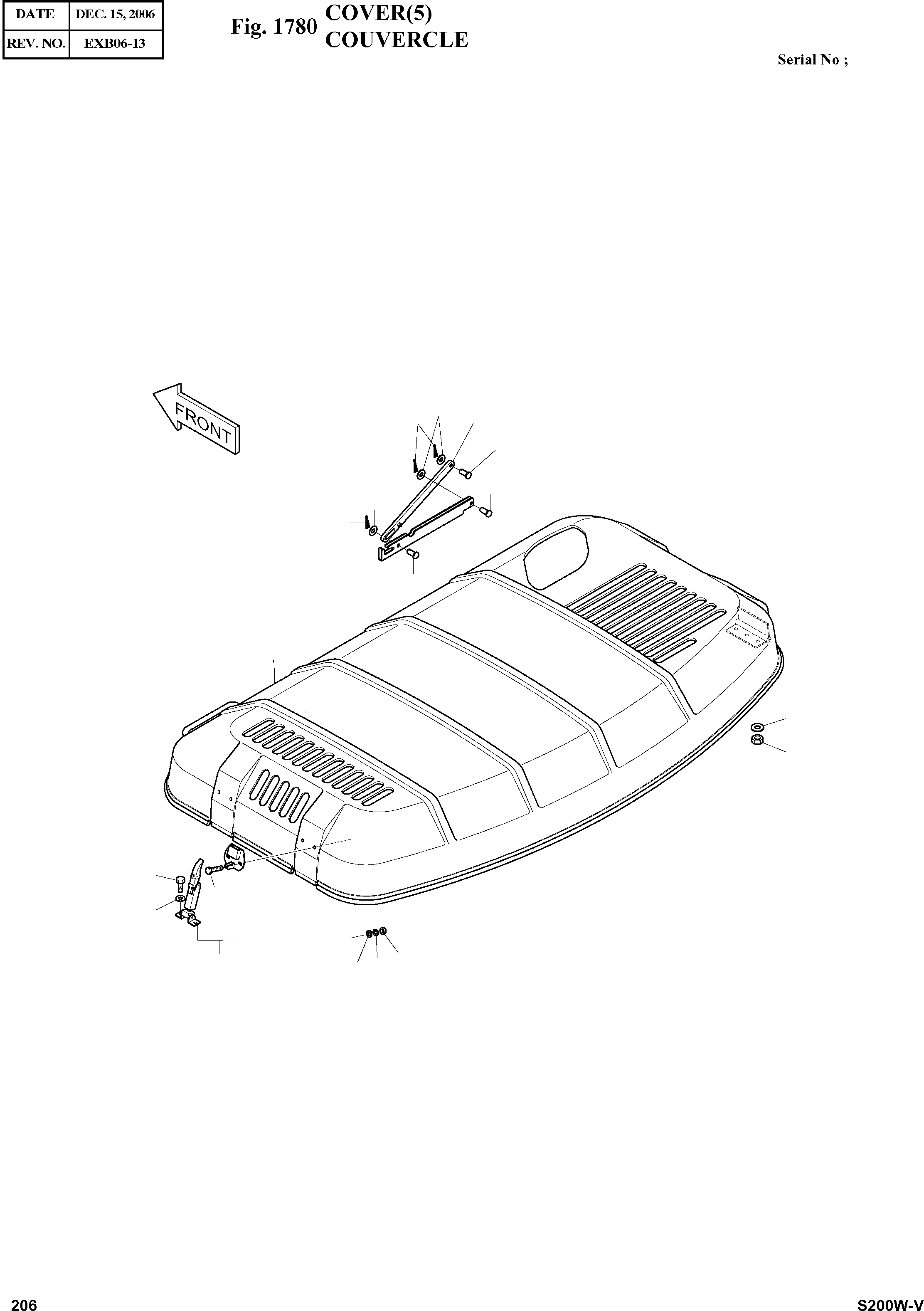
2627-1070C

COVER ASS'Y

SERIAL: 1001-1627

-2шт.

-

2627-1070E

COVER ASS'Y

SERIAL: 1628

-2шт.

1

2627-1325A

COVER;ENGINE

desc: COUVERCLE

1шт.

1A

1.162-00002

RUBBER;CUSHION

desc: . CAOUTCHOUC

1шт.

13

S4012733

NUT M12X1.75

desc: ECROU

6шт.

14

2114-1058D30

WASHER

desc: RONDELLE

6шт.

15

2155-1215A

LINK

desc: ARTICULATION

1шт.

16

2155-1216A

LINK

SERIAL: 1001-1438

1шт.

16

2155-1216B

LINK

SERIAL: 1439-1600

1шт.

16

155-00048

LINK

SERIAL: 1601

1шт.

17

2123-1057D3

PIN

desc: BROCHE

3шт.

18

S5735591

PIL;SPLIT

desc: GOUPILLE FENDUE

3шт.

19

S5010713

WASHER;PLAIN M12

desc: RONDELLE PLATE

3шт.

20

2125-9052

CATCH;E/G COVER

SERIAL: 1001-1049

2шт.

20

2125-9052A

CATCH;E/G COVER

SERIAL: 1050-1290

2шт.

20

2125-9052B

CATCH;E/G COVER

SERIAL: 1291

2шт.

21

S0508753

BOLT M8X1.25X18

desc: BOULON A 6 PANS

4шт.

22

S5010513

WASHER;PLAIN M8

desc: RONDELLE PLATE

8шт.

23

S0509053

BOLT M8X1.25X25

desc: BOULON A 6 PANS

4шт.

24

S5102503

WASHER;SPRING M8

desc: RONDELLE ELASTIQUE

4шт.

25

S4012533

NUT M8X1.25

desc: ECROU

4шт.

Выбрано товаров: 21