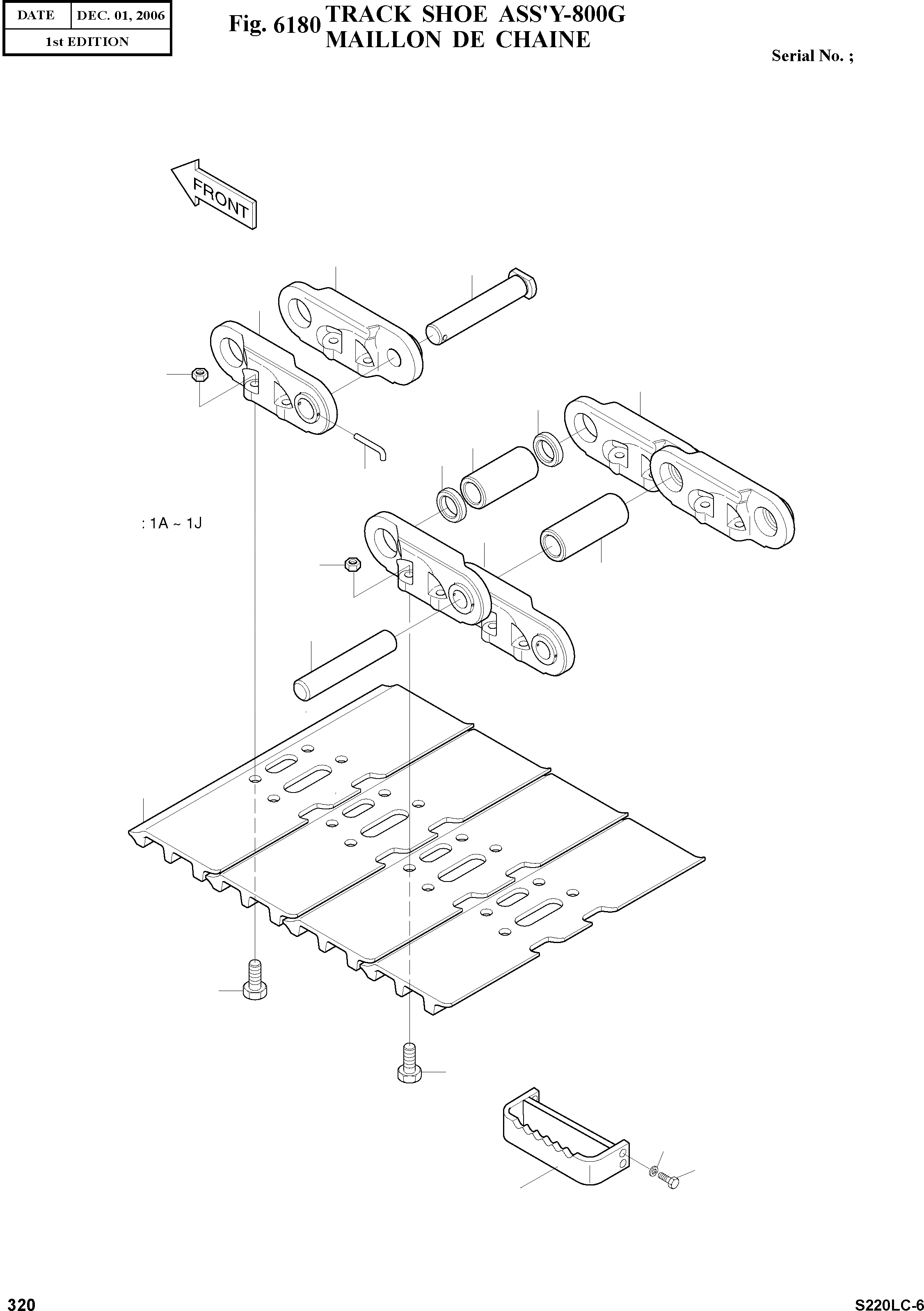
Запчасти Doosan Daewoo TRACK SHOE ASSY-800G OPTIONAL PARTS

1C
1D
4
3
3
2
1
1E
4
1G
1F
1I
1F
1J
1A
1B
1H
5
8
7
FIT
1:1
100%

Артикул

Название

Примечание

Количество

-

2272-6106D3

TRACK SHOE ASS'Y

desc: ENSEMBLE MAILLON DE CHAINES

2шт.

1

2272-6137

TRACK LINK ASS'Y

desc: ENSEMBLE MAILLON DE CHAINES

1шт.

1A

2272-6104R

LINK;TRACK(RH)

desc: . PIECE DE JONCTION

48шт.

1B

2272-6104L

LINK;TRACK(LH)

desc: . PIECE DE JONCTION

48шт.

1C

2272-6105R

LINK;MASTER(RH)

desc: . PIECE DE JONCTION

1шт.

1D

2272-6105L

LINK;MASTER(LH)

desc: . PIECE DE JONCTION

1шт.

1E

2123-6060

PIN

desc: . GOUJON

48шт.

1F

2114-6035

SPACER

desc: . BAGUE D'ECARTEMENT

2шт.

1G

2123-6062

PIN;SMALL

desc: . GOUPILLE

1шт.

1H

2110-6051

BUSHING

desc: . MANCHON

48шт.

1I

2110-6052

BUSHING;MASTER

desc: . MANCHON

1шт.

1J

2123-6061

PIN;MASTER

desc: . BROCHE

1шт.

2

2273-6040D3

SHOE 800G

desc: SABOT

49шт.

3

2120-6017

BOLT

desc: BOULON A 6PANS

196шт.

4

2121-6017

NUT

desc: ECROU

196шт.

5

2625-1220D3

BRACKET

desc: SUPPORT

4шт.

7

S0558253

BOLT

desc: BOULON A 6PANS

16шт.

8

S5102603

WASHER;SPRING

desc: RONDELLE ELASTIQUE

16шт.

Выбрано товаров: 18