Запчасти Doosan Daewoo CONTROL STAND-RH BODY PARTS

50
37
17
14
16
37
41
15
37
41
13
27
18
37
37
41
32
48
27
FIT
1:1
100%

Артикул

Название

Примечание

Количество

-

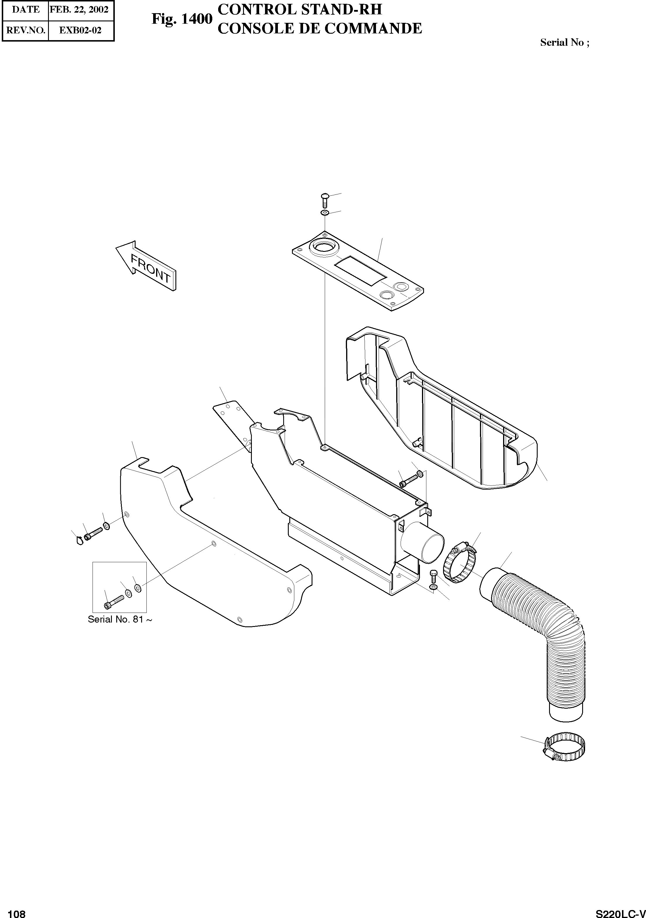
2197-1825F2C

CONTROL STAND ASS'Y

SERIAL: 1-530

-2шт.

-

2197-1825F2E

CONTROL STAND ASS'Y

SERIAL: 531-1006

-2шт.

-

2197-1825F2H

CONTROL STAND ASS'Y

SERIAL: 1007-1529

-2шт.

-

2197-1825F2K

CONTROL STAND ASS'Y

SERIAL: 1530

-2шт.

13

2621-3775

HOLE COVER;STAND

desc: COUVERCLE

1шт.

14

2197-1635B

BRACKET;STAND

SERIAL: 1-80

1шт.

14

2197-1635C

BRACKET;STAND

SERIAL: 81

1шт.

15

2197-1723

STAND CASE-A RH

SERIAL: 1-80

1шт.

15

2197-1723A

STAND CASE-A RH

SERIAL: 81

1шт.

16

2197-1724

STAND CASE-B RH

SERIAL: 1-80

1шт.

16

2197-1724A

STAND CASE-B RH

SERIAL: 81

1шт.

17

2891-1319

SWITCH PLATE(RH)

desc: INTERUPTEUR

1шт.

18

2158-1020

PROTECTOR

desc: PROTECTEUR

1шт.

27

S8450066

CLAMP;HOSE

desc: COLLIER

2шт.

32

2120-2166D5

BOLT M8X1.25X20

desc: BOULON A 6 PANS

4шт.

37

2114-1898D4

WASHER

desc: RONDELLE

12шт.

41

S2203061

BOLT;SOCKET

SERIAL: 1-80

7шт.

41

S2203061

BOLT;SOCKET

SERIAL: 81

8шт.

48

2114-1898D2

WASHER

desc: RONDELLE

4шт.

50

2120-2166D8

BOLT

desc: BOULON A 6 PANS

4шт.

Выбрано товаров: 20