Запчасти Doosan Daewoo SWING REDUCTION GEAR HYDRAULIC PARTS

231
602
204
287
211
912
230
202
901
902
312
311
201
915
401
102
801
402
913
910
286
203
282
288
210
403
285
911
283
FIT
1:1
100%

Артикул

Название

Примечание

Количество

-

630010D10

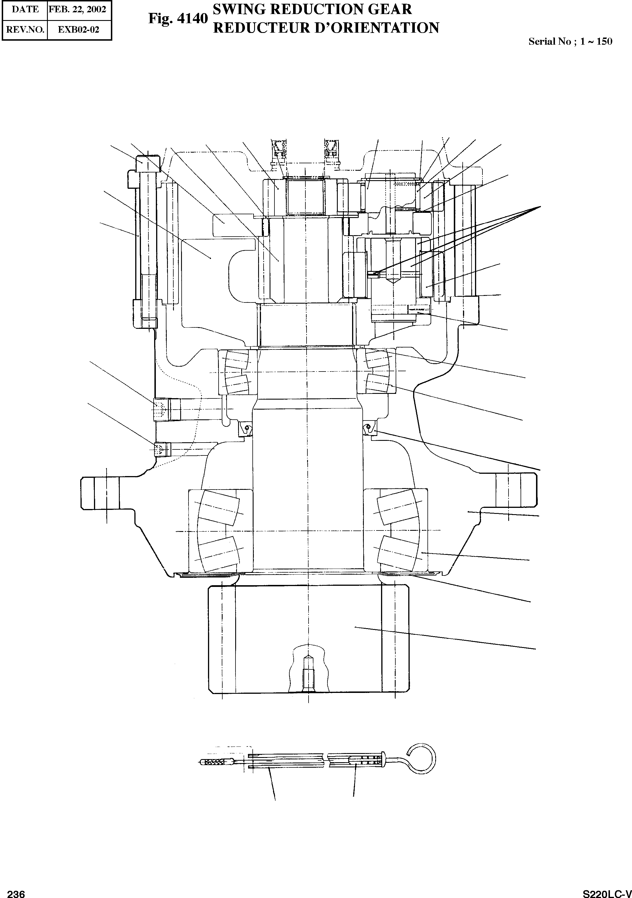
REDUCTION GEAR

SERIAL: 1-150

1шт.

102

6323310-0144

CASING

desc: CARTER

1шт.

201

6324250-0304

SHAFT;DRIVE

desc: ARBRE

1шт.

202

6303190-0119

GEAR;RING

desc: PIGNON

1шт.

203

6303190-0120

GEAR;2nd PLANETARY

desc: PIGNON

4шт.

204

6303190-0121

GEAR;SUN NO2

desc: PIGNON

1шт.

210

6303190-0125

GEAR;1st PLANETARY

desc: PIGNON

3шт.

211

6303190-0123

GEAR;SUN NO1

desc: PIGNON

1шт.

230

6324120-0046

CARRIER NO2

desc: SUPPORT

1шт.

231

6324120-0048

CARRIER NO1

SC: D

1шт.

282

6303540-0106

PIN NO2

desc: GOUJON

4шт.

283

6303540-0111

PIN NO1

SC: D

3шт.

285

6333360-0243

PLATE;SIDE A

desc: PLAQUE

3шт.

286

6333360-0234

PLATE;SIDE B

desc: PLAQUE

4шт.

287

6333360-0235

PLATE;SIDE C

desc: PLAQUE

1шт.

288

6333360-0240

PLATE;SIDE D

desc: PLAQUE

3шт.

311

6343700401

BAR;LEVEL

desc: BARRE

1шт.

312

6353700406

PIPE

desc: TUYAU

1шт.

401

P22320

BEARING;ROLLER(2109-9033)

desc: ROULEMENT A ROULEAUX

1шт.

402

P22218RH

BEARING;ROLLER

desc: ROULEMENT A BILLES

1шт.

403

PKT455325

CAGE;NEDDLE

desc: ROULEMENT A AIGUILLES

3шт.

602

OSBM14130

SCREW M14X130

desc: BOULON A 6 PANS CREUX

14шт.

801

PTC10012513

SEAL;OIL

desc: JOINT D'HUILE

1шт.

901

OBP12U

PLUG

desc: BOUCHON

1шт.

902

OBP14U

PLUG

desc: BOUCHON

2шт.

910

OSPV820

PIN;SPLINE

desc: GOUPILLE ELASTIQUE

4шт.

911

OSR45

RING;SNAP

REP_PNO: 212282

3шт.

912

OSR35

RING;SNAP

REP_PNO: 202604

1шт.

913

OSR90

RING;SNAP

desc: BAGUE D'ARRET

1шт.

915

6326210-0015

SEAL;BEARING

desc: JOINT

1шт.

Выбрано товаров: 30