Запчасти Doosan Daewoo TRACK SHOE ASSY-600G TRACK PARTS

8-1C
8-4
8-1J
8-1D
8-1G
8-1F
8-1F
8-1I
8-1A
8-1B
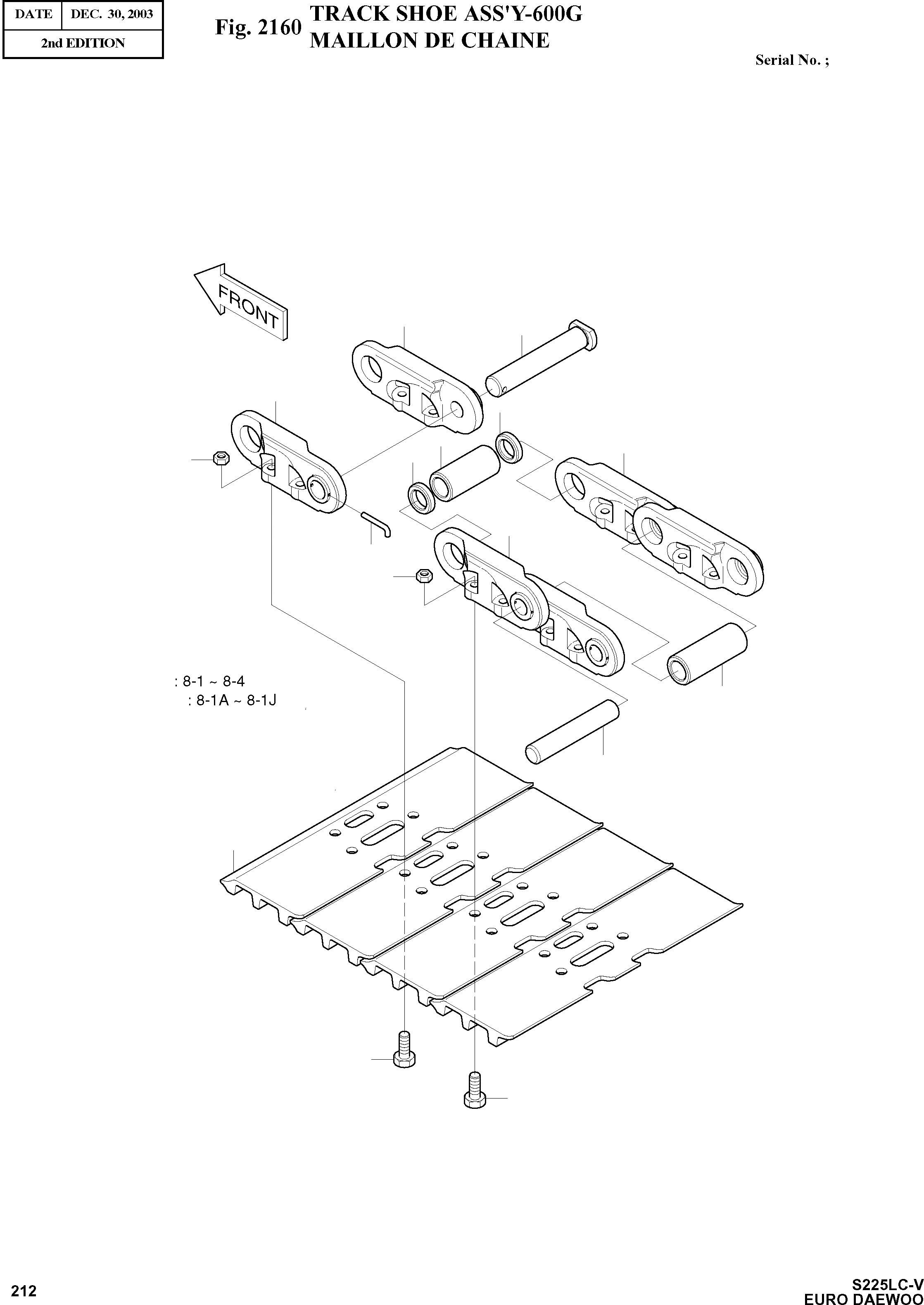
8
8-1
8-2
8-3
8-3
8-1E
8-1H
8-4
FIT
1:1
100%

Артикул

Название

Примечание

Количество

-

604-00168

TRACK ASS'Y

SC: D

-2шт.

8

9273-6022D1

TRACK SHOE ASS'Y-600-ED

desc: ENSEMBLE CHENILLE

2шт.

8-1

-

TRACK LINK ASS'Y

desc: . CHAINE

1шт.

8-1A

9272-6019

LINK;TRACK(RH)

desc: .. MAILLON DROIT

49шт.

8-1B

9272-6020

LINK;TRACK(LH)

desc: .. MAILLON GAUCHE

49шт.

8-1C

9114-6007

SPACER

desc: .. ENTERTOISE

2шт.

8-1D

9110-6006

BUSHING

desc: .. DOUILLE

48шт.

8-1E

9123-6011

PIN

desc: .. GOUPILLE

48шт.

8-1F

9110-6007

BUSHING MASTER

desc: .. DOUILLE PRINCIPAL

1шт.

8-1G

9123-6012

PIN MASTER

desc: .. GOUPILLE PRINCIPAL

1шт.

8-2

-

SHOE 600mm

desc: . SABOT

49шт.

8-3

9120-6005D11

BOLT

desc: . BOULON A 6PANS

196шт.

8-4

9121-6006D2

NUT

desc: . ECROU

196шт.

Выбрано товаров: 13