Запчасти Doosan Daewoo TRACK SHOE ASSY-500G TRACK PARTS

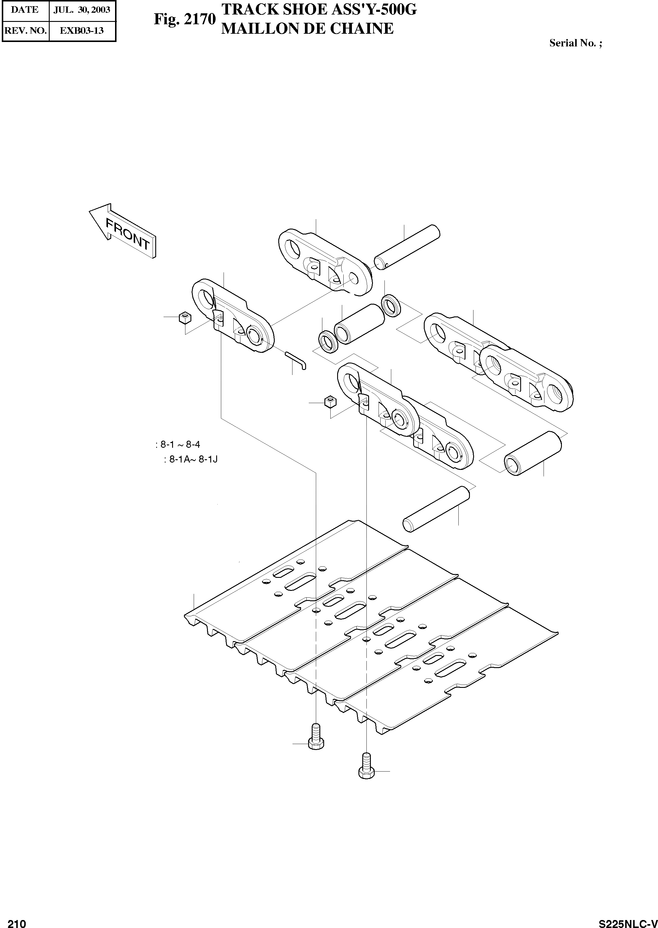
8
8-1
8-4
8-4
8-1D
8-1C
8-1J
8-1A
8-1F
8-1F
8-1I
8-1B
8-1G
8-1E
8-1H
8-3
8-2
8-3
FIT
1:1
100%

Артикул

Название

Примечание

Количество

-

604-00012A

TRACK ASS'Y

SC: D

-2шт.

8

2272-9032D5

TRACK SHOE ASS'Y

desc: ENSEMBLE MAILLON DE CHAINES

2шт.

8-1

2272-6137

TRACK LINK ASS'Y

desc: . ENSEMBLE MAILLON DE CHAINES

1шт.

8-1A

2272-6104R

LINK;TRACK(RH)

desc: .. PIECE DE JONCTION

48шт.

8-1B

2272-6104L

LINK;TRACK(LH)

desc: .. PIECE DE JONCTION

48шт.

8-1C

2272-6105R

LINK;MASTER(RH)

desc: .. PIECE DE JONCTION

1шт.

8-1D

2272-6105L

LINK;MASTER(LH)

desc: .. PIECE DE JONCTION

1шт.

8-1E

2123-6060

PIN

desc: .. GOUJON

48шт.

8-1F

2114-6035

SPACER

desc: .. BAGUE D'ECARTEMENT

2шт.

8-1G

2123-6062

PIN;SMALL

desc: .. GOUJON

1шт.

8-1H

2110-6051

BUSHING

desc: .. MANCHON

48шт.

8-1I

2110-6052

BUSHING;MASTER

desc: .. MANCHON

1шт.

8-1J

2123-6061

PIN;MASTER

desc: .. GOUJON

1шт.

8-2

2273-6087

SHOE 500mm

desc: . SABOT

49шт.

8-3

2120-6017

BOLT

desc: . BOULON A 6 PANS

196шт.

8-4

2121-6017

NUT

desc: . ECROU

196шт.

Выбрано товаров: 16