Запчасти Doosan Daewoo SEALED TRACK SHOE-800G OPTION PARTS

4
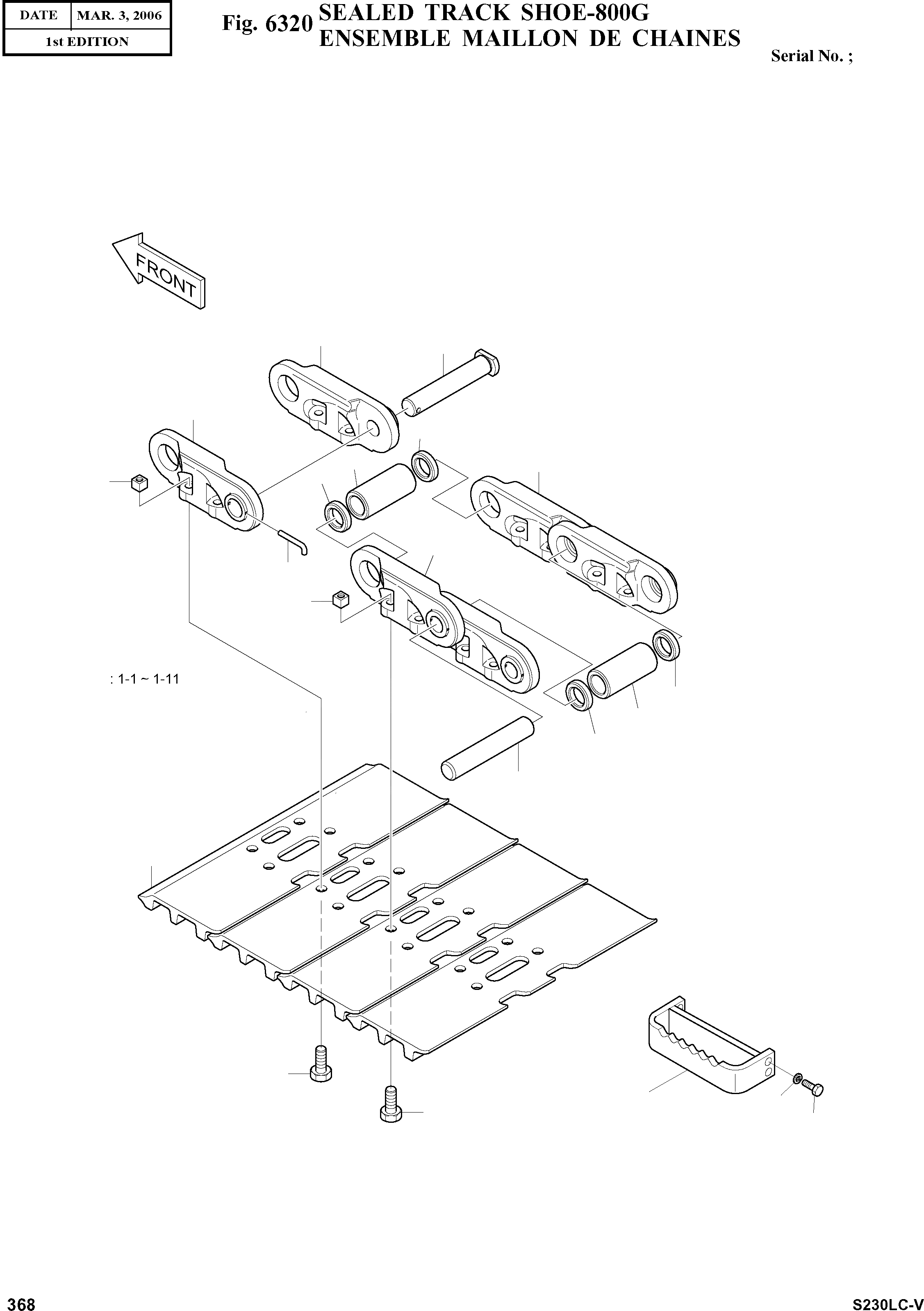
1-4
1-3
1-7
1-10
1-8
1-10
1-11
4
1-2
1-1
1
2
3
3
5
1-5
1-9
1-6
1-9
8
7
FIT
1:1
100%

Артикул

Название

Примечание

Количество

-

273-00098

SEALED TRACK LINK ASS'Y

desc: TRAIN A MAILLON

1шт.

1

272-00054

TRACK LINK ASS'Y

desc: TRAIN A MAILLON

1шт.

1-1

2272-6104R

LINK(R.H)

desc: . PIECE DE JONCTION

48шт.

1-2

2272-6104L

LINK(L.H)

desc: . PIECE DE JONCTION

48шт.

1-3

2272-6105R

LINK;MASTER(R.H)

desc: . PIECE DE JONCTION

1шт.

1-4

2272-6105L

LINK;MASTER(L.H)

desc: . PIECE DE JONCTION

1шт.

1-5

2123-6060

PIN

desc: . BROCHE

48шт.

1-6

110-00226

BUSHING

desc: . DOUILLE

48шт.

1-7

2123-6061

PIN;MASTER

desc: . BROCHE PRINCIPALE

1шт.

1-8

2110-6052

BUSHING;MASTER

desc: . DOUILLE PRINCIPALE

1шт.

1-9

180-00441

SEAL;DUST

desc: . JOINT

96шт.

1-10

2114-6035

SPACER

desc: . ENTERTOISE

2шт.

1-11

2123-6062

PIN

desc: . BROCHE

1шт.

2

2273-6040D3

SHOE;800G

desc: SABOT

49шт.

3

2120-6017

BOLT

desc: BOULON A 6 PANS

196шт.

4

2121-6017

NUT

desc: ECROU

196шт.

5

2625-1220D3

BRACKET

desc: SUPPORT

4шт.

7

S0558253

BOLT M10X1.5X35

desc: BOULON A 6PANS

16шт.

8

S5102603

WASHER;SPRING

desc: RONDELLE ELASTIQUE

16шт.

Выбрано товаров: 19