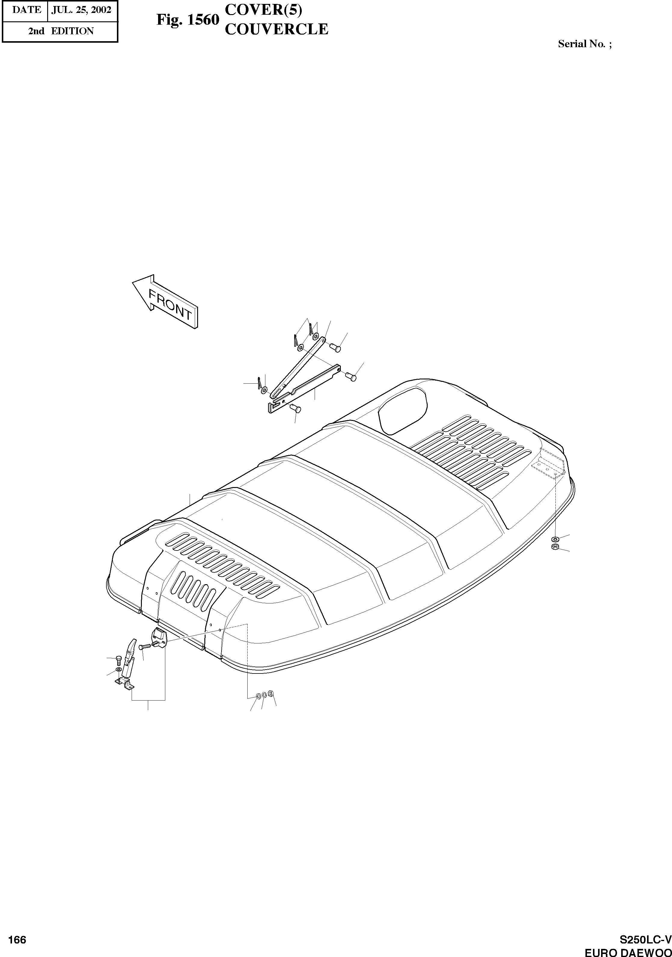
Запчасти Doosan Daewoo COVER(5) BODY PARTS

18
19
16
17
17
19
18
15
17
1
14
13
21
23
22
25
20
24
22
FIT
1:1
100%

Артикул

Название

Примечание

Количество

-

621-00121A

COVER ASS'Y

SC: D

-2шт.

1

2627-1324B

COVER;ENGINE

SERIAL: 1-50195

1шт.

1

2627-3683I

COVER;ENGINE

SERIAL: 50196

1шт.

13

S4012733

NUT M12X1.75

desc: ECROU

6шт.

14

2114-1058D30

WASHER

desc: RONDELLE

6шт.

15

2155-1215A

LINK

desc: ARTICULATION

1шт.

16

2155-1216A

LINK

SERIAL: 1-50235

1шт.

16

2155-1216B

LINK

SERIAL: 50236-50245

1шт.

16

155-00048

LINK

SERIAL: 50246

1шт.

17

2123-1057D3

PIN

desc: BROCHE

3шт.

18

S5735591

PIN;SPLIT

desc: GOUPILLE FENDUE

3шт.

19

S5010713

WASHER;PLAIN

desc: RONDELLE

3шт.

20

2125-9052A

CATCH

SERIAL: 1-50235

2шт.

20

2125-9052B

CATCH

SERIAL: 50236

2шт.

21

S0508753

BOLT M8X1.25X18

desc: BOULON A 6 PANS

4шт.

22

S5010513

WASHER;PLAIN

desc: RONDELLE

8шт.

23

S0555953

BOLT M8X1.25X30

desc: BOULON A 6 PANS

4шт.

24

S5102503

WASHER;SPRING

desc: RONDELLE ELASTIQUE

4шт.

25

S4012533

NUT M8X1.25

desc: ECROU

4шт.

Выбрано товаров: 19