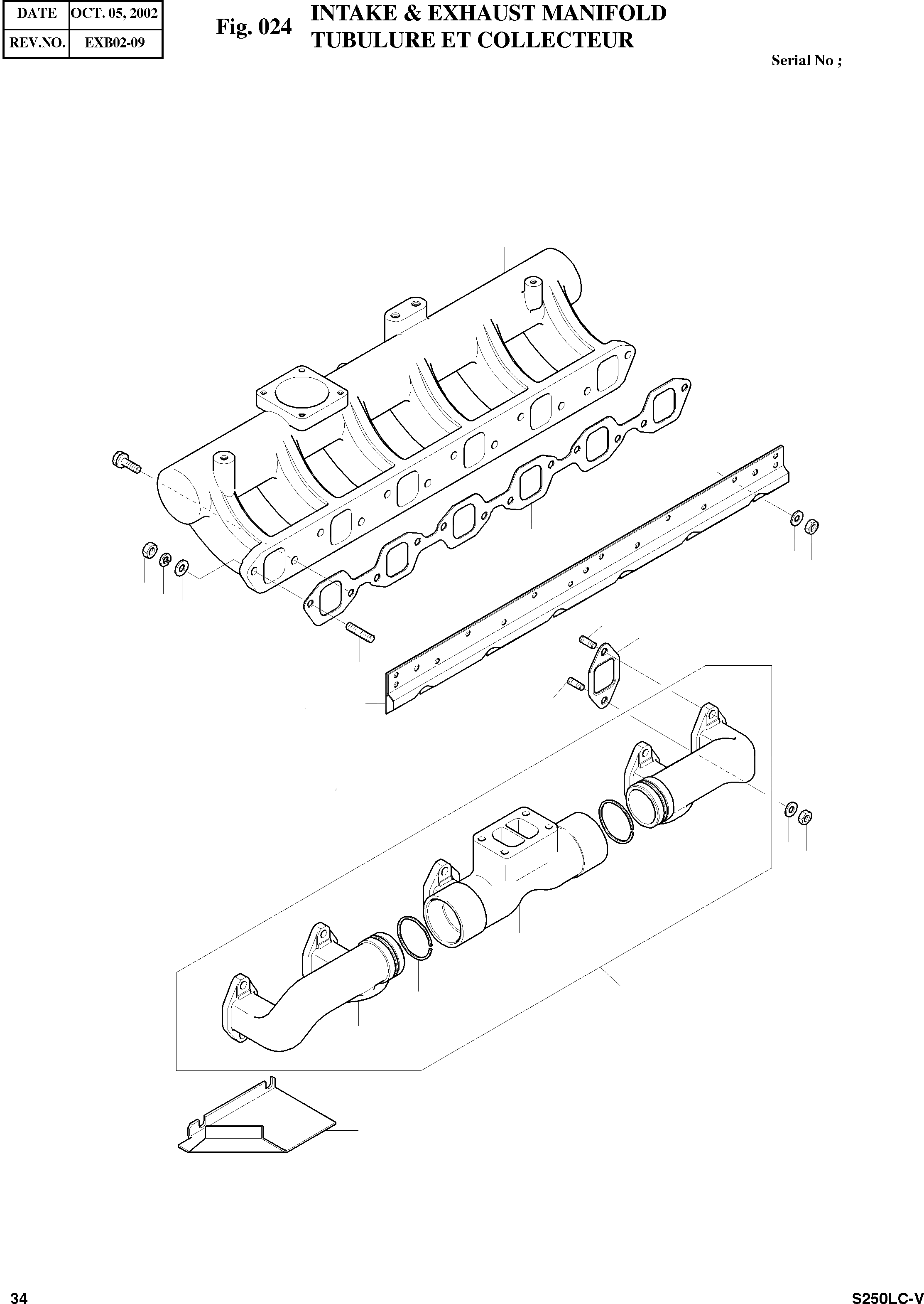
Запчасти Doosan Daewoo INTAKE & EXHAUST MANIFOLD ENGINE PARTS

14
20
15
10
17
17
19
18
7
6
16
12
9
4
8
13
5
3
1
5
2
11
FIT
1:1
100%

Артикул

Название

Примечание

Количество

1

65.08100-6056

EXHAUST MANIFOLD ASS'Y

desc: COLLECTEUR D'ECHAOOEMENT

1шт.

2

65.08101-0193

MANIFOLD;EXH.(L.H.)

desc: . COLLECTEUR ECHAPPEMENT

1шт.

3

65.08101-0195

MANIFOLD;EXH.(MID.)

desc: . COLLECTEUR ECHAPPEMENT

1шт.

4

65.08101-0194

MANIFOLD;EXH.(R.H.)

desc: . COLLECTEUR ECHAPPEMENT

1шт.

5

65.96501-0007

RING;SEAL

desc: . BAGUE D'ETANCHEITE

4шт.

6

65.08901A0013

GASKET(EXH. MANIFOLD)

desc: JOINT DE COLLECTEUR D'ECHAPPEMENT

6шт.

7

65.90201-0086

BOLT;STUD (M12-M10X1.5X47)

desc: GOUJON

6шт.

8

06.15010-2312

WASHER 10.5

desc: RONDELLE

6шт.

9

65.90201-0089

BOLT;STUD M10X1.5X 30

desc: GOUJON

6шт.

10

06.15010-2312

WASHER 10.5

desc: RONDELLE

6шт.

11

65.08120-0017

SCREEN;HEAT

desc: ECRAN THERMIQUE

1шт.

12

65.08120-5018A

SCREEN;HEAT(CYL. HEAD)

SERIAL: 980629

1шт.

12

65.08120-5018B

SCREEN;HEAT(CYL. HEAD)

SERIAL: 980630

1шт.

13

06.11063-8215

NUT;HEX. M10

desc: ECROU 6 PANS

6шт.

14

65.08201-5053

INTAKE MANIFOLD ASS'Y

desc: COLLECTEUR

1шт.

15

65.08902A0024

GASKET(INTAKE MANIFOLD)

desc: JOINT(COLLECTEUR ADMISSION)

1шт.

16

06.06225-0809

BOLT;STUD M10X35

desc: GOUJON

2шт.

17

06.11063-8215

NUT;HEX

desc: ECROU 6 PANS

2шт.

18

06.15030-0514

WASHER 10.5

desc: RONDELLE

2шт.

19

06.16731-2108

WASHER;SPRING A10

desc: RONDELLE

2шт.

20

06.01933-3218

BOLT;HEX. ASS'Y

desc: BOULON A 6 PANS

10шт.

Выбрано товаров: 21