Запчасти Doosan Daewoo SEALED TRACK SHOE-600G OPTION PARTS

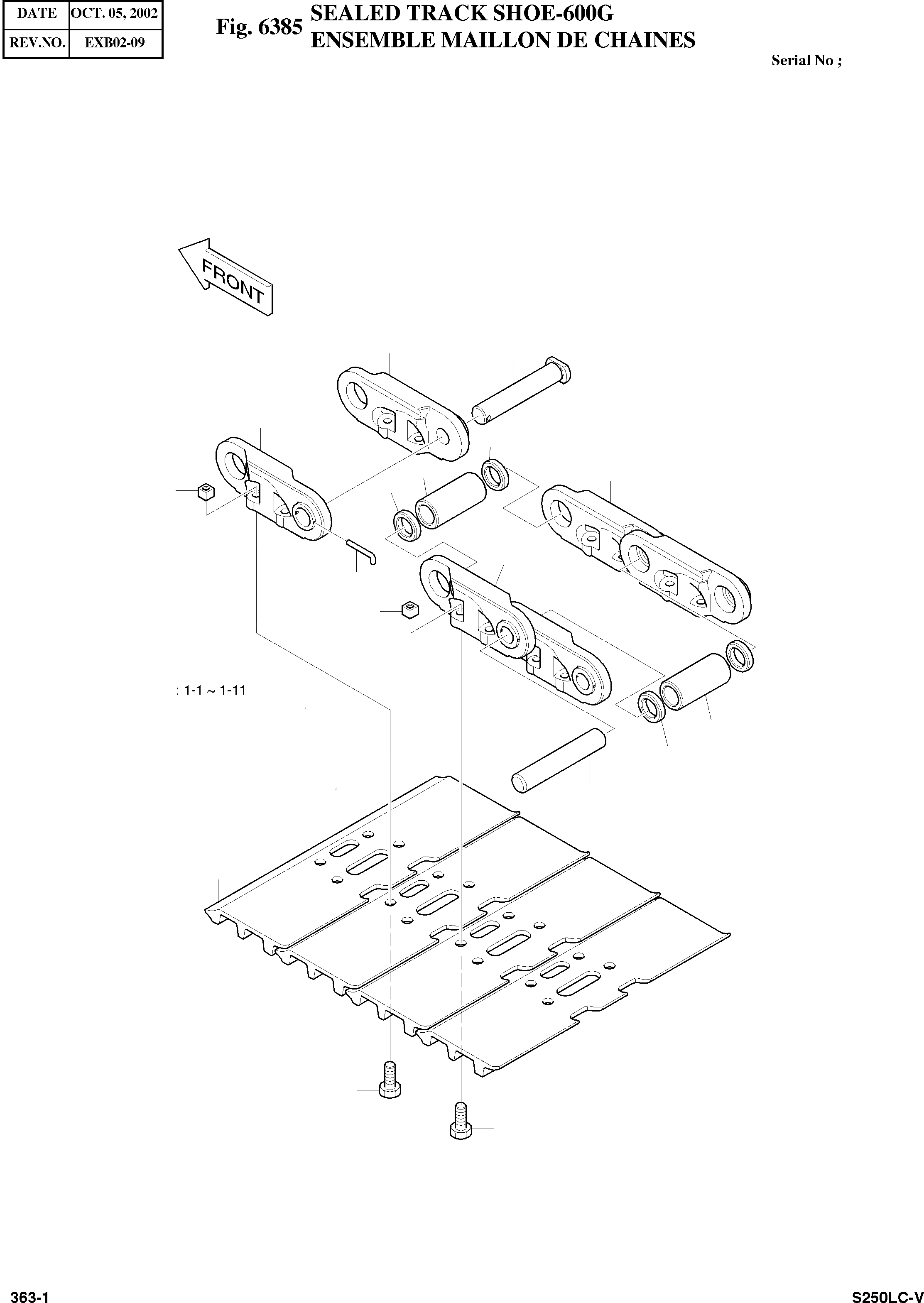
1-3
1-7
1-10
1-8
1-4
3
1
1-11
3
1-10
1-2
4
2
2
1-5
1-9
1-6
1-9
1-1
FIT
1:1
100%

Артикул

Название

Примечание

Количество

-

273-00077

SEALED TRACK LINK ASS'Y

desc: TRAIN A MAILLON

1шт.

1

272-00046

TRACK LINK ASS'Y

desc: TRAIN A MAILLON

1шт.

1-1

2272-6104R

LINK(R.H)

desc: . PIECE DE JONCTION

50шт.

1-2

2272-6104L

LINK(L.H)

desc: . PIECE DE JONCTION

50шт.

1-3

2272-6105R

LINK;MASTER(R.H)

desc: . PIECE DE JONCTION

1шт.

1-4

2272-6105L

LINK;MASTER(L.H)

desc: . PIECE DE JONCTION

1шт.

1-5

2123-6060

PIN

desc: . BROCHE

50шт.

1-6

110-00226

BUSHING

desc: . DOUILLE

50шт.

1-7

2123-6061

PIN;MASTER

desc: . BROCHE PRINCIPALE

1шт.

1-8

2110-6052

BUSHING;MASTER

desc: . DOUILLE PRINCIPALE

1шт.

1-9

180-00441

SEAL;DUST

desc: . JOINT

100шт.

1-10

2114-6035

SPACER

desc: . ENTERTOISE

2шт.

1-11

2123-6062

PIN

desc: . BROCHE

1шт.

2

2120-6017

BOLT

desc: BOULON A 6 PANS

204шт.

3

2121-6017

NUT

desc: ECROU

204шт.

4

2273-6040D1

SHOE;600G

desc: SABOT

51шт.

Выбрано товаров: 16