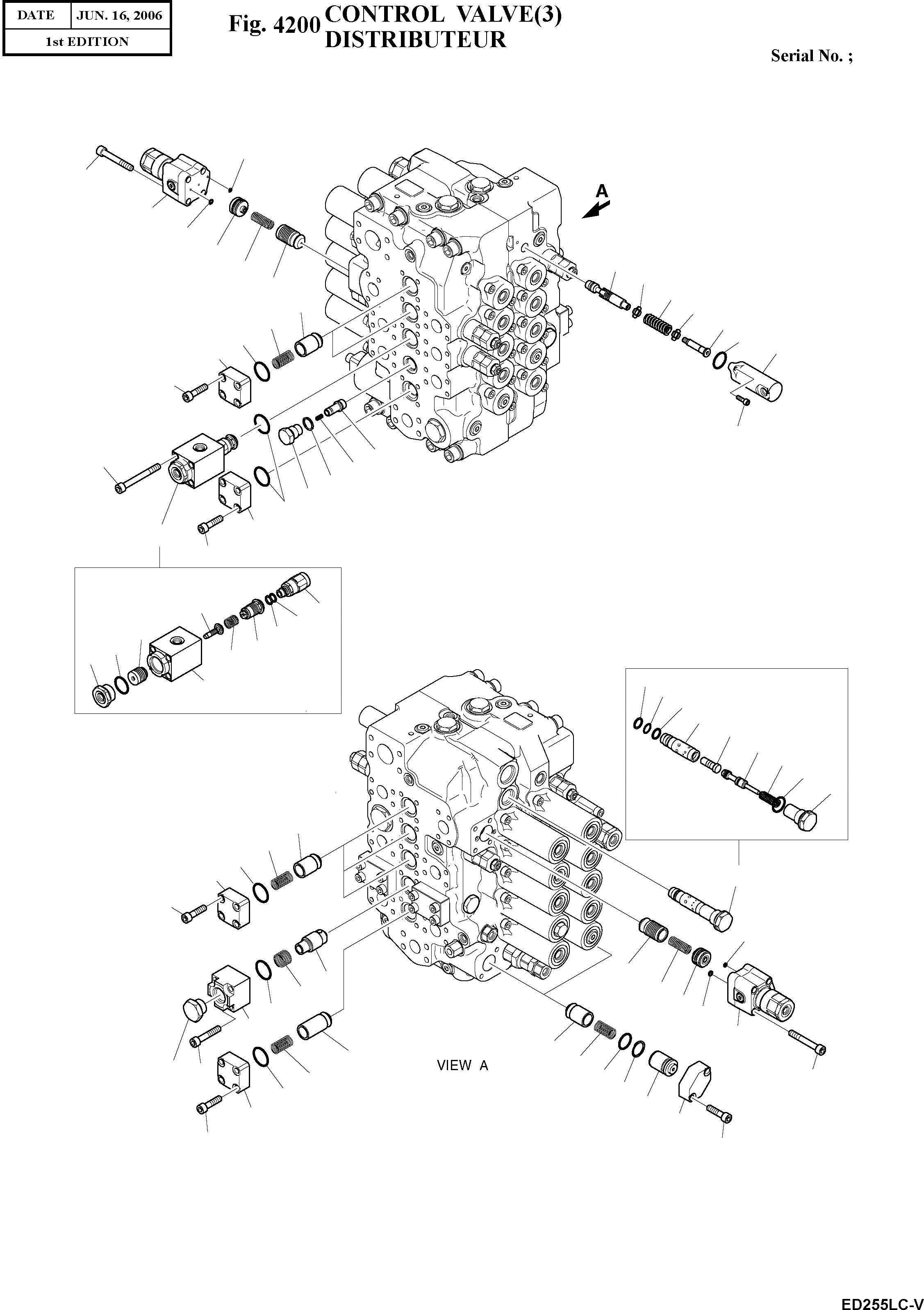
Запчасти Doosan Daewoo CONTROL VALVE(3) HYDRAULIC PARTS

42
76
67
41
40
19
39
20
38
21
34
20
35
22
23
36
18
37
75
78
49
101
48
47
46
36
37
75
97
100
103
95
104
102
99
94
98
31
96
30
31
28
29
27
26
25
24
34
35
36
37
75
42
38
44
39
45
40
36
41
43
67
34
51
35
92
73
54
76
35
55
36
53
37
52
75
75
94A
24A
FIT
1:1
100%

Артикул

Название

Примечание

Количество

-

420-00331

VALVE;CONTROL

desc: VANNE

1шт.

18

C0001-33015

CAP

desc: CHAPEAU

1шт.

19

C0111-31267

SPOOL

desc: PLUNGEUR

1шт.

20

21111-30702

SPRING SEAT

desc: RESSORT

2шт.

21

T1461-19008

SPRING

desc: RESSORT

1шт.

22

21011-30576

SPOOL END

desc: PLUNGEUR

1шт.

23

95111-02600

O-RING

SC: K

1шт.

24A

C011B-50263

ARM REGEN ASS'Y

desc: VANNE

1шт.

24

T1152-27503

PLUG

desc: . BOUCHON

1шт.

25

95113-02400

O-RING

SC: K

1шт.

26

T1461-14002

SPRING

desc: . RESSORT

1шт.

27

C0112-51203

SPOOL

SC: D

1шт.

28

-

SLEEVE

SC: D

1шт.

29

-

PISTON

SC: D

1шт.

30

95113-01600

O-RING

SC: K

1шт.

31

95712-01600

RING;BACK-UP

SC: K

2шт.

34

T1411-28001

POPET

desc: POPET

7шт.

35

T1461-19007

SPRING

desc: RESSORT

8шт.

36

95113-03200

O-RING

SC: K

9шт.

37

T1631-00006

FLANGE

desc: BRIDE

7шт.

38

21111-54501

POPET

desc: POPET

2шт.

39

21111-56501

SPRING

desc: RESSORT

2шт.

40

21113-50803

SPACER ASS'Y

desc: BAGUE D'ECARTEMENT

2шт.

41

95113-00600

O-RING

SC: K

2шт.

42

95113-00400

O-RING

SC: K

2шт.

43

T1631-00007

FLANGE

desc: BRIDE

1шт.

44

T1411-28003

POPET

desc: POPET

1шт.

45

T1461-25001

SPRING

desc: RESSORT

1шт.

46

21001-90227

PLUG

desc: BOUCHON

1шт.

47

21001-00036

O-RING

SC: K

1шт.

48

21011-30644

SPRING

desc: RESSORT

1шт.

49

T1411-19003

POPET

desc: POPET

1шт.

51

T1411-28004

POPET

desc: POPET

1шт.

52

T1631-00004

FLANGE

desc: BRIDE

2шт.

53

T1311-46001

SPACER

desc: BAGUE D'ECARTEMENT

2шт.

54

95121-02500

O-RING

SC: K

2шт.

55

95722-02500

RING;BACK-UP

SC: K

2шт.

67

C0113-55501

ANTI-DRIFT VALVE ASS'Y

desc: VANNE

2шт.

73

92703-10551

BOLT;SOCKET M10X55L

desc: BOULON A 6 PANS CREUX

4шт.

75

92703-10401

BOLT;SOCKET M10X40L

desc: BOULON A 6 PANS CREUX

32шт.

76

92703-10701

BOLT;SOCKET M10X70L

desc: BOULON A 6 PANS CREUX

8шт.

78

92703-06201

BOLT;SOCKET M6X20L

desc: BOULON A 6 PANS CREUX

2шт.

92

21003-00393

PLUG ASS'Y

desc: BOUCHON

1шт.

94A

C011B-50301

BOOM PRIORITY VALVE

desc: VANNE

1шт.

94

21001-90364

PLUG

desc: BOUCHON

1шт.

95

21111-52233

PISTON

desc: . PISTON

1шт.

96

C0001-57006

BODY

SC: D

1шт.

97

21111-52232

PISTON

desc: . PISTON

1шт.

98

21111-56525

SPRING

desc: . RESSORT

1шт.

99

T1331-28003

SLEEVE

SC: D

1шт.

100

21113-50805

POPET ASS'Y

desc: . POPET

1шт.

102

21001-00213

O-RING

SC: K

1шт.

103

95712-01200

RING;BACK-UP

SC: K

1шт.

104

95113-01200

O-RING P12 HS90

SC: K

1шт.

101

92703-10901

BOLT;SOCKET M10X90

desc: BOULON A 6 PANS CREUX

4шт.

Выбрано товаров: 55