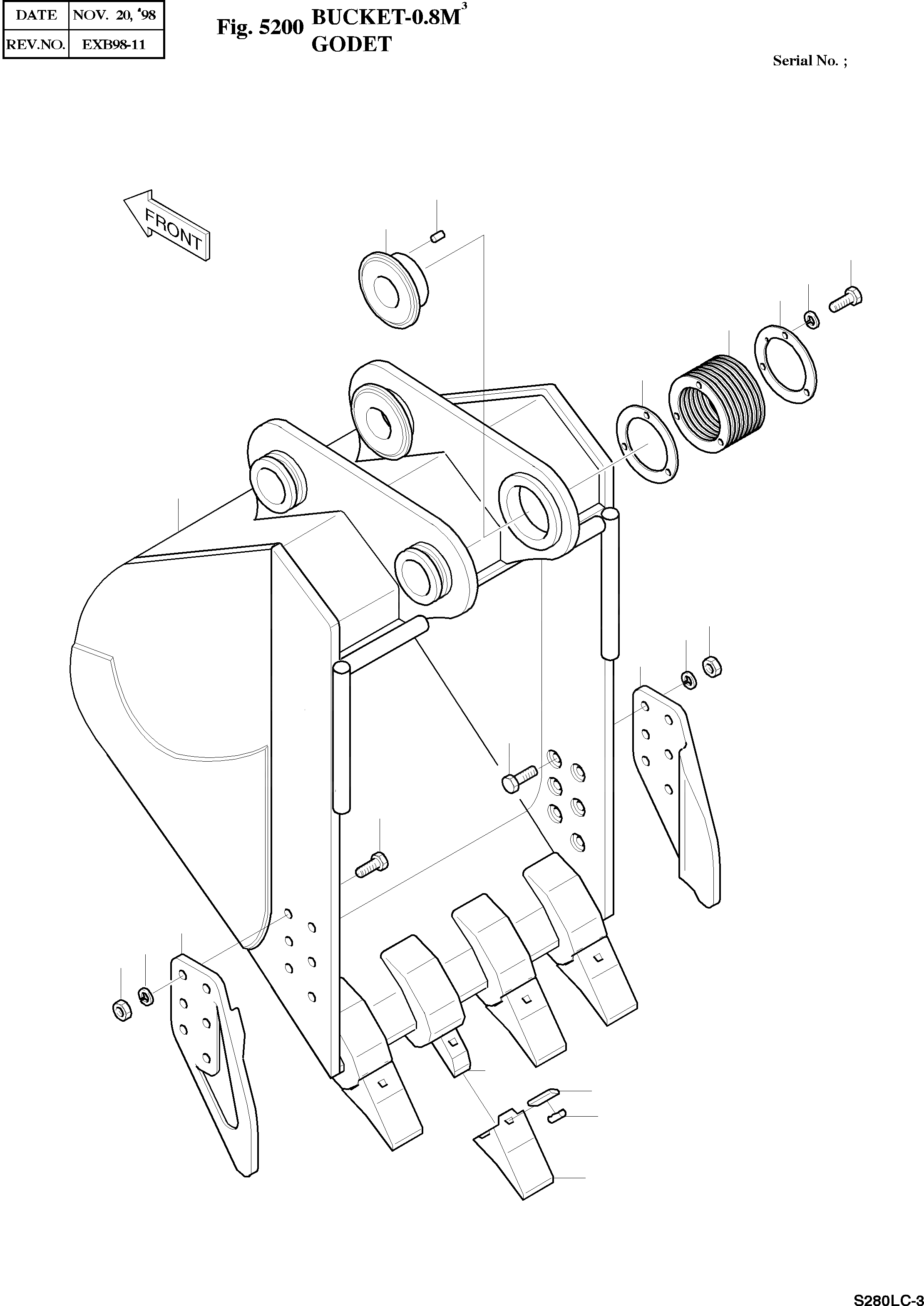
Запчасти Doosan Daewoo BUCKET-0.8M©ш OPTION PARTS

13
10
16
15
14
12
11
7
9
5
8
8
6
9
7
3
4
2
1A
1B
FIT
1:1
100%

Артикул

Название

Примечание

Количество

-

2704-1232

BUCKET ASS'Y-0.8§©

desc: ENSEMBLE GODET

1шт.

1

2704-1231

BUCKET 0.8§©

desc: GODET

1шт.

1A

-

BUCKET

desc: . GODET

1шт.

1B

2713-9002

ADAPTER;WELDING

desc: . ADAPTATEUR

4шт.

2

2713-9003

POINT

desc: DENT

4шт.

3

2116-9001

PIN;LOCK

desc: GOUJON DE BLOCAGE

4шт.

4

2705-1002B

RUBBER;LOCK

desc: CAOUTCHOUC DE BLOCAGE

4шт.

5

2713-6034

CUTTER;SIDE(R)

desc: COUTEAU LATERAL DROIT

1шт.

6

2713-6035

CUTTER;SIDE(L)

desc: COUTEAU LATERAL GAUCHE

1шт.

7

S4013233

NUT M22X2.5

desc: ECROU

12шт.

8

S0572461

BOLT M22X2.5X65

desc: BOULON A 6 PANS

12шт.

9

S5103201

WASHER;SPRING M22

desc: RONDELLE ELASTIQUE M22

12шт.

10

2114-1385

SPACER

desc: BAGUE D'ECARTEMENT

1шт.

11

2114-1387

SHIM 0.5

desc: CALE

1шт.

12

2114-1386

SHIM 1.0

desc: CALE

7шт.

13

2123-1107D2

PIN;KNOCK

desc: GOUJON

1шт.

14

2191-1848

PLATE

desc: PLAQUE

1шт.

15

S5102901

WASHER;SPRING M16

desc: RONDELLE ELASTIQUE M16

3шт.

16

S0521661

BOLT M16X2.0X50

desc: BOULON A 6 PANS

3шт.

Выбрано товаров: 19