Запчасти Doosan Daewoo MUFFLER BODY PARTS

21
20
44
42
10
27
28
25
46
24
26
23
23
42
22
FIT
1:1
100%

Артикул

Название

Примечание

Количество

-

2201-1073A

ENGINE ASS'Y

SC: D

-2шт.

10

S0511753

BOLT M10X1.5X18

desc: BOULON A 6 PANS

6шт.

20

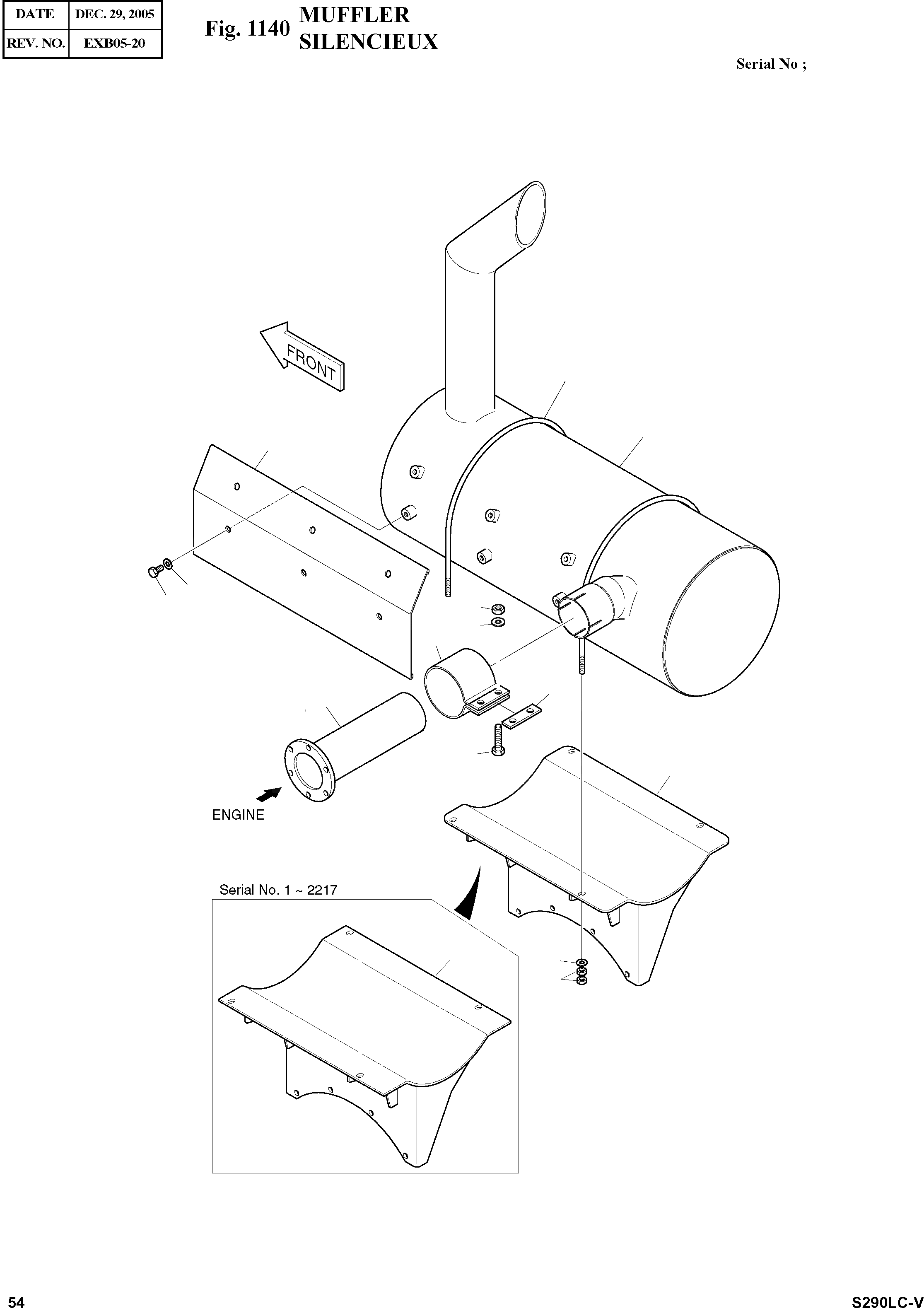
2203-1688B

MUFFLER

desc: SILENCIEUX

1шт.

21

2120-2136

BOLT;U M10X1.5

SERIAL: 1-2053

2шт.

21

2120-2136A

BOLT;U M10X1.5

SERIAL: 2054

2шт.

22

S4012633

NUT M10X1.5

desc: ECROU

8шт.

23

2197-1452A

BRACKET;MUFFLER

SERIAL: 1-2217

1шт.

23

2197-1452B

BRACKET;MUFFLER

SERIAL: 2218

1шт.

24

2182-1576A

PIPE;EXHAUST

SERIAL: 2001-2294

1шт.

24

2182-1576B

PIPE;EXHAUST

SERIAL: 2295

1шт.

25

2124-1591A

CLAMP

desc: ATTACHE DE TUBE

1шт.

26

S0515853

BOLT M12X1.75X60

desc: BOULON A 6 PANS

2шт.

27

S4012733

NUT M12X1.75

desc: ECROU

2шт.

28

S5010713

WASHER

desc: RONDELLE

2шт.

42

S5010613

WASHER

desc: RONDELLE

10шт.

44

2621-3695A

PLATE;INSULATION

desc: PLAQUE

1шт.

46

2114-1925

SPACER

SERIAL: 204

1шт.

Выбрано товаров: 17