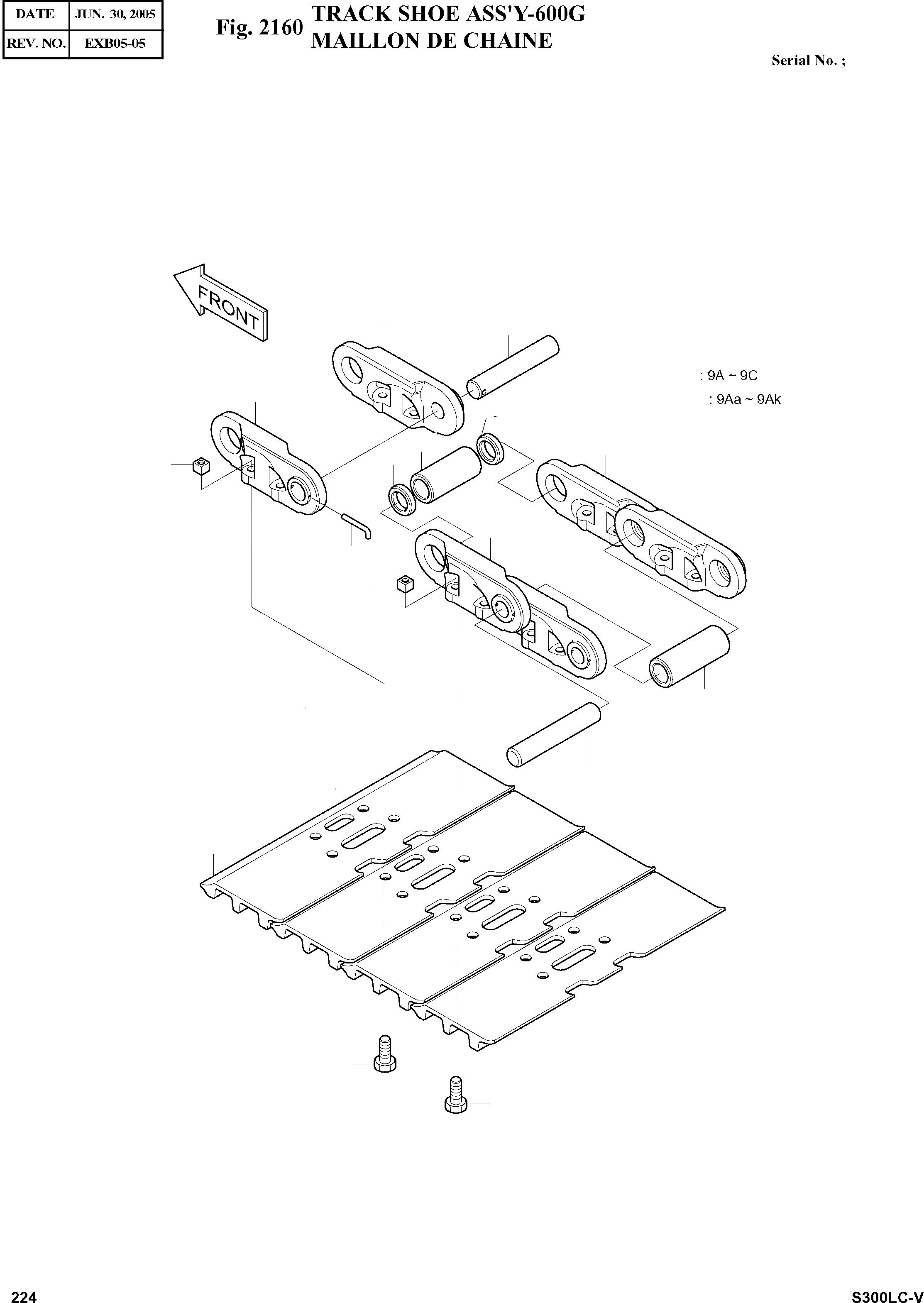
Запчасти Doosan Daewoo TRACK SHOE ASSY-600G TRACK PARTS

9Aj
9Ae
9Ag
9Af
9Ag
9Ak
9Ai
9Ab
9Aa
9Ac
9Ad
9
9A
9D
9D
9B
9C
9C
FIT
1:1
100%

Артикул

Название

Примечание

Количество

-

604-00122A

TRACK ASS'Y

SC: D

-2шт.

9

2273-1049

TRACK SHOE ASS'Y

desc: MAILLON DE CHAINE

2шт.

9A

2272-1074

TRACK LINK ASS'Y

desc: . ENSEMBLE MAILLON DE CHAINES

1шт.

9Aa

2272-9008

LINK(R.H)

desc: .. PIECE DE JONCTION

50шт.

9Ab

2272-9009

LINK(L.H)

desc: .. PIECE DE JONCTION

50шт.

9Ac

2123-1320

PIN

desc: .. BROCHE

50шт.

9Ad

2110-1104

BUSHING

desc: .. DOUILLE

50шт.

9Ae

2123-1628A

PIN;MASTER

desc: .. BROCHE PRINCIPALE

1шт.

9Af

2110-1105

BUSHING;MASTER

desc: .. DOUILLE PRINCIPALE

1шт.

9Ag

2114-1552

SPACER

desc: .. ENTERTOISE

2шт.

9Ai

2123-1629

PIN

desc: .. BROCHE

1шт.

9Aj

2272-1056

LINK;MASTER(R.H)

desc: .. PIECE DE JONCTION

1шт.

9Ak

2272-1057

LINK;MASTER(L.H)

desc: .. PIECE DE JONCTION

1шт.

9B

2273-9012

SHOE 600G

desc: . SABOT

51шт.

9C

2120-1212A

BOLT

desc: . BOULON A 6 PANS

204шт.

9D

2121-1203

NUT

desc: . ECROU

204шт.

Выбрано товаров: 16