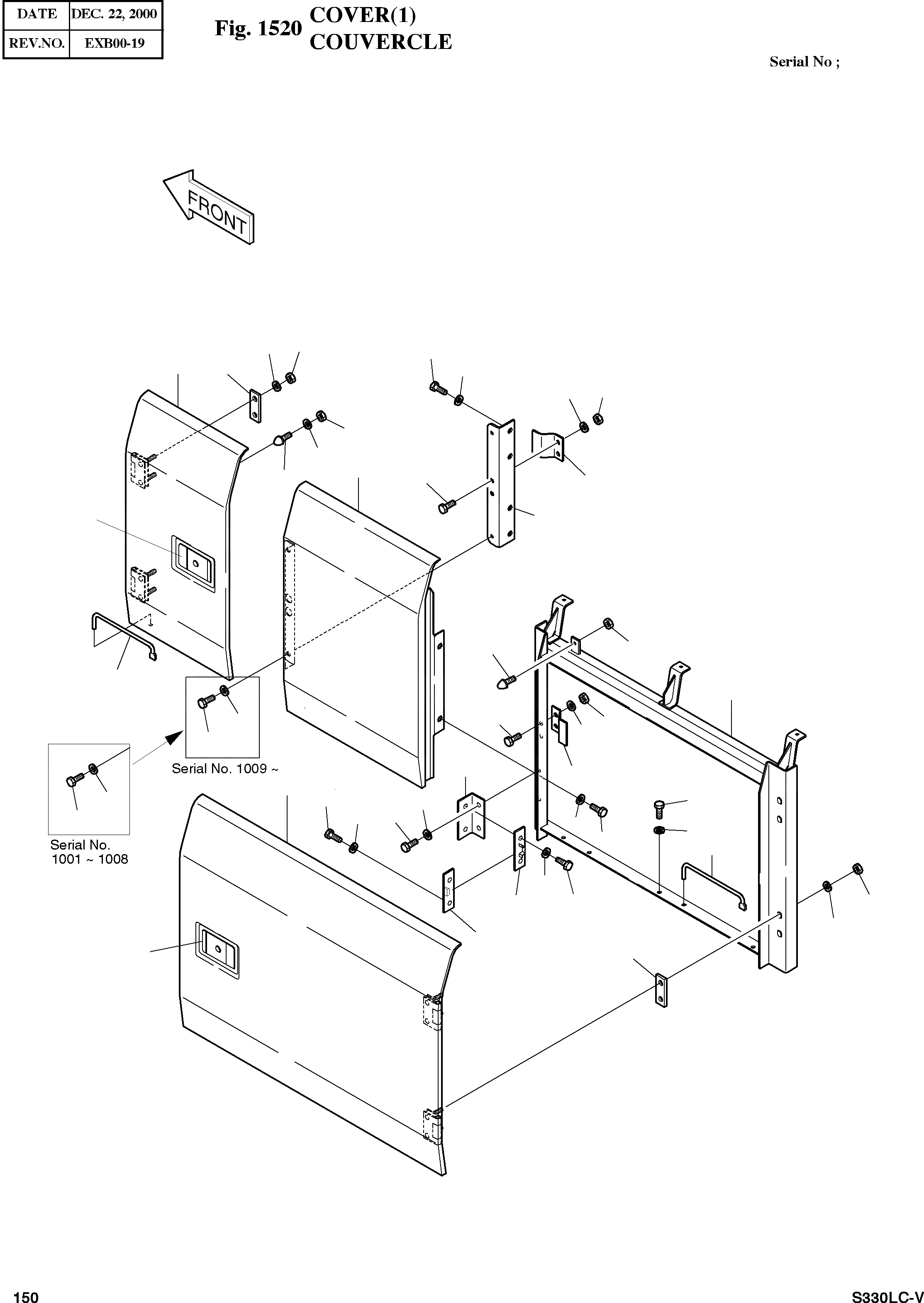
Запчасти Doosan Daewoo COVER(1) BODY PARTS

6
17
14
18
28
22
20
22
8
29
20
6A
16
24
14
22
20
3N
3K
3R
3H
3G
3S
3U
3B
3B-1
3P
3O
3I
3F
3E
3D
3T
3S
14
24
14
24
3J
3H
3L
3A
3Q
15
19
22
21
FIT
1:1
100%

Артикул

Название

Примечание

Количество

-

2627-1072A

COVER ASS'Y

SC: D

-2шт.

3

2627-1043C

SIDE DOOR ASS'Y

SERIAL: 1001-1008

1шт.

3

2627-1043E

SIDE DOOR ASS'Y

SERIAL: 1009

1шт.

3A

2197-2002C

SUPPORT

desc: . SUPPORT

1шт.

3B

2627-1044A

SIDE DOOR

desc: . PORTE

1шт.

3B-1

2125-9038

LOCK

SERIAL: 1001-1023

1шт.

3B-1

2125-9054

LOCK

SERIAL: 1024

1шт.

3D

2145-1237

STAY

desc: . ENTRETOISE

1шт.

3E

S4012733

NUT M12X1.75

desc: . ECROU

4шт.

3F

2114-1058D30

WASHER

desc: . RONDELLE

4шт.

3G

S0508753

BOLT M8X1.25X18

desc: . BOULON A 6 PANS

2шт.

3H

S5010513

WASHER;PLAIN M8

desc: . RONDELLE

2шт.

3I

2891-1101

SEAT;SCREW

desc: . VIS DE SIEGE

2шт.

3J

2116-1504A

STOPPER

desc: . TAQUET D'ARRET

1шт.

3K

S0512053

BOLT M10X1.5X25

desc: . BOULON A 6 PANS

2шт.

3L

S4012633

NUT M10X1.5

desc: . ECROU

2шт.

3M

2114-1058D10

WASHER

desc: . RONDELLE

2шт.

3N

2161-1004

STOPPER

desc: . ARRET

1шт.

3O

2161-9052

STOPPER;PLATE

desc: . ARRET

1шт.

3P

2161-9053

STOPPER;RUBBER

desc: . ARRET

1шт.

3Q

S4032633

NUT M10X1.25

desc: . ECROU

1шт.

3R

2116-1522

PLATE

desc: . PLAQUE

1шт.

3S

S5010313

WASHER M6

desc: . RONDELLE

4шт.

3T

S0504553

BOLT M6X14

desc: . BOULON A 6 PANS

2шт.

3U

S0504453

BOLT M6X12

desc: . BOULON A 6 PANS

2шт.

6

2627-1008B

SIDE DOOR

SERIAL: 1001-1008

1шт.

6

2627-1008C

SIDE DOOR

SERIAL: 1009-1130

1шт.

6

2627-1008E

SIDE DOOR

SERIAL: 1131

1шт.

6A

2125-9053

LOCK

desc: . VERROU

1шт.

8

2627-1011B

COVER;TANK

SERIAL: 1001-1008

1шт.

8

2627-1011C

COVER;TANK

SERIAL: 1009

1шт.

14

2114-1058D30

WASHER;PLAIN

SERIAL: 1001-1008

11шт.

14

2114-1058D30

WASHER;PLAIN

SERIAL: 1009

13шт.

15

2627-1051A

PLATE

desc: PLAQUE

1шт.

16

2145-1272

STAY

desc: ENTRETOISE

1шт.

17

2891-1101

SEAT;SCREW

desc: VIS DE SIEGE

2шт.

18

S4012733

NUT M12X1.75

desc: ECROU

4шт.

19

2116-1504A

STOPPER

desc: TAQUET D'ARRET

1шт.

20

S0512053

BOLT M10X1.5X25

SERIAL: 1001-1008

6шт.

20

S0512053

BOLT M10X1.5X25

SERIAL: 1009

4шт.

21

S4012633

NUT M10X1.5

desc: ECROU

2шт.

22

2114-1058D10

WASHER

SERIAL: 1001-1008

10шт.

22

2114-1058D10

WASHER

SERIAL: 1009

8шт.

24

S0515253

BOLT M12X1.75X30

SERIAL: 1001-1008

7шт.

24

S0515253

BOLT M12X1.75X30

SERIAL: 1009

9шт.

28

S4032633

NUT M10X1.25

desc: ECROU

2шт.

29

2161-1004

STOPPER

desc: ARRET

2шт.

Выбрано товаров: 47