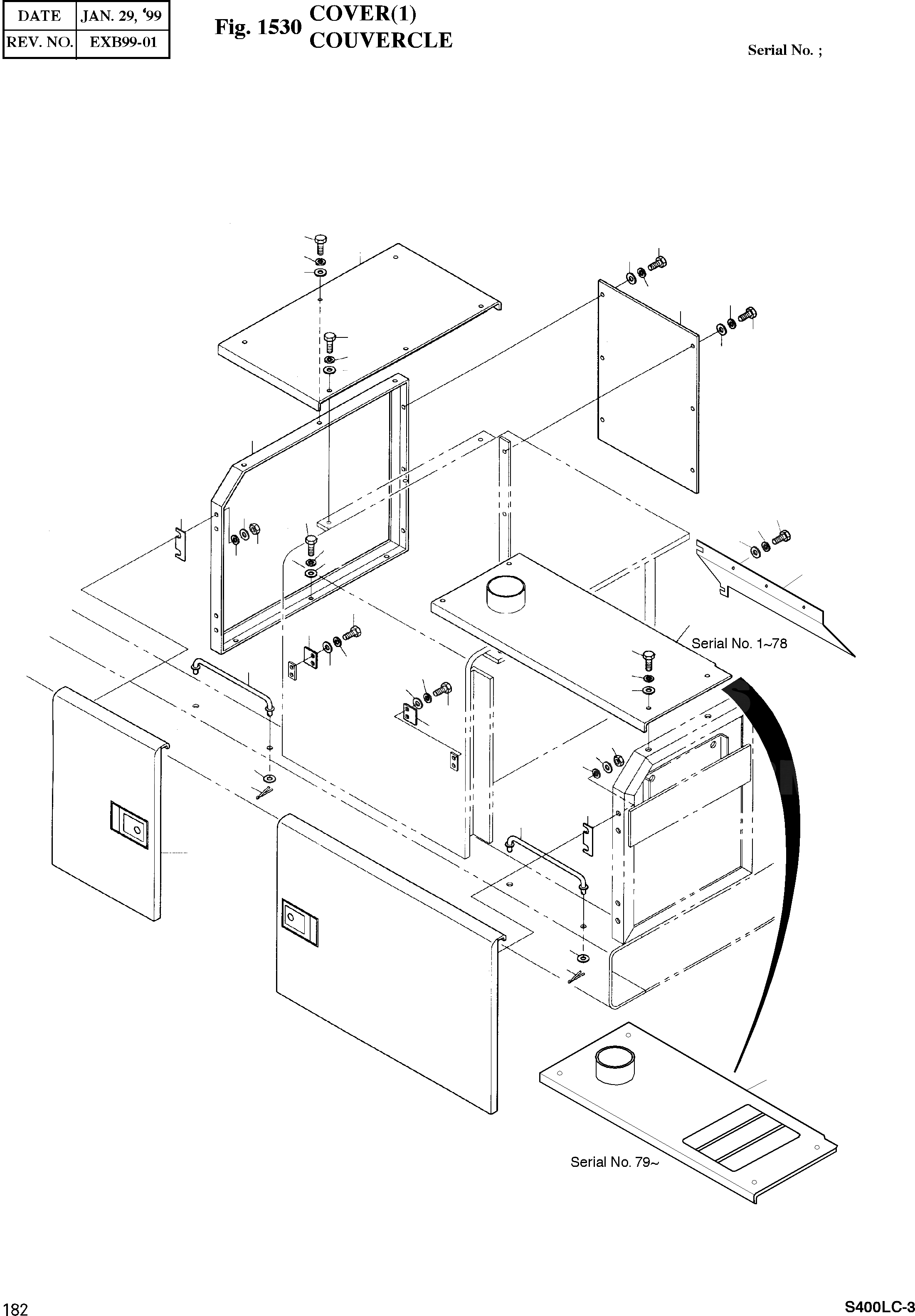
Запчасти Doosan Daewoo COVER(1) BODY PARTS

39
2
12
50
3
52
4
14
14
41
12
2
52
3
4
44
3
43
12
10
14
52
11
7
35
8
54
2
39
40
2
3
34
4
3
3
4
4
2
40
7
3
8
35
18
43
33
37
35
18
36
FIT
1:1
100%

Артикул

Название

Примечание

Количество

|$1

2621-4424

COVER ASS'Y

desc: ENSEMBLE CAPOT

1шт.

2

S0512053

BOLT M10X1.5X25

desc: BOULON A 6 PANS

14шт.

3

S5102603

WASHER;SPRING M10

desc: RONDELLE ELASTIQUE M10

22шт.

4

S5010613

WASHER;PLAIN M10

desc: RONDELLE PLATE M10

14шт.

7

S4012633

NUT M10X1.5

desc: ECROU

8шт.

8

2114-1058D1

WASHER

desc: RONDELLE

8шт.

10

S0515353

BOLT M12X1.75X35

desc: BOULON A 6 PANS

3шт.

11

S5102703

WASHER;SPRING M12

desc: RONDELLE ELASTIQUE M12

3шт.

12

S0508853

BOLT M8X1.25X20

SERIAL: 1-78

6шт.

12

S0508853

BOLT M8X1.25X20

SERIAL: 79

11шт.

14

S5102503

WASHER;SPRING M8

SERIAL: 1-78

6шт.

14

S5102503

WASHER;SPRING M8

SERIAL: 79

11шт.

18

2705-9002

PIN;LOCK

desc: GOUJON DE BLOCAGE

2шт.

33

2145-1014A

STAY

desc: ENTRETOISE

1шт.

34

2145-4025

STAY

desc: ENTRETOISE

1шт.

35

S5010713

WASHER;PLAIN M12

desc: RONDELLE PLATE

5шт.

36

2621-2518

COVER

SERIAL: 0001-0018

1шт.

36

2621-2518A

COVER

SERIAL: 19-78

1шт.

36

2621-2518B

COVER

SERIAL: 79

1шт.

36

2621-2518C

COVER

SERIAL: 79

1шт.

37

2621-4404

COVER

SERIAL: 1-78

1шт.

37

2621-4404A

COVER

SERIAL: 79

1шт.

39

2621-2573

COVER

SERIAL: 1-78

1шт.

39

2621-2573A

COVER

SERIAL: 79

1шт.

40

2116-4005B

STOPPER

desc: ARRET

2шт.

41

2621-4403

COVER

desc: COUVERCLE

1шт.

43

2114-1579A

SHIM

desc: CALE

4шт.

44

2195-3814

SUPPORT

desc: SUPPORT

1шт.

50

2621-2772

COVER

desc: COUVERCLE

1шт.

52

2114-1058D29

WASHER Ґх26/Ґх9

SERIAL: 1-78

6шт.

52

2114-1058D29

WASHER Ґх26/Ґх9

SERIAL: 79

11шт.

54

2621-3411

COVER

SERIAL: 79

1шт.

Выбрано товаров: 32