Качественные детали и логистика
Оригинальные и аналоговые запчасти с доставкой по России, Казахстану и Беларуси
©2022 PartSell ООО "Система" ИНН 2463123282 ОГРН 1212400004838
Центральный офис: г. Красноярск, Академика Киренского, д.87, пом.4
Телефон: 8 (800) 777-65-74 Email: zakaz@partsell.ru
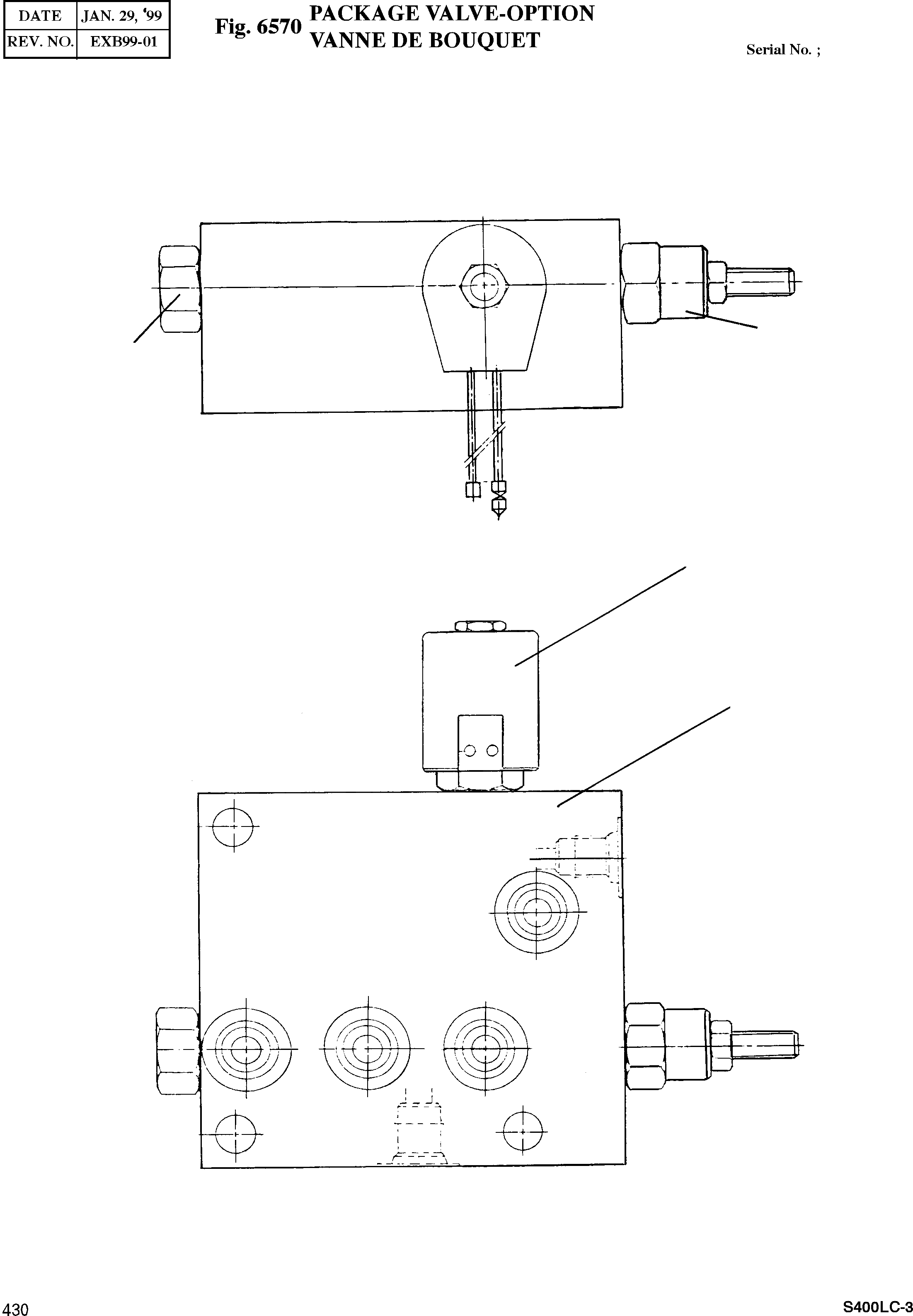
PACKAGE VALVE-OPTION
№
Артикул
Название
Примечание
Количество
|$1
2420-9227A
VALVE;PACKAGE
desc: VANNE
1шт.
1
-
BODY
SC: D
2
2420-9227A002
VALVE;SOLENOID
desc: . VANNE
3
2420-9227A003
VALVE;REDUCING
4
2420-9227A004
VALVE;SHUTTLE
Выбрано товаров: 0