Запчасти Doosan Daewoo TRACK SHOE ASSY-600G TRACK PARTS

3
3
1C
1D
4
2
2
1F
1B
1H
1I
1I
1J
1
1A
1K
1G
1K
1E
FIT
1:1
100%

Артикул

Название

Примечание

Количество

-

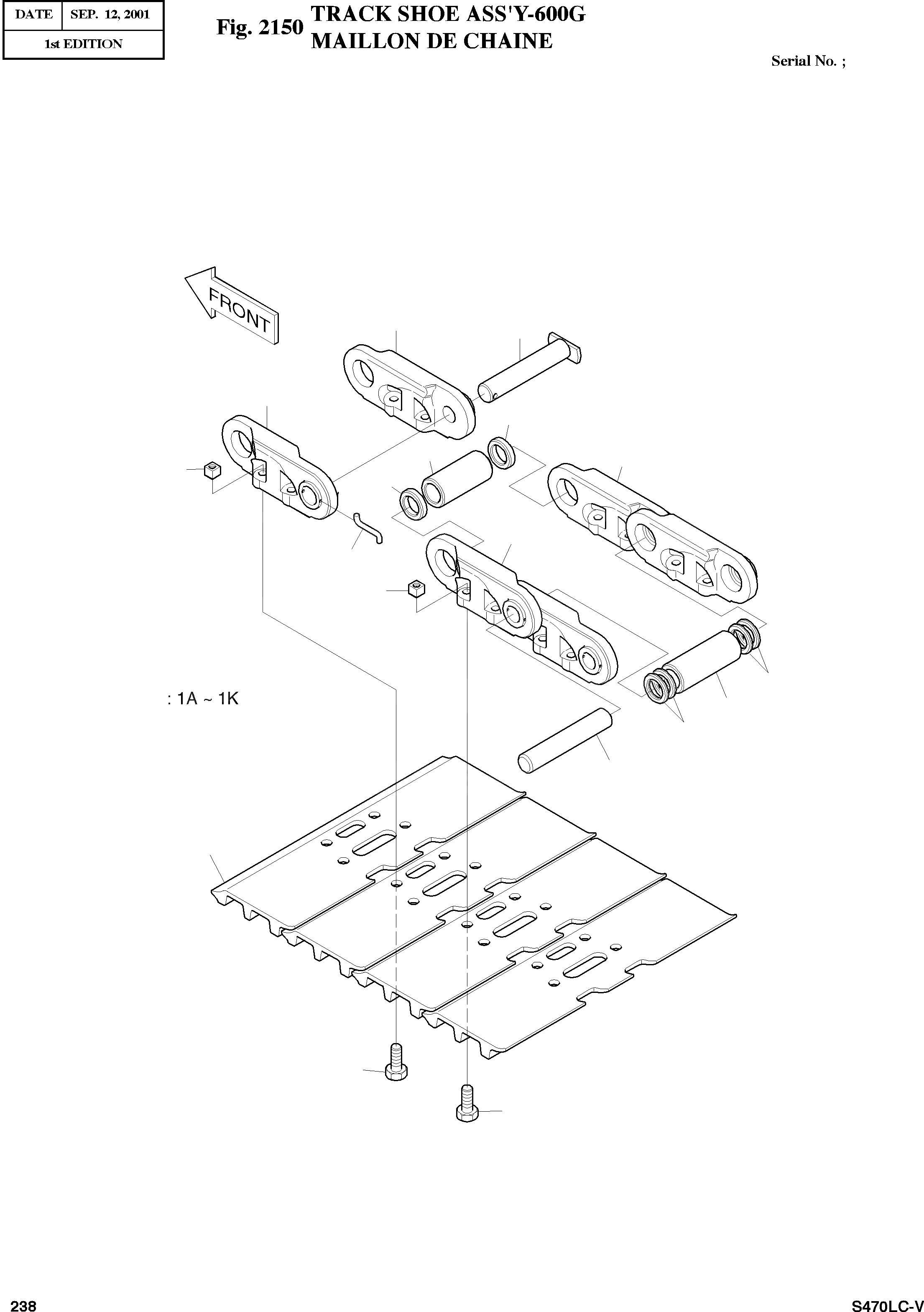
2272-6162D5

TRACK SHOE ASS'Y

desc: ENSEMBLE CHAINE

2шт.

1

2272-6143B

TRACK LINK ASS'Y

desc: ENSEMBLE MAILLON DE CHAINES

1шт.

1A

2272-6144

LINK(R.H)

desc: . ARTICULATION

52шт.

1B

2272-6145

LINK(L.H)

desc: . ARTICULATION

52шт.

1C

2272-6135

LINK;MASTER(R.H)

desc: . MAILLON PRINCIPAL

1шт.

1D

2272-6136

LINK;MASTER(L.H)

desc: . MAILLON PRINCIPAL

1шт.

1E

2123-6079A

PIN

desc: . GOUPILLE

52шт.

1F

2123-6080

PIN;MASTER

desc: . GOUPILLE

1шт.

1G

2110-6065B

BUSHING

desc: . DOUILLE

52шт.

1H

2110-6066A

BUSHING;MASTER

desc: . DOUILLE

1шт.

1I

2271-6018

COLLAR

desc: . RONDELLE

2шт.

1J

2123-6081

PIN

desc: . BROCHE

1шт.

1K

2180-6077A

SEAL;DUST

desc: . PARE-POUSSIERES

104шт.

2

2120-6025

BOLT;TRACK M22X1.5X72

desc: BOULON A 6 PANS

212шт.

3

2121-6027

NUT;TRACK M22X1.5

desc: ECROU

212шт.

4

2273-6058D1

SHOE;TRACK(600mm)16T

desc: PATIN

53шт.

Выбрано товаров: 16