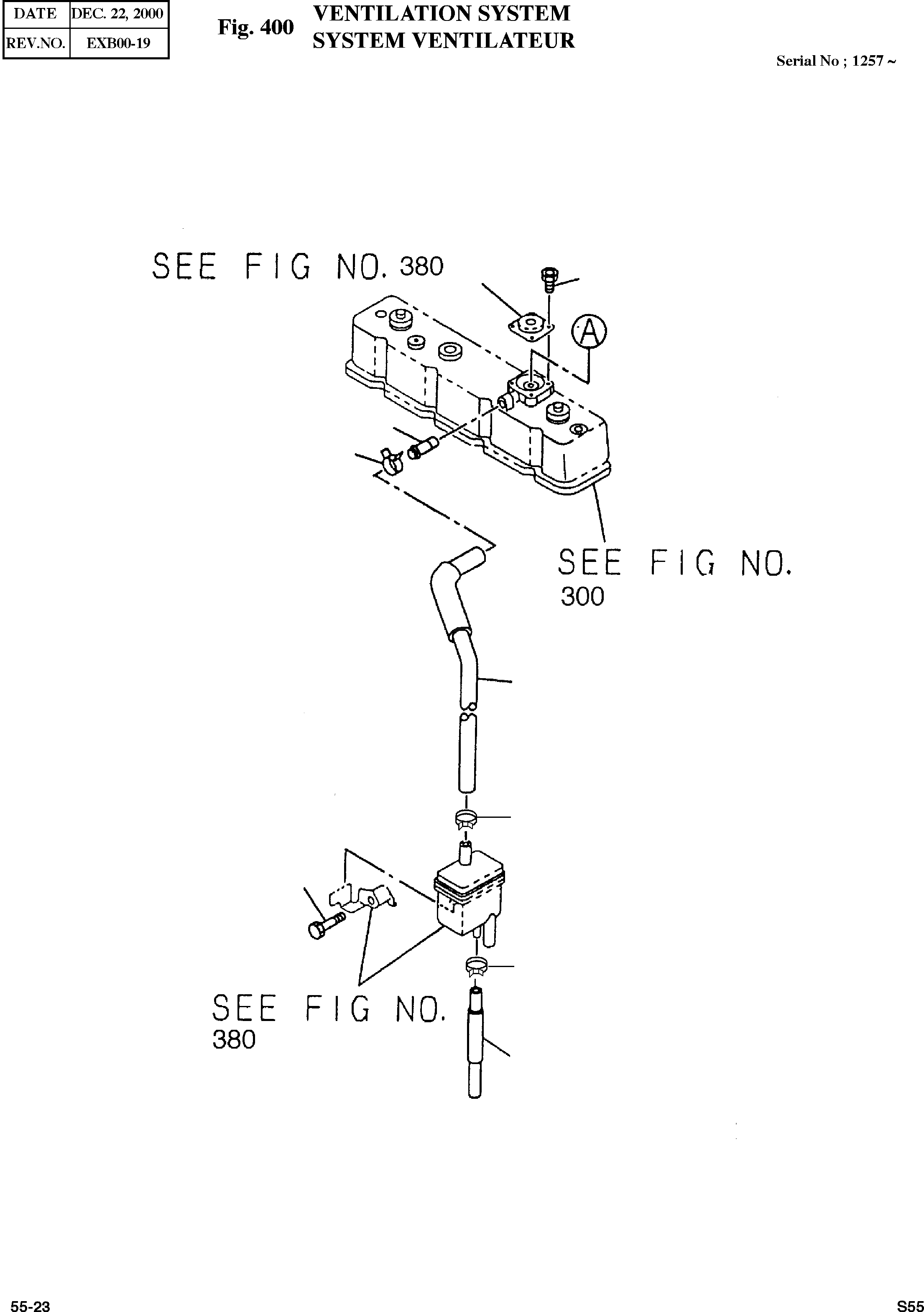
Запчасти Doosan Daewoo VENTILATION SYSTEM ENGINE PARTS

134
65
45
19
188
278
90
90
FIT
1:1
100%

Артикул

Название

Примечание

Количество

19

897192-7700

HOSE;RUBBER

desc: TUYAU

1шт.

45

894121-1130

CLIP

desc: ATTACHE

3шт.

65

894250-6151

PIPE;BREATHER

desc: CONDUITES

1шт.

90

894238-6100

CLIP;RUBBER HOSE

desc: ATTACHE

2шт.

134

903910-4080

SCREW;VENITILATOR M4X8

desc: VIS

4шт.

188

050040-6500

BOLT;BRACKET M8X50

desc: BOULON A 6 PANS

2шт.

278

897192-7690

HOSE;RUBBER

desc: TUYAU

1шт.

Выбрано товаров: 7