Запчасти Doosan Daewoo CONTROL VALVE(7) HYDRAULIC PARTS

51-15
51-15
51-6
51-2
51-8
51-1
51-4
51-5
51-7
51-13
51-11
51-10
51-9
51-12
51-16
51-14
51-3
FIT
1:1
100%

Артикул

Название

Примечание

Количество

-

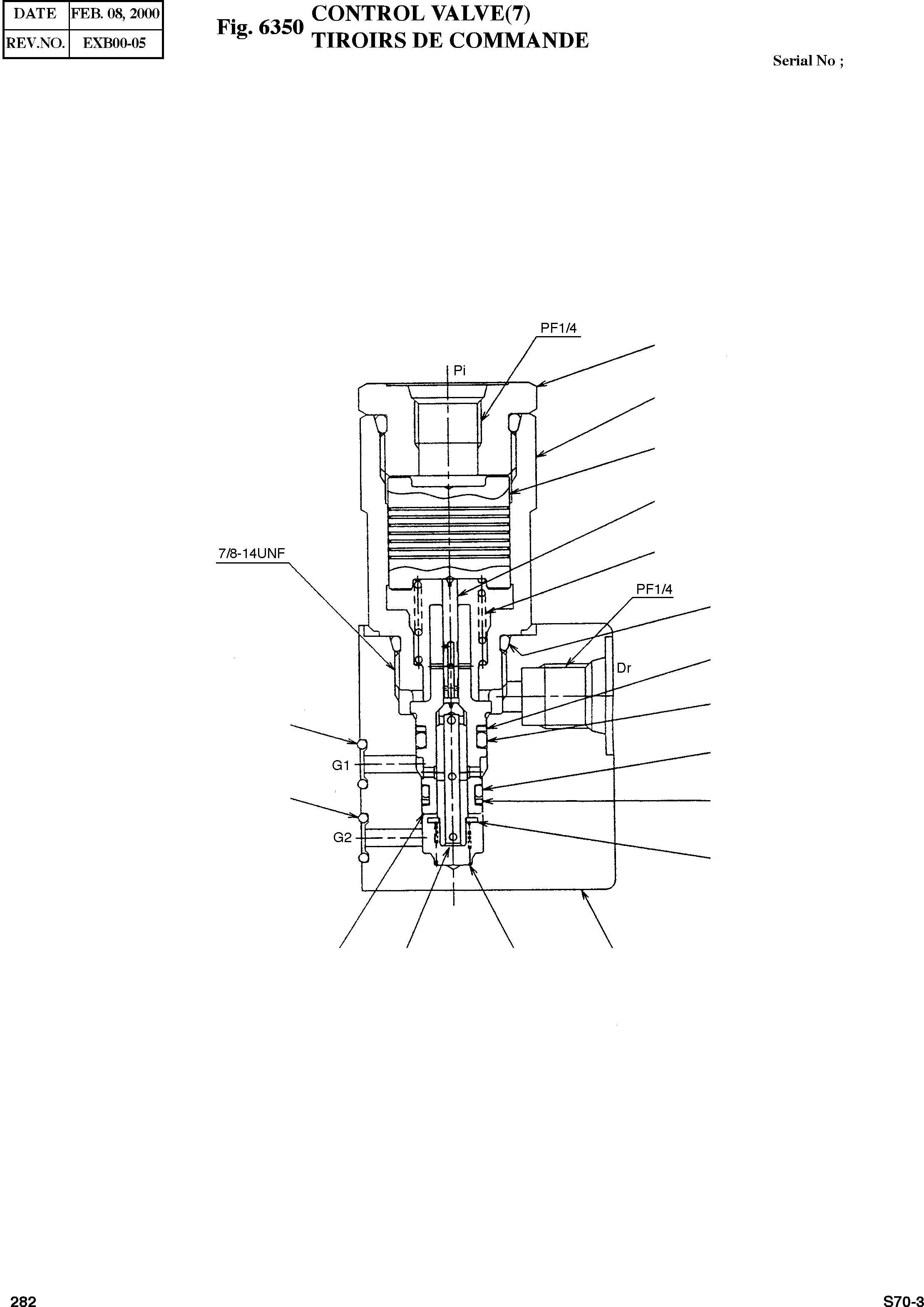
2420-9390

CONTROL VALVE

SERIAL: 1-92

1шт.

-

2420-9532

CONTROL VALVE

SERIAL: 93

1шт.

51

21113-31015

ANTI-DRIFT VALVE ASS'Y

desc: ENSEMBLE DE VANNE

1шт.

51-1

21111-33401

BODY

desc: . CARTER

1шт.

51-2

21111-33136

POPPET

desc: . POPPET

1шт.

51-3

21111-31422

PLUG

desc: . BOUCHON

1шт.

51-4

21111-32804

PISTON

desc: . PISTON

1шт.

51-5

21111-32805

SPOOL

desc: . BOBINE

1шт.

51-6

21111-32924

SLEEVE

desc: . MANCHON

1шт.

51-7

21111-30534

SPRING

desc: . RESSORT

1шт.

51-8

21011-32123

SPRING

desc: . RESSORT

1шт.

51-9

95111-00900

O-RING

desc: . JOINT TORIQUE

1шт.

51-10

95111-01090

O-RING

desc: . JOINT TORIQUE

1шт.

51-11

95712-01090

BACK-UP RING

desc: . BAGUE DE SOUTIEN

1шт.

51-12

95712-00900

BACK-UP RING

desc: . BAGUE DE SOUTIEN

1шт.

51-13

21001-00036

O-RING

desc: . JOINT TORIQUE

1шт.

51-14

21003-00380

PLUG ASS'Y

desc: . BOUCHON

1шт.

51-15

95113-00700

O-RING

desc: . JOINT TORIQUE

2шт.

51-16

21111-30707

SPRING SEAT

desc: . RESSORT

1шт.

Выбрано товаров: 19