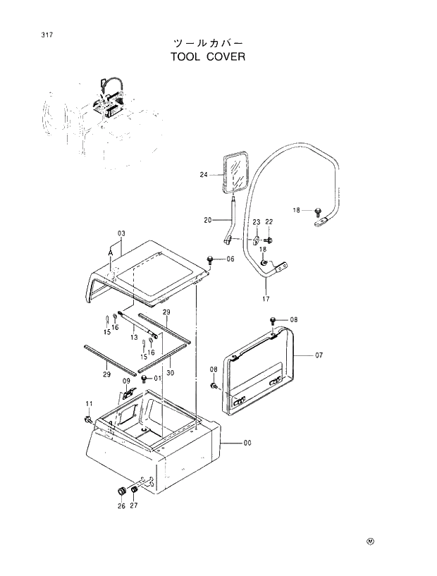
Запчасти Hitachi EX100M-5 317 TOOL COVER UPPERSTRUCTURE

Схема запчастей Hitachi EX100M-5 - 317 TOOL COVER UPPERSTRUCTURE
FIT
1:1
100%

Артикул

Название

Примечание

Количество

00

6015259

BOX;TOOL

1шт.

01

J021025

BOLT;SEMS

6шт.

03

6015244

COVER

1шт.

03A

4363915

* LATCH (DOOR LOCK)

1шт.

06

J011025

BOLT;SEMS

4шт.

07

7030549

COVER

1шт.

08

J021030

BOLT;SEMS

4шт.

09

9745798

CATCH

1шт.

11

J031025

BOLT;SEMS

2шт.

13

4352457

STAY

1шт.

15

4022697

PIN;LOCK

2шт.

16

A590110

WASHER;PLANE

2шт.

17

8064197

STAY

1шт.

18

J011230

BOLT;SEMS

4шт.

20

8061721

STAY

T 0

1шт.

20

8061721

STAY

T 0

1шт.

20

8074788

STAY

D98/08 -

1шт.

22

J010845

BOLT;SEMS

2шт.

23

4373196

CLAMP

1шт.

24

4165676

MIRROR

T 0

1шт.

24

4165676

MIRROR

T 0

1шт.

24

4416704

MIRROR<for assembly of machine>

Y D98/08 -

1шт.

24

4420724

MIRROR<for service parts>

D98/08 -

1шт.

26

4276215

BUSHING;RUBBER

2шт.

27

94-2807

BUSHING;RUBBER

1шт.

29

4357933

RUBBER

2шт.

30

4357934

RUBBER

1шт.

Выбрано товаров: 27